nVent HOFFMAN SSBBSS HMI Stainless Steel

Product Information
- Product Name: Syspend
- Revision: J
- Part Number: 89042715
- Alternate Part Number: 89042836
Product Usage Instructions
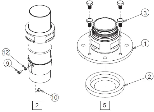
- Install tube/sleeve into the fitting. Ensure that the safety screw is fully seated in the fitting cutout.
- Push the sleeve down into the fitting until it is tight.
- Ensure that the top surface of the sleeve is aligned at the split or that the left side is slightly lower than the right side.
- Place the o-rings in position without any lubrication.
- Lubricate the top surface of both o-rings, which will come in contact with the nut.
Parts List

Dimension

Installation
- Install tube/sleeve into the fitting. Be sure the safety screw is fully seated in the fitting cutout.
- Push the sleeve down into fitting until it is tight.
- Be sure the top surface of the sleeve is aligned at split or the left side is lightly lower than the right.
- Place o-rings in position dry.

- Lube top surface of both o-rings (the surface the nut will contact).

Tighten nut slowly and watch for any part movements that may pinch the o-ring.


© 2019 Hoffman Enclosures Inc.
PH 763 422 2211 • nVent.com/HOFFMAN.
















