WARN 106720 Front Plow Mounting Kit

GENERAL SAFETY PRECAUTIONS
Your safety, and the safety of others, is very important. To help you make informed decisions about safety, we have provided installation and operating instructions and other information on labels and in this guide. This information alerts you to potential hazards that could hurt you or others. It is not possible to warn you about all potential hazards associated with this product, you must use your own good judgment.
CARELESS INSTALLATION AND OPERATION CAN RESULT IN SERIOUS INJURY OR EQUIPMENT DAMAGE. READ AND UNDERSTAND ALL SAFETY PRECAUTIONS AND OPERATING INSTRUCTIONS BEFORE INSTALLING AND OPERATING THIS PRODUCT.
This guide identifies potential hazards and has important safety messages that help you and others avoid personal injury or death. WARNING and CAUTION are signal words that identify the level of hazard. These signal words mean:
WARNING signals a hazard that could cause serious injury or death, if you do not follow recommendations. CAUTION signals a hazard that may cause minor to moderate injury, if you do not follow recommendations.
This guide uses NOTICE to call attention to important mechanical information, and Note: to emphasize general information worthy of special attention.
WARNING
IMPACT AND MOVING PARTS ENTANGLEMENT HAZARD
Failure to observe these instructions could lead to severe injury or death
- Always Read the Plow Operator’s Manual, the Winch Operator’s Manual and all warning labels before operating.
- Always use extreme caution when drilling on any vehicle. Make sure that all fuel lines, brake lines, electrical wires, and other objects are not punctured or damaged when/if drilling on the vehicle. Thoroughly inspect the area to be drilled (on both sides of material) prior to drilling, and relocate any objects that may be damaged. Failure to inspect the area to be drilled may result in vehicle damage, electrical shock, fire or personal injury.
- Always wear safety glasses when installing this kit. A drilling operation will cause flying metal chips. Flying chips can cause eye injury.
- Always use extreme caution when cutting and trimming during fitting.
- Always remove jewelry and wear eye protection.
- Never lean over battery while making connections.
- Never route electrical cables:
- Across any sharp edges.
- Through or near moving parts.
- Near parts that become hot.
- Always insulate and protect all exposed wiring and electrical terminals.
- Always install terminal boots as directed in installation instructions.
- Always use appropriate and adequate care in lifting components into place.
- Always insure components will remain secure during installation and operation.
- Always tighten all nuts and bolts securely, per the installation instructions.
- Always operate the vehicle at a walking speed with the blade installed. Never exceed 5 mph (8 km/h), even with blade up.
- Always plow cautiously, impact with hidden or stationary object may cause the vehicle to stop suddenly or go out of control.
- Never operate the vehicle on slopes greater than 10 degrees with the plow installed.
- Never stand or ride on the plow.
- Always stay clear of moving parts and joints. Always keep others away when operating or adjusting plow.
- Always perform regular inspections and maintenance on the plow mechanism, fasteners, cable and related hardware.
- Always replace all worn or damaged parts before operating.
- Never operate this WARN product with damaged or missing parts.
- Always drive slowly over bumpy and rough terrain. Driving at speeds that cause the plow to bounce while in the up position can cause the winch to back-drive, causing the plow to work its way down. This may result in the plow impacting a stationary object and cause damage to the vehicle and operator injury or death.
- Always drive at speeds such that the plow does not bounce and be aware of the plow position while driving at all times.
- Always be aware that the purpose of the j-bolt is to break the connection between the plow and the winch, to prevent serious damage to the ATV if the plow is raised too high. The plow blade will drop suddenly if the j-bolt breaks, so always be sure there are no bystanders when you raise and lower the plow.
- Never raise the top of the plow above the headlights of the ATV, as it may damage the vehicle and plow.
- Always replace a deformed or broken j-bolt with the spare j-bolt included in the kit.
Read installation and operating instructions thoroughly.
WARN INDUSTRIES, INC. 12900 S.E. Capps Road,Clackamas, OR USA 97015-8903, 1-503-722-1200, FAX: 1-503-722-3000 Customer Service: 1-800-543-9276
Dealer Locator Service: 1-800-910-1122 International Fax: 1-503-722-3005
CAUTION
MOVING PARTS ENTANGLEMENT HAZARD
Failure to observe these instructions could lead to minor or moderate injury
- Always take time to fully read and understand the installation and Operations Guide included with this product.
- Never operate this product if you are under 16 years of age.
- Never operate this product when under the influence of drugs, alcohol or medications.
Read installation and operating instructions thoroughly.
NOTICE
EQUIPMENT DAMAGE
- Never tow vehicle by attaching a tow bar to the eyelets on the bumper.
- Never attach tow bars directly to the bumper. Damage to bumper may occur. WARN bumpers are not designed to be used for flat towing. Consult with the manufacturer of your tow bar system for the proper vehicle tow bar brackets..
Read installation and operating instructions thoroughly.
TOOLS REQUIRED
- Metric wrenches
- Metric sockets
- Wrench and socket extension
TORQUE SPECIFICATIONS
Please use the recommended torque specifications when assembling this product unless otherwise specified in the instructions.
| FASTENER SIZE | FASTENER TORQUE | FASTENER SIZE | FASTENER TORQUE | ||
| lb-ft | (N.m) | lb-ft | (N.m) | ||
| 1/4″ | 8 | (11) | M4 | (2) | 3 |
| 5/16″ | 17 | (23) | M5 | (4.5) | 6 |
| 3/8″ | 30 | (40) | M6 | (7.5) | 10 |
| 7/16” | 48 | (66) | M8 | (18) | 25 |
| 1/2″ | 74 | (100) | M10 | (37) | 50 |
| 9/16” | 106 | (144) | |||
| 5/8″ | 148 | (200) | |||
| 3/4” | 269 | (364) | |||
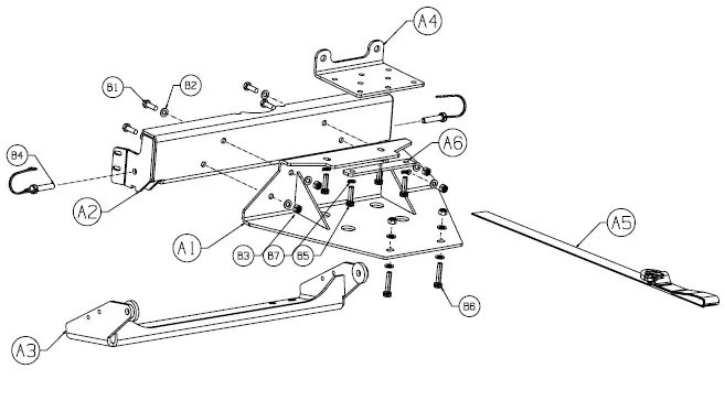
PARTS LIST
ITEM /PART NUMBER /DESCRIPTION /QTY
- A1 106728 PLOW MOUNT BRACKET 1
- A2 106718 PLOW MOUNT 1
- A3 106640 PLOW FLANGE 1
- A4 28885 FAIRLEAD PLATE 1
- A5 82466 TERMINATION STRAP 1
- A6 101707 SPACER PLATE 1
- B1 93104 M8 HEX HEAD BOLT 25MM 4
- B2 93105 M8 FLAT WASHER 12
- B3 22491 M8 HEX LOCK NUT 6
- B4 35136 3/8 PIN W/ BAIL 2
- B5 13454 M8 HEX HEAD BOLT 30MM 4
- B6 7352 M8 HEX HEAD BOLT 40MM 2
- B7 83474 M8 LOCK WASHER 4

BEFORE YOU BEGIN
This kit is designed to use VRX short drum (VRX25 and VRX35) winches only.
INSTALLATION INSTRUCTIONS
- Remove all other accessories that may interfere with plow and winch mounting.

- Slide plow mount bracket (A1) over the front winch mount and align the two front mounting holes.
- Locate the spacer plate (A6) and align over the two rear holes in the factory winch mounting plate.

- From underneath the plow bracket, install two M8 x 40mm bolts (B6) with M8 flatwasher (B2) through the two most rear mounting holes of the plow bracket and through the two recessed holes in the frame.
- Secure with two M8 flat washers (B2) and lock nuts (B3). Refer to exploded view for detail on page 3. Do not tighten completely to allow for adjustment.

- Install the plow fairlead roller (purchased as a plow accessory) to the fairlead plate (A4).

- Line up the fairlead bracket/fairlead assembly (A4) with the plow mounting (A1) bracket and spacer plate (A6).

- Install the plow mount (A2) to plow mount bracket (A1) with the M8 x 25 bolts, M8 washers, and lock nuts (B3). Tighten all plow mount hardware now. Tighten to specifications on

- From the side of the vehicle, slide the winch on top of the fairlead bracket, aligning the winch feet with the mounting holes of the fairlead bracket and winch mount.
- From underneath the plow mount insert four M8 x 30mm bolts (B5) and lock washers (B7) through the access holes of the winch mount and into the winch feet. Tighten hardware to torque specifications

- With winch in freespool (disengage clutch), feed the winch rope through fairlead opening. NOTE: For synthetic winch rope applications, slide the abrasion sleeve on before installing hook.
- Install hook/hook strap combo to rope using clevis and cotter pin.
- Install the termination strap (A5) to the plow mount’s attachment point.
- Install plow flange (A3) to plow mount using included retaining pins (B4). Image showing mount off vehicle for clarity purposes, refer to exploded view on page 3 for more detail.
- Complete your plow installation per your plow system installation instructions.
Your installation is complete.
MAINTENANCE/CARE
- Inspect all parts on the winch, winch mount, and related hardware prior to each use. Replace all hardware that appears rusted or deformed.
- Inspect all nuts and bolts on the winch, winch mount and related hardware prior to each use. Tighten all nuts that appear to be loose. Stripped, fractured, or bent bolts or nuts need to be replaced.
- Check all cables prior to use. Replace cables that look worn or frayed.
- Check all moving or rotating parts. Remove debris that may inhibit the part from moving freely
©2016 Warn Industries, Inc. WARN® and the WARN logo are trademarks of Warn Industries Inc.























