

USER MANUAL
TOOLKIT

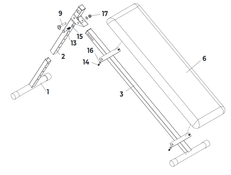
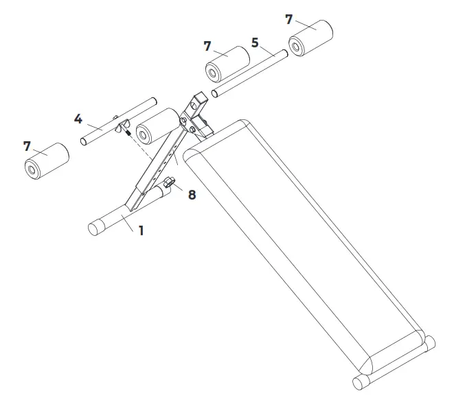
| # | DESCRIPTION | QTY. |
| 1 | Front Incline Frame | 1 |
| 2 | Adjustive Frame | 1 |
| 3 | Seat Frame | 1 |
| 4 | Bottom Foam Tube | 1 |
| 5 | Top Foam Tube | 1 |
| 6 | Seat | 1 |
| 7 | Foam Roller | 4 |
| 8 | Knob | 1 |
| 9 | Quick Pin | 1 |
| 10 | Round Plug 19mm | 4 |
| 11 | Square Plug 35mm | 2 |
| 12 | Round End Cap 38mm | 4 |
| 13 | Hex Bolt M10*55mm | 1 |
| 14 | Bolt M6*15mm | 4 |
| 15 | Washer M10 | 2 |
| 16 | Washer M6 | 4 |
| 17 | Nylon Nut M10 | 1 |
STEP 01
STEP 02
TECHNICAL DRAWING

COMPANY INFORMATION
For an ongoing service request or to purchase parts, please visit; [email protected]. Always state the service number (ITS number) with a question about the current application for a quick and efficient settlement. A service request must always be submitted via the service form. So the request not to request service via [email protected].
Do you have a problem with your VirtuFit fitness equipment and would you like to submit a service request? Then scan the QR code on the right and fill in our service form.
https://virtufit.nl/service/montagevideos/
VIRTUFIT
Twekkelerweg 263 7553 LZ Hengelo The Netherlands
[email protected]
ASSEMBLY
VIDEO
https://www.virtufit.nl/service/service-formulier/
@virtufit_fitness
VirtuFit
www.virtufit.com



















