GfA ELEKTROMATEN 10003485.10002 Auto Reset Motor 
Safety-relevant chapter
Explanation of symbols
The following symbols are used in these installation instructions:
DANGER
Safety note: Non-compliance will result in death or severe injury.
WARNING
Safety note: Non-compliance can result in death or severe injury.
CAUTION
Safety note: Non-compliance can result in injury.
NOTICE
Note: Non-compliance can result in material damage and impairment of product functionality.
NOTE
Note: Points out useful additional information.
Specified use
The drive unit is intended for vertically moving doors for protection against fire and smoke. The doors close by gravity in the case of a fire.
The drive unit must be protected against moisture and aggressive environmental conditions (such as corrosive substances). The drive units are only suitable for indoor use. Appropriate protective measures must be taken for outdoor installation. The drive unit is not intended for hazardous areas. The values specified in the technical data of the drive unit must not be exceeded. The safe operation can only be ensured if used as specified.
The target audience of the installation instructions
These installation instructions are intended for competent personnel trained in handling doors. Competent personnel qualify by specialist knowledge, skills and practical experience. Such personnel can safely carry out installation, maintenance and modernization as instructed.
Safe operation
The safe operation of the product can only be ensured if it is used as specified. Follow the installation instructions. Observe all specifications, especially warnings, when installing the product in the overall system. GfA is not liable for damage resulting from non-observance of the installation instructions. The resulting overall system must be reassessed for its safety in accordance with applicable standards and directives (e.g. CE marking). These installation instructions refer only to a part of the overall system and are not sufficient as the sole instructions for the overall system. The installer of the system must prepare the instructions for the overall system. We recommend entering the danger area of the system only when the drive unit is at a standstill.
General safety instructions
WARNING
Failure to follow these installation instructions may result in severe injury or death.
- Please read these instructions before using the product.
- Keep these instructions handy.
- Include these instructions when passing on the product to third parties.
WARNING
Danger from improper use of the product!
- Do not let children operate the product unsupervised or use as a toy.
WARNING
Danger to life from incorrect installation!
Work carried out improperly may result in death or severe injury from electrical current or falling parts
- Allow only competent people to carry out the work.
- Disconnect all cables from the power supply.
- Observe valid regulations and standards.
- Use suitable tools.
WARNING
Danger to life from falling objects if the drive unit is subjected to impermissible forces!
Inadmissible forces (examples: collision with a forklift, dropping the drive unit, tearing or pulling on the motor) lead to damage to the drive unit. There is a risk of severe injury or death from falling objects.
- Prevent impermissible forces from acting on the drive unit,
- Check the drive unit for damage if impermissible forces have acted on it. Look even for minor damage. Lock the door during the inspection.
- Contact the service department if you have difficulty assessing the damage.
Technical data
| Designation | Unit | |
| Output speed | 20 | rpm |
| Output torque | 150 (150) 1) | Nm |
| Output / hollow shaft | 25,00 | mm |
| Series | FS 15 | – |
| Limit switch range (maximum revolutions of the output / hollow shaft) | 20 | – |
| Supply voltage | 3N~ 400 | V |
| Operating current | 1,20 | A |
| Operating frequency | 50 | Hz |
| Power factor cos φ | 0,63 | – |
| Safety circuit | 24 | V |
| Degree of protection | IP 54 | – |
| Temperature range | -10 / +40 (+60) 2) | °C |
| Operating sound pressure level | < 70 | dB(A) |
| Cycles per hour | 14 (13,9)1) | h-1 |
| Max. holding torque | 150 | Nm |
| Max. load | – | N |
| Braking torque | 13 | Nm |
| Braking voltage | 24 | V DC |
| Rectifier type | – | – |
| Series | ||||
| Designation | FS 15 | FS 25 | FS 50 | FS 110 |
| Braking power | 16 W | 24 W | 26 W | 26 W |
| Permissible radial load | 3900 N | 4350 N | 9100 N | 17000 N |
| restoring torque ELEKTROMATEN | 15 Nm | 15 Nm | 22 Nm | 30 Nm |
| Weight | 26.5 kg | 46 kg | 66 kg | 105 kg |
| Recommendation of number of teeth for sprocket and pitch | 15 3/4“ | 15 3/4“ | 15 1“ | 15 1 1/4“ |
When using a temperature range of +40°…+60°C use half of maximum movements per hour.
Output speed
The centrifugal brake limits the output speed in the case of a fire when the power supply fails. In this case, the output speed is higher than the one in mains operation.
Maximum holding torque
Denotes the maximum torque that may act on the drive shaft of the drive unit when the door is stationary.
Operating current
In door drive units, the operating current can be up to 4 times the rated current for a short time.
Cycles per hour
The specified cycles per hour apply to an even distribution of the cycles per hour that must not be exceeded.
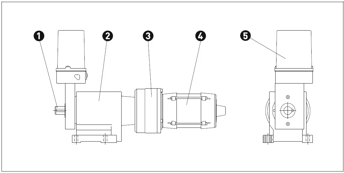
Product overview 
| No. | Designation |
| 1 | Output shaft: Note the recommendation for the number of teeth on the sprocket and the pitch in the technical data. |
| 2 | Spur gear |
| 3 | Intermediate flange with centrifugal brake: In the case of fire, the centrifugal brake regulates the speed that the door uses to close. In the case of fire, the door closes 10% to 15% faster than with electrical operation. |
| 4 | Motor: three-phase motor with thermal protection switch. |
| 5 | Limit switch cover |
Storing
Store the product in the original packaging.
Ensure the following environmental conditions for storage:
- Closed, dry, dark and vibration-free rooms
- Temperatures between +5 °C and +40 °C
- Relative humidity less than 70 %, non-condensing
- Dust protected
- Protected against corrosion (e.g. protection against saltwater)
- Protected against chemical
Transport
Avoid bumps, impacts, and vibrations during transport.
CAUTION
Injuries, or damage to the drive unit!
Use aids for lifting and carrying if the weight of the drive unit exceeds 20 kg. Refer to the technical data for the weight.
Notice
Failure of electrical components during operation!
Do not lift the drive unit by the cables.
Lifting points 
- Lift the product at the position shown.
- Use lifting equipment and load suspension devices with sufficient load-carrying capacity. Refer to the technical data for the weight of the drive unit.
Mechanical installation
General safety information
WARNING
Danger to life from electric shock!
Working on the mechanics may damage electrical lines or components. Danger to life or risk of severe injury from electric current.
- Disconnect all cables from the power supply.
- Secure the mains disconnector against plugging in or switching on again.
- Allow only competent people to carry out the work.
Danger to life from moving parts!
Moving parts may cause the risk of injury, for example through impact, shock, crushing, shearing or drawing in of body parts.
- Mount the product 2.5 m above the access level or use additional protective devices to prevent contact.
CAUTION
Injuries from hot surfaces!
The surfaces of the motor can get up to 100 °C during operation. This may cause burns.
- Mount the product 2.5 m above the access level or use additional protective devices to prevent contact.
Permissible mounting positions
Mount the drive unit in one of the mounting positions shown in grey. Incorrect mounting positions, for example, prevent emergency actuation or lead to premature wear due to insufficient lubrication. Other mounting positions are not permitted.
Mounting
Only use the fastening points shown for mounting the product. Alternative mounting options for separately available accessories are not described here. Use the mounting instructions of the accessories for this purpose.
Connection elements
WARNING
Danger to life from falling parts and uncontrolled movements.
The permissible loads on structures, walls, fastenings, connection and transmission elements must not be exceeded, even with maximum holding or locking torques.
Please note the technical data of the drive unit.
- Note the following information on using connection elements.
- Also note the documentation of the door manufacturer.

- Use only screw connections for mounting.
- Non-detachable connections (e.g. welded or riveted connections) are not permitted.
- Use connection elements with a minimum strength of 800 N/mm2 (8.8).

- Make maximum use of the existing hole diameters.
- Use adequately dimensioned washers for elongated holes.
Work steps
WARNING
Danger to life from incorrectly installed transmission elements
A chain with too little or too much tension may skip or break. As a result, parts of the door structure may become loose and drop. The drive unit or door construction may also suffer damage.
- Note the information given below on the selection and use of transmission elements.

- Grease the output shaft and key thoroughly. Use suitable assembly grease.
- Mount the sprocket (①). The hub side of the sprocket points away from the drive unit. The sprocket must lie fully over the key.
- Tighten the fastening screw slightly (②).

- Mount the drive unit.
- Tighten the fastening screws slightly.

- Mount the chain.
- The sprockets of the drive unit and door must be flush.

- Tighten the fastening screw of the sprocket.
- Tension the chain. The slack side (Ⓐ) must not exceed the height of a chain link (Ⓑ).

- We recommend using a chain tensioner.
- From an angle of 60°, a chain tensioner is required in the slack side.
- Tighten all fastening screws.
Also note the specifications of the door manufacturer.
Electrical installation
General information
WARNING
Danger to life from electric shock!
Improper wiring may result in severe or fatal injury from electrical current.
- Allow only competent people to carry out the work.
- Disconnect all cables from the power supply.
Danger to life from uncontrolled movements!
Unauthorised switching on of the voltage during assembly and maintenance may lead to injuries as a result of uncontrolled movements.
- Secure the mains supply against being switched on or plugged in again.
Danger to life from uncontrolled movements!
Failure of a phase in the motor supply line may lead to uncontrolled movements of the drive unit.
- Use fuse protection with an all-round switching circuit breaker with C characteristics.
Danger to life from falling parts.
If the motor fails to switch off, the door could overrun the final limit positions. This may lead to a hazard from falling components.
- Use a door control that complies with the EN ISO 60335-1.
Attaching the connection cables
- Remove the limit switch cover.
- Plug in the motor connector.

- Connect the limit switch plug.

Digital limit switch – function
The digital limit switch turns off the drive unit when the final limit positions are reached. A compatible door control can evaluate the digital limit switch.
Terminals 21 to 28: safety circuit
Terminals 21 to 28 are reserved for the safety circuit. An interruption in the safety circuit causes the drive to be turned off.
Terminals 21 to 24 have wire links. Instead of the wire links, you can connect additional safety devices (e.g. safety brake). Terminals 27 and 28 are used for the thermal protection of the motor.
Digital limit switch – setting the final limit positions
- The final limit positions are set with the door control. Follow the instructions in the manual for the door control.
NOTE
The door control must meet Performance Level c!
- Use only door controls that evaluate the limit switch according to EN 12543 and meet Performance Level c.
Motor connection
| M1 | Motor |
| X13 | Motor plug |
| X14 | Brake plug |
| Y1 | Magnetic brake |
Limit switch connection
| F10 | Thermal contact |
| X12 | DES connection |
| 1 | Safety circuit |
| 2 | Channel B (RS485) |
| 3 | Ground |
| 4 | Channel A (RS485) |
| 5 | Safety circuit |
| 6 | Supply voltage |
Working current brake
The fire protection drive unit includes a working current brake. The braking force is applied when current is present. When the power supply is interrupted, the door closes by gravity.
Maintenance
WARNING
Danger to life from electric shock
Improper wiring may result in severe or fatal injury from electrical current.
- Allow only competent people to carry out the work.
- Disconnect all cables from the power supply.
- Use original spare parts only.
Danger to life from uncontrolled movements!
Unauthorized switching on of the voltage during assembly and maintenance may lead to injuries as a result of uncontrolled movements.
- Secure the mains disconnector against being switched on or plugged in again.
Maintenance checklist
Check the following components of the ELEKTROMATEN at least once a year. Follow all applicable directives and standards as well as national regulations.
| Component | Procedure |
| Mains supply, mains switch | § Check the condition and function. |
| Cables | § Check the cables on the ELEKTROMATEN for damage and replace damaged cables. |
| Mountings | § Check screws for corrosion and tight fit. Tighten if necessary. |
| Limit switches | § Move to final limit positions OPEN and CLOSE The door must open or close fully. The emergency limit switch must not switch. |
| Brakes | § Carry out a brake test. Note the overrun. The brake must be replaced after 50,000 switching operations. |
| Gearbox | § The gearbox has lifetime lubrication. Check for oil leakage. A few drops are not critical. In the case of major oil loss, contact the service department. Do not open the gearbox. Do not add any oil. |
| Chain drive | § Check sprocket and chain for wear. |
| § Check the chain alignment. Adjust if necessary. | |
| § Check the chain tension: The slack in the slack strand should not exceed the height of a chain link. A tension that is too high will damage the gearbox. A tension that is too slack may result in the chain skipping or jumping off. § Adjust the chain if necessary. |
Cleaning
Use a cloth to remove dirt from the surface of the housing. Do not use water or detergents. Do not open the gearbox.
Checklist for fault correction
In the case of a fault, follow the instructions shown on the door control. Find damage to the door mechanism or door leaf first. The following only mentions faults on the drive unit.
When contacting GfA Service, have the serial number of the drive unit ready (see the 11-digit number next to “ID” on the nameplate).
| Fault | Potential cause | Corrective |
| The door does not fully close / open | The limit switch is set incorrectly. | § Set the limit switch again. If the problem persists, contact service. |
| Oil leakage | Oil leakage at the gearbox | § A few drops are not critical. In the case of major oil loss, contact service. |
| No drive movement | Damage to the motor winding | § Noise test: Humming indicates that the winding is damaged. Contact service. |
| Electrical damage to the motor | § Electrical damage trips the fuses. Use a multimeter to find damage to the ELEKTROMATEN and contact service. | |
| Overheating of the motor | § An overheated motor will be shut down. Allow to cool. Check the door mechanism for damage. |
Disposal
Dispose of packaging
Dispose of the packaging material properly according to the local legal regulations or recycle it.
Dispose of old devices
Dispose of old devices properly according to local legal regulations. Return old devices to the return and collection systems available. You can also return GfA products free of charge. Please apply enough postage to the package and mark it as “old devices”.
Notice
Environmental damage!
The gearbox contains oil.
- Ensure proper disposal according to local legal regulations.
Declaration of Incorporation
in terms of the Machinery Directive 2006/42/EC
for partly completed machinery Appendix II Part B
Declaration of Conformity
within the meaning of the EMV Directive 2014/30/EU within the meaning of the RoHS Directive 2011/65/EU
We,
GfA ELEKTROMATEN GmbH & Co. KG
declare under our sole responsibility that the following product complies with the above directives and is only intended for installation in a door.
Fire-door-drive ELEKTROMATEN
FS 15.20-25,00
Part no. 1000348510002
We undertake to provide the supervisory authorities with specific documentation relating to partly completed machinery upon justified request.
This product must only be put into operation when it has been determined that the complete machine/system in which it has been installed complies with the provisions of the above-mentioned directives.
The signatory is the authorized representative for compiling technical documents.
Düsseldorf, 17/11/2020
Stephan Kleine
Managing Director

Signature
The following requirements from Appendix I of the Machinery Directive 2006/42/EC are met:
1.1.2, 1.1.3, 1.1.5, 1.2.2, 1.2.3, 1.2.6, 1.3.2, 1.3.3, 1.3.9, 1.5.1, 1.5.2, 1.5.4, 1.5.6, 1.5.7, 1.5.8, 1.5.9, 1.5.10, 1.5.11, 1.5.13, 1.6.1, 1.6.2, 1.6.4, 1.7.2, 1.7.3, 1.7.4.3.
Applied standards:
EN 60335-2-103:2015
Household and similar electrical appliances – Safety – Part 2-103: Particular requirements for drives for gates, doors, and windows
EN 61000-6-2:2005
Electromagnetic compatibility (EMC) – Part 6-2: Generic standards – Immunity for industrial environments
EN 61000-6-3:2007
Electromagnetic compatibility (EMC) – Part 6-3: Generic standards – Emission standards for residential, commercial, and light-industrial environments
EN 16034:2014-12
Pedestrian door sets, industrial, commercial, garage doors, and openable windows – Product standard, performance characteristics – Fire resistance and/or smoke control characteristics
EN 14637:2008-01
Building hardware – Electrically controlled hold-open systems for fire/smoke door assemblies – Requirements, test methods, application, and maintenance
































