VW32A
VW32A 40cm LED TV

INTRODUCTION
Thank you for choosing our product. You can use it as a color television or as a PC monitor. To be able to make use of all application options, we recommended that you should read this operation manual carefully and keep it somewhere you have quick access to it, if required.
Do not touch any parts In the sel and do not make changes to any settings not described in this operation manual
The LED Screen is a high-tech product consisting of more than 900000 control elements. Any Non-active red, blue or green spots that might appear on the screen occasionally have no effect on the performance of the screen.
WARNING AND SAFETY PRECAUTIONS
Warning:
To prevent damage to the TV which may result in a fire or electrical shock hazard, do not expose the TV set to rain or excessive moisture.
Do not rub or strike the Active matrix LED with any thing hard as this may search, mark or damage the active matrix LED permanently.
For safety, do not place vessels or any container which contain fluid including water, on or near the TV.
Do not insert any objects in the ventilation slots.
Service:
Do not remove the back cover of the set as this can expose you to very high voltage and other hazards. If the set does not operate properly, unplug it and call service person.
Antenna:
Connect the antenna cable to the socket marked ANT IN on the back cover. For the best reception an outdoor antenna should be used.
Location:
Position the set so that no bright light or sunlight falls directly on the screen.
Reflections on the screen affects the picture quality.
Soft and indirect lighting is recommended for comfortable viewing.
Care should be taken not to expose the set to any unnecessary vibration, moisture, dust or heat.
Adequate ventilation is essential to prevent set failure.
Ensure that the set is placed in a position to allow a free flow of air. Do not cover ventilation opening on the back cover. Do not place the set in an enclosure or very close to walls. Avoid excessively warm locations to prevent possible damages to the set. Place the television on a solid and flat surface .
Cleaning:
For safety, remove the AC plug from the wall outlet before cleaning the set. Clean the dust on set by wiping Hie screen and the cabinet with a soft, clean, cloth, II the screen requires additional cleaning, use a clean, damp cloth. Do not use liquid cleaners or aerosol cleaners or liquid containing benzol, petroleum or chemicals.
Power:
Do not allow anything to rest upon or roll over the power cord, and do not place the set where the power cord is subject to damage.
Remove the AC plug from the wall outlet when the TV set is not used for a prolonged period of time.
In the event of thunderstorms or power cuts please remove the mains power plug and aerial plug.
Unplug the set in case of abnormal operation e. g. smoke, odd sound or smells. Use the mains power cord provided for connecting TV to the mains.
Cautions:
No warranty claims are accepted for damage caused by incorrect handling.
This LED TV Set is designed to receive the display video and audio signals and for use as PC monitor. Any other use is prohibited.
Note:
Despite the high quality of the television, a random disturbances or interference may cause occasional malfunctioning, in this case the correct function of the apparatus can be restored by switching off the TV through the main On/Off button or removing the main plug, then switch ON as soon as the LED light disappears.
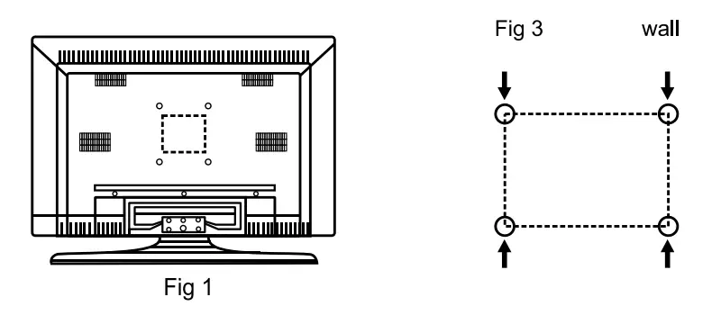
TV BRACKET ASSEMBLY
Fix the TV on the wall
- First, put the TV on the table smoothly and put some soft close on the table to avoid scratching the screen.
- User the screw driver to take off the 8pcs screws which are fixed on the bottom stand (the direction of the arrow, refer to the photo 1 ). And take out the bottom stand (Please keep the screws and bottom stand carefully)

- Make one bracket which can fix on the wall according to the size of arrow direction of picture 2 and picture 3.
- Drill four holes on the proper wall (the size only for refecence) and put into four screws, (optional parts) Drill four holes on the proper wall (the size only for reference) and put into four screws. (optional parts)
- According to the step 4, use the screwdriver to lock the screw on the back of the TV then hang the TV on the wall.

NOTE:
- The bracket fixed on the wall is optional part.
- When you assemble the TV, there should be no other articles on the around and front and please keep the distance from other articles.
- When assemble the TV, please ask the careerman to fix in order to avoid the danger.
- The fixing picture is only for reference.
- Please follow the use manual about bracket assemble to fix the TV
- Attach the mounting bracket from the VESAcompatible wall mounting kit.
DESKTOP TV BRACKET INSTALLATION & ASSEMBLY
Note: Instruction manual for the TV stand assembly.
- Step 1: Put the TV carefully on the table coverd with the soft pad, this can prevent LED panel to be damaged

- Step 2: the Stand-base ass’y(step 2) is fit into female hole of the stand-post properly.

- Step 3: Put the “Rotary-CVR plate” to the “Stand-base” in its way properly, and make sure that the holes of “stand-Post” and “Rotary CVR plate” are aligned rightly, and then use the screwdriver to fix them together with 7 pes screws

- Step 4: assemble finished.
ANTENNA AND EXTERNAL CONNECTION EQUIPMENT
You can connect antenna, external equipment such as VCR, Camcorder, DVD player and PC to your set. Examples are shown below.
ANTENNA CONNECTION
Connect Antenna cable to the ANT IN socket on rear of the TV, For good operation of the set, good signal is required. In the strong signal area an indoor antenna could be used otherwise an outdoor antenna should be used,
NOTE: 1. The aerial cord should not be bounded to the power cord.
DVD INPUT
- Connect DVD Player Video input & Audio Input (L&R) to the TV.
- Press the PLAY Button on DVD player.

VIDEO INPUT
- Connect the composite outputs VIDEO out of VCR/Cable receiver to Videol, Video2.
- Connect audio outputs (L, R) of a DVD player to the audio input. AV1, AV2, For Audio use R1 & L 1 Audio input.
- Press the PLAY button on the VCR/DVD.

NOTE : Selecting a Source
Press TV/AV key on the remote or SOURCE key on front panel keypad.
A source OSD will appear to select / source press OK/Right key on the remote or VOL +/- key from front panel, press TV/AV key or source key repeatedly to change and select a source. UP/Down key on the remote or CH+/- on front panel can be used to change sources.
VGA INPUT
- Connnct lho VGA cable (rem the monitor output socket of the PC to the VGA IN socket of the IV.
- Connect the audio cable from the PC to the VGA AUDIO IN of the Ml
- Switch on the PC and PC screen appears on the set. The set can be operated as PC monitor.
NOTE:
A. If the set is cold, there may he a small flicker when the set is switched on. This is normal, there is nothing wrong with the set.
B. Some dot defects may appear on the screen. Like Red, Green or Blue spots, however, this will have no impact or effect on
TV/monitor performance.
HDMI INPUT
- Connect the HDMI (High-Definition Multimedia Interface) cable from the DVD HDMI output socket to the HDMI socket (HDMI 1, HDMl2, HDMl3) on the TV.
- Set HDMI mode in DVD (Refer User Manual of DVD)
NOTE: TV can receive the Video and Audio Signal simultaneously by using HDMI cable.
AVOUT
This connection is used for connecting the TV/AV from TV SET 1 to TV SET 2.
MULTIMEDIA
ConnecUlnsert standard USB and select Multimedia source on source OSD by pressing TV/AV key. Press OK/ Right key on remote, connected USB are listed, select USB with UP/Down keys and press OK to enter in selected USB Multimedia. Similarly front panel keys CH +/- and VOL +/- can be used as UP/Down and Ok/Right keys on remote respectively.
NOTE: CH+/CH- keys on remote are represented by PA /PV on TV set. VOL +A/OL- keys on remote are represented by VOL +A/OL- on TV set
NAME AND FUNCTION OF CONTROLS ON SET
A) Front Panel Control/keys (Optional}
- LEO INDICATOR
- IR SENSOR
- STANDBY
- CH+
- CH-
- VOL+
- VOL
- MENU
- SOURCE
- AC POWER IN
- USB
- RF/ANT IN
- HEAD PHONE OUT
- VGA AUDIO IN
- R2AUDIO
- L2AUDIO
- VIDEO 2
- AV OUT (3.5M M JACK)
- R1 AUDIO
- L1 AUDIO
- VIDEO 1
- VGA IN
- HD MI
- Ext. Speaker O/P (L)
- Ext . Speaker O/P (R)
B) CONNECTING YOUR UNIT:-
Note:
Above sketches are just representations. Actual TV set may look differ than these sketches .
BATTERY INSTALLATION
- Remove the battery compartment door.
- Insert two pieces of 1.5V size UM-4 “AAA” batteries or equivalent with the correct polarity as indicated by(+) and(-) symbols.
- Replace battery compartment door.
NOTE: Remove batteries when they are exhausted or if the remote control is not to be used for a long time.
BATTERY PRECAUTIONS:
Incorrect use of batteries can cause electrolyte leakage which will corrode the remote handset or cause the batteries to burst.
- Replace both batteries at same time.
- Don’t Mix batteries type (alkaline with carbon, Zinc etc.)
- Don’t Recharge.

NAME AND FUNCTION OF CONTROLS ON REMOTE
NAME AND FUNCTION OF CONTROLS ON REMOTE 

NAME AND FUNCTION OF CONTROLS ON REMOTE 
|
PICTURE | Picture Mode | This function is used to select the preset picture setting. (Dynamic /Standard/Mild/User) | |
| Contrast I Brightness/ Color/ Sharpness I Tint | These settings are used to adjust the Contrast (0-100), Brightness (0-100), Color (0-100), Sharpness (0-100) and Tint (0-100) Changes in these settings should be done for fine adjustments of the picture. Note: Tint is enabled for NTSC channels only. | ||
|
Color Temperature | Use this option to select and change color temperature (Standard/Warm/Cool/User). When select User mode user can adjust as per their choice Red/Green/Blue settings and adjust color temperature of their preference. | ||
| Aspect Ratio | You can adjust Aspect Ratio to have picture setting of your choice (16:9/Just Scan/Auto/4:3/14:9/Zoom/Cinema Zoom) Note: Just Scan works only on HDMI input | ||
| C: .0:; C. 0 QI CJ C: >ltl “C <( | Black Tone | You can adjust Black Level Off/Dark/Darker/Darkest to get the desired screen depth. | |
| Dynamic | Adjust the screen contrast Off/Low/Medium/High | ||
| Flesh Tone | Adjust skin tone to your choice. | ||
| Noise Reduction | You can adjust Low/Middle/High/Auto/Off to reduce the noise by applying noise reduction filters to video data | ||
|
SOUND | Sound Mode | This function is used to select the preset sound modes (Standard /Music /Movie/ Sports/ User) |
| Balance | User can select the left/right speaker intensity by changing balance (-50 I +50) | |
|
Auto Volume | When set to On, it will level out the sound being heard when sudden changes in volume occur during commercial breaks or channel changes. | |
| Surround Sound | Select Surround Sound On or Off to have spatial effect | |
| EQ | Equitizer 120Hz, 500Hz, 1.5KHz, 5KHz and 10Khz can be adjusted by user to get best sound setting of the choice. | |
| Speaker | When set to On audio can be heard from internal TV speakers. When set to Off internal TV speakers will close sound. |
|
TIME | Clock | Display the On Time and Date. Press Ok key to adjust Date, Month, Year, Hour and Minute. |
| Off Time | Adjust what time TV should enter standby mode. | |
| On Time | Adjust what time’TV should switch on from standby mode. | |
| Sleep Timer | Select the time in minutes (10min, 20min…240min) that you want the TV to shut off | |
| Auto Sleep | If keep it ON TV will switch off after 10 min when no signal is available. |
|
OPTION | OSD Language | Adjust the language. Current software only English language can set. |
| OSD Animation | Select On or Off to see the effect of OSD animation. | |
| Key Lock | Select On to Lock control panel keys available on TV set. | |
| Blue Screen | Select On to get Blue Screen when no signal is available on TV set. | |
| Backlight | The backlight value can be varied (0-10). This function is used to adjust level of panel | |
| Ecovision | TV is In Normal stutn wlinn this is off. To save power consumed by TV select power saving modes Low/Mid/High/Audio Only. In Audio Mode Olnly audio is on and pictureis off. Volume, Power Audio and Mute Keys will work in Audio Mode Only. Press any key to exit Audio Mode Only | |
| Reset Default | Select to return TV back to all default settings. |
|
CHANNEL | Auto Search | Select this function TV will start auto tuning for all available channels. If you want to stop auto searching press MENU or EXIT and press < to confirm > to cancel. |
| Current CH: Display the program number of the current channel. Color System : Select the color system PAL/SECAM/NTSC | ||
|
CHANNEL |
Manual Search | Sound System : Select the sound system (DK/BG/MN/I) Search: Press < to search down from the current frequency and press > to search up.
Fine-Tune: Fine tunning the channel at which either picture or sound is not clear even after Auto Searching
Storage to : Select the channel tuned to copy to other program number Save : Save the channel number selected. |
|
Channel Edit | User can edit the programs by Swap, Skip, Rename operation. 1. To Swap, Navigate to Channel to be swapped (selected bar appears on it) press yellow key on remote, navigate to another channel press OK. Now press yellow key again on remote then these two channels are swapped. 2. To Skip, Navigate to channel to be skipped (selected bar appears on it) press blue key on the remote. Channel is skipped. Repeat the process to cancel skip. 3. To Delete, Navigate to channel to be deleted (selected bar appears on it) press red key on the remote. Channel is deleted. 4. To Rename, Navigate to channel to be rename (selected bar appears on it) press green key on remote. Now you navigate keys up and down to enter word and move front and back to shift. Favorite Favorite channels can be selected by using the FAV key on the remote. Navigate to a channel to be included in favorite list (selected bar appears on it) press FAV key. Heart sign appears with channel selected. To Cancel repeat the operation again. After you select all favorite channels you can use FAV- and FAV+ keys to watch all selected favorite channels one by one. |
MEDIA
“NO DEVICE” icon means whether your TV has detected a USB memory or not. 
Press: to select Photo/Music/Movie/Text icon and ENTER to enter the USB memory.
For details: Photo, see page “16”
Music, see page “17” Movie, see page “18” Text, see page “19”
MEDIA MODE
Photo
Select one and press ENTER to view, and it will display all the picture in the folder automatically. Press ENTER to display the following menu, then you can press to select them.
- Press to play or pause
- Press to view the previous picture.
- Press to view the next picture.
- Press to stop and back to the previous folder.
- Press to play all the pictures repeatly in the current folder.
- Press OK to select the repeat mode: Repeat One/ALL/None
- Press to play or stop the background music.
- Press to view the list of pictures.
- Press to display the information of the current picture (Resolution/Size/Datemme)
- Rotate clockwise.
- Rotate counter clockwise.
- Zoom the picture in.
- Zoom the picture out.
- Zoom out the picture first.
- Highlight the icon and press ok, then pressT/A& -«/► to move the picture
MEDIA MUSIC
Music
Press ENTER to display the menu.
- Press to play or pause
- Press to fast backward
- Press to fast forward
- Press to play the previous song.
- Press to play the next song
- Press to stop and back to the folder interface.
- Press to play all the songs repeatly in the current folder Press OK to select the repeat mode: Repeat One/All/None
- Press to go the point you want to play.
MEDIA MOVIE
Movie
Press ENTER to display the menu.
- Press to play or pause
- Press to play back faster.
- Press to play forward faster.
- Press to play the previous movie.
- Press to play the next movie.
- Press to stop and back to the folder interface.
- Press to play all the movies repeatly in the current folder.
- Press OK to select the repeat mode: Repeat One/ALUNone.
- Set A-B to play repeatly.
- Press once to set A, and press again to set B, then press the third time to cancel.
- Press to view the list of movie.
- Press to display the information of the current movie.
- Press to play slower.
- Press to play the movie step by step, (frame by frame.)
- Press to go to the point you want to play.
- Press to Zoom in
- Press to Zoom out
- Press to change aspect ratio
MEDIA TEXT
Text
Note: The*, txt file can be detected and read only. Press ENTER to display the menu.
- Select previous page & press OK to change page
- Select next page & press OK to change page
- Press to go to the previous text file.
- Press to go to the next text file.
- Press to stop and back to the folder interface.
- Press to play or stop the background music.
- Press to view the list of the text files.
- Press to display the information of the current files.
USB FORMAT
USB 1 & 2 (Multimedia File Formats)
| File Ext: | Remarks | Video | Codec | Frame Rate | Bit Rate | |
| dat, mpg. mpeg | MPG,MPEG | Mpeg1,2 | 1920×1080® 30P | 20Mbit/sec | ||
| ts, trp, tp | MPEG2-TS H264-TS | MPEG2,H. 264 | 1920×1080 30p | @ | 20Mbit/sec | |
| vob | MPEG2-PS | MPEG2 | 1920×1080 30P | @ | 20Mbit/sec | |
| mp4 | AVI, MP4 | MPEG4 DivX 3.11, DivX 4.12, DivX 5.x, DivX6,Xvid 1.00, Xvid 1.01, Xvid 1.02, Xvid 1.03, Xvid 1.10-beta 1/2 H.264 | 1920×1080 30P | @ | 20Mbit/sec | |
| rm, rmvb | RMVB, RM | rm code RVS, RV9, RV10 | 1280×720 30P | @ | 10Mbit/sec | |
| mkv | MKV | H.264, MPEG1,2,4 | 1920×1080 30P | @ | 20Mbit/sec | |
| DivX, avi | AVI (1.0, 2.0) DMF0, 1, 2 | MPEG2, MPEG4 DivX 3.11, DivX 4,Divx 5, DivX 6, Xvid 1.00, Xvid 1.0 f, Xvid 1.02, Xvid 1.03,Xvid 1.10-beta1/2 H.264 | 1920×1080 30P | @ | 20Mbit/sec | |
| asf | ASF (Revision 01.20.03) | VC1 | 1920X1080 30P | @ | 20Mbit/sec | |
| Audio multimedia file formats Audio Codec File Extension | Bit Rate | |||||
| MPEG1 Layer2 | MP3 | 32kbps -448Kbps(Bit rate) 32KHz – 48KHz(Sampling rate) | ||||
| MPEG1 Layer3 | MP3 | 32kbps -320Kbps(Bit rate) 32KHz – 48KHz(Sampling rate) | ||||
| AC3 (Need License) | N/A (Work with video files only) | 32 Kbps – 640Kbps (Bit rate), 32 KHz 44.1KHz, 48KHz (Sampling rate) |
| EAC3 (Need License) | N/A (Work with video files only) | 32 Kbps – 640Kbps 32 KHz, 44.1KHz, 48KHz (Sampling rate) |
| MC,HEMC | M4A/MC | 32 Kbps – 384Kbps (Bit rate) 8 KHz, 48KHz (Sampling rate) |
| WMA | WMA/ASF | Bitrate: 128Kbps – 320Kbps Sampling Rate: BKHz – 48Khz |
| LPCM | N/A (Work with video files only) | Bitrate: 64Kbps – 1.5Mbps Sampling Rate: BKHz – 48Khz |
| IMA-ADPCM/MS-ADPCM | N/A (Work with video files only) | Bitrate: 384Kbps Sampling Rate: BKHz – 48Khz |
| LBR | N/A (Work with video files only) | Bitrate: 6Kbps – 96Kbps Sampling Rate: BKHz – 48Khz |
Digital Multi Media Picture file formats
| Image | Photo | Resolution T2 & Pluto (M-Star suggest) | Resolution T3/T4 (Mstar suggest) | Resolution DRAM size by T3/T4 (Mbytes) |
| JPEG | Base-line | 8192×8192 | 15360×8640 | 3. 96 |
| Progressice | 1024×768 | 1024×768 | 6. 00 | |
| PNG | Non-Interlace | 9000×6000 | 9600×6400 | 3. 66 |
| Interlace | 1200×768 | 1200×800 | 3. 66 | |
| BMP | BMP | 9000×6000 | 9600×6400 | 3. 66 |
Remark : some of video files and audio files need customer supply license can be open such as AC3/DIVX
TECHNICAL SPECIFICATIONS
Before you call the service person, check the following points.
| Panel Type | 40cm LED | 50151cm LED | 59cm LED |
| Display Resolution | 1366 x 768 (HD Ready) | 1600 x 900 (HD Ready) | 1366 x 768 (HD Ready) |
| Brightness | 220 nits | 250 nits | 220 nits |
| Response Time | 16mS | 5mS | 5mS |
| Viewing Angle | 90 (H)° / 45 (V)° | 160 (H)° / 16 (V)° | 178 (H)° / 178 (V)° |
| Lamp Life Time | 50,000 Hours Minimum | 50,000 Hours Minimum | 50,000 Hours Minimum |
| Receiving Systems | PAL/SECAM, BG/DK NTSC (3.58/4.43) in playback only. | PAL/SECAM, BG/DK NTSC (3.58/4.43) in playback only. | PAL/SECAM, BG/DK NTSC (3.58/4.43) in playback only. |
|
Channel Coverage | VHF 2-12 | VHF 2-12 | VHF 2-12 |
| UHF 21-69 | UHF 21-69 | UHF 21-69 | |
| CATV (X-Z+2, S1-S41) | CATV (X-Z+2, S1-S41) | CATV (X-Z+2, S1-S41) | |
| Power Supply | AC 90~270V, 50/60 Hz | AC 90~270V, 50/60 Hz | AC 90~270V, 50/60 Hz |
| Antenna Input Impedance | 75Ohms unbalanced | 75Ohms unbalanced | 75Ohms unbalanced |
| Power Consumption (MAX) | 25W | 25W | 25W |
| Audio Output (RMS) | 6Wx2 | 7Wx2 | 7Wx2 |
| Accessories | Remote Handset, User Guide Book, Battery UM04, “AAA” 1.5V (2pc) | Remote Handset, User Guide Book, Battery UM04, “AAA” 1.5V (2pc) | Remote Handset, User Guide Book, Battery UM04, “AAA” 1.5V (2pc) |
NOTE:
- Design and Specification are subject to change without prior notice.
- Stand assembly is optional and is not a part of this unit. For more details contact service provider.
TROUBLE SHOOTING
Before you call the service person, check the following points.
| PROBLEM | CHECK ITEM |
| No picture on screen and no sound from speakers. | > Insert the AC power cord plug securely in AC power socket. > Make sure the set is not in stand by mode. > Turn on the power button on the set. |
|
No picture from AV terminal | > Check the brightness setting of the set > Lamp may have malfunction > Make sure a cable with no video input signal is connected to the AVIS-VIDEO INPUT terminal. |
| Picture is displayed but no sound from the speakers. | > Check the volume settings. > Make sure the sound is not muted. > Make sure the speaker is not turned off in sound menu. > Make sure that sound system is correct. |
| Picture is too light. Picture is too dark. | > Make sure COLOR and CONTRAST setting are proper. > Make sure BRIGHTNESS setting is not set too low. Check the Brightness setting. > Lamp may have malfunction. |
| Remote control does not work | > Change the batteries. > Make sure the infrared transmitter window is not receiving strong light such as light from fluorescent lamps. |
| The picture is not sharp. The picture moves. Picture is snowy and noisy sound. | > The reception may be weak try another chanel. > The state broadcast may also be bad. > Make sure that the antenna is facing the right direction. > Make sure the outside antenna is not disconnected. |
| The Multiple image and normal sound | > Try different channels if ok probably it is station problem. > Make sure the antenna is facing the right direction. > There may be reflected electric waves from mountains or buildings. |
| The picture is spotted or interference on picture and noisy sound. | > There may be interference from automobiles, trains, high voltage lines, neon lights etc. > There may be interference between the antenna cable and the power cable. Try positioning them further apart. |
| There are stripes on the screen or color fade on interference | > Is the unit receiving interference from other devices? Transmission antennas of radio broadcasting stations and noise sound and transmission antennas of cellular phone may also cause interference. > Place the unit as far as possible from devices that may cause possible interference |
| Picture with no color but normal sound | > Check color setting or the set and check color system. > Check if station is broadcasting color picture. |
| Picture is scrambled and with normal or weak sound |
> Retune Channels |
| Incorrect position of picture in PC mode | > Auto adjust HN position. > Manually trail to adjust HV position. |
| Vertical bars or stripes on background in PC mode | > Auto adjust, try to adjust clock manually. |
|
Horizontal noise in PC mode |
> Auto adjust or adjust phase and clock. |



















