LG 28TQ525S TV LED
LG LED TV applies LCD screen with LED backlights.
Please read this manual carefully before operating your TV and retain it for future reference.
SAFETY PRECAUTIONS
Please read these safety precautions carefully before using the product.
WARNING If you ignore the warning message, you may be seriously injured or there is a possibility of accident or death.
CAUTION If you ignore the caution message, you may be slightly injured or the product may be damaged.
Precautions in installing the product
WARNING
- Keep away from heat sources like electrical heaters.
- Electrical shock, fire, malfunction or deformation may occur.
- Keep the packing anti-moisture material or vinyl packing out of the reach of children.
- Anti-moisture material is harmful if swallowed. If swallowed by mistake, force the patient to vomit and visit the nearest hospital. Additionally, vinyl packing can cause suffocation. Keep it out of the reach of children.
- Do not put heavy objects on the product or sit upon it.
- If the product collapses or is dropped, you may be injured. Children must pay particular attention.
- Do not leave the power or signal cable unattended on the pathway.
- The passerby can falter, which can cause electrical shock, fire, product breakdown or injury.
- Install the product in a neat and dry place.
- Dust or moisture can cause electrical shock, fire or product damage.
- If you can smell smoke or other odors or hear a strange sound unplug the power cord and contact the service center.
- If you continue to use without taking proper measures, electrical shock or fire can occur.
- If you dropped the product or the case is broken, turn off the product and unplug the power cord.
- If you continue to use without taking proper measures, electrical shock or fire can occur. Contact the service center.
- Do not drop an object on or apply impact to the product. Do not throw any toys or objects on the product screen.
- It can cause injury to human, problem to product and damage the display.
- Do not let the product fall or drop when connecting it with an external device.
- This may cause injury and/or damage to the product.
- When connecting it with a game device, keep a distance of four times as long as the diagonal measurement of the screen from the device.
- If the product falls because of the short cable, this may cause injury and/or damage to the product.
- Leaving a fixed image on the screen for a long time may cause damage to the screen and cause image burn-in. To use the product for a long period of time, use a screen saver on the PC or utilize the residual image prevention function on the product, and when the product is not used, turn off the power. Burn-in and related problems are not covered by the warranty on this product.
- Do not install this product on a wall if it could be exposed to oil or oil mist.
- This may damage the product and cause it to fall.
CAUTION
- Make sure the product ventilation hole is not blocked. Install the product in a suitably wide place (more than 100 mm from the wall).
- If you install the product too close to the wall, it may be deformed or fire can break out due to internal heat.
- Do not block the ventilation hole of the product by a tablecloth or curtain.
- The product can be deformed or fire can break out due to overheating inside the product.
- Install the product on a flat and stable place that has no risk of dropping the product.
- If the product is dropped, you may be injured or the product may be broken.
- Install the product where no EMI occurs.
- Keep the product away from direct sunlight.
- The product can be damaged.
- If you install the product in a place that does not meet the recommended conditions, this may cause serious damage to the product’s picture quality, life cycle and appearance. Please check with LG or a qualified installer before installing. This caution applies to a place where there is an abundance of fine dust or oil mist, chemical substances are used, the temperature is very high or low, the humidity is very high, or the product is likely to remain turned on for a long period of time (airport and train station), failure to do so will invalidate the warranty.
- Do not install the product in an area with poor ventilation (e.g.on a bookshelf, in a closet) or outside and avoid placing on cushions or carpets.
- In addition, do not install it where there are heating objects such as lighting equipment.
Precautions to the AC adapter and electrical power
WARNING
- If water or any foreign substance goes inside the product (TV, monitor, power cord, or AC adapter), disconnect the power cord immediately and contact the service center.
- Otherwise, this may cause a fire or electric shock due to damage to the product.
- Do not touch the power plug or AC adapter with wet hands. If the pins of the plug are wet or dusty, wipe and dry them before use.
- Otherwise, this may cause a fire or electric shock.
- Make sure to completely insert the power cord into the AC adapter.
- If loosely connected, the poor connection may cause a fire or electric shock.
- Be sure to use power cords and AC adapters provided or approved by LG Electronics, Inc.
- The use of non-approved products may cause a fire or electric shock.
- When unplugging the power cord, always pull it by the plug. Do not bend the power cord with excessive force.
- The power line can be damaged, which may cause electric shock or fire.
- Be careful not to step or place heavy objects (electronic appliances, clothing, etc.) on the power cord or AC adapter. Be careful not to damage the power cord or AC adapter with sharp objects.
- Damaged power cords may cause a fire or electric shock.
- Never disassemble, repair or modify the power cord or AC adapter.
- This may cause a fire or electric shock.
- Make sure to connect the power cable to the grounded current.
- You may be electrocuted or injured.
- Use the rated voltage only.
- The product can be damaged, or you may be electrocuted.
- In the presence of thunder and lightning, never touch the power cord and signal cable because it can be very dangerous.
- It can cause electric shock.
- Do not connect several extension cords, electrical appliances or electrical heaters to a single outlet. Use a power bar with a grounding terminal designed for exclusive use with the computer.
- A fire can break out due to overheating.
- Do not touch the power plug with wet hands. Additionally, if the cord pin is wet or covered with dust, dry the power plug completely or wipe dust off.
- You may be electrocuted due to excess moisture.
- If you don’t intend to use the product for a long time, unplug the power cable from the product.
- Covering dust can cause a fire, or insulation deterioration can cause electric leakage, electric shock or fire.
- Fix the power cable completely.
- If the power cable is not fixed completely, a fire can break out.
- Do not insert a conductor (like a metal chopstick) into one end of the power cable while the other end is connected to the input terminal on the wall. Additionally, do not touch the power cable right after plugging into the wall input terminal.
- You may be electrocuted.
- The AC Cord is the disconnecting device.
- Please make sure the device is installed near the wall outlet to which it is connected and that the outlet is easily accessible.
- As long as this unit is connected to the AC wall outlet, it is not disconnected from the AC power source even if the unit is turned off.
CAUTION
- Be sure to keep the outlet, AC adapter, and pins of the power plug clean from dust and etc.
- This may cause a fire.
- Do not unplug the power cord while the product is in use.
- Electrical shock can damage the product.
- Use only the power cord supplied with the unit. If you use another power cord, make sure that it is certified by the applicable national standards when not provided by the supplier. If the power cable is faulty in any way, please contact the manufacturer or the nearest authorised repair service provider for a replacement.
Precautions in moving the product
WARNING
- Make sure to turn off the product.
- Make sure to remove all cables before moving the product.
- You may be electrocuted or the product can be damaged.
- Make sure the panel faces forward and hold it with both hands to move. If you drop the product, the damaged product can cause electric shock or fire. Contact an authorised the service center for repair.
- Make sure the product is turned off, unplugged and all cables have been removed. It may take 2 or more people to carry larger apparatus. Do not press against or put stress on the front panel of the apparatus.
CAUTION
- Do not shock the product when moving it.
- You may be electrocuted or the product can be damaged.
- Do not dispose the product-packing box. Use it when you move.
- WARNING: Do not disassemble, repair or modify the product at your own direction
- Fire or electric shock accident can occur.
- Contact the service center for check, calibration or repair.
- When the display is to be left unattended for an extended period of time, unplug it from the wall outlet.
- Keep the product away from water.
- Fire or electric shock accident can occur.
- Do not shock or scratch the front and sides of the screen with metallic objects.
- Otherwise, it may cause damage to the screen.
- Avoid high temperatures and humidity.
- Do not put or store inflammable substances near the product.
- There is a danger of explosion or fire due to careless handling of the inflammable substances.
- When cleaning the product, unplug the power cord and scrub gently with a soft cloth to prevent scratching. Do not clean with a wet cloth or spray water or other liquids directly onto the product. An electric shock may occur. (Do not use chemicals such as benzene, paint thinners or alcohol)
- Take a rest from time to time to protect your vision.
- Keep the product clean at all times.
- Take a comfortable and natural position when working with a product to relax the muscles.
- Take a regular break when working with a product for a long time.
- Do not press strongly upon the panel with a hand or a sharp object such as a nail, pencil or pen, or make a scratch on it.
- Keep the proper distance from the product.
- Your vision may be impaired if you look at the product too closely.
- Set the appropriate resolution and clock by referring to the User’s Guide.
- Your vision can be impaired.
- Use authorised detergent only when cleaning the product. (Do not use benzene, thinner or alcohol.)
- Product can be deformed.
- Do not expose to dripping or splashing and do not place objects filled with liquids, such as vases, cups, etc. on or over the apparatus (e.g. on shelves above the unit).
- For models using a battery, This device is equipped with a portable battery or accumulator. Risk of fire or explosion if the battery is replaced by an incorrect type.
- Batteries should not be exposed to excessive heat. For example, keep away from direct sunlight, open fireplace and electric heaters.
- Do NOT place non-rechargeable batteries in charging device.
- Using headsets (earphones) for a long time or listening loudly can cause damage to your hearing.
- Spray water onto a soft cloth 2 to 4 times, and use it to clean the front frame; wipe in one direction only. Too much moisture may cause staining.
- Do not use products using high voltage around the Monitor. (ex. Electrical Swatter)
- Monitor may have malfunction as its electrical shock.
Mounting on a wall
- Do NOT install this product by yourself as you may injure yourself or cause damage to product. Please contact Service personnel authorised by Manufacturer
LICENSES
Supported licenses may differ by model. For more information about licenses, visit www.lg.com.
OPEN SOURCE SOFTWARE
NOTICE INFORMATION
To obtain the source code under GPL, LGPL, MPL, and other open source licenses that have the obligations to disclose source code, that is contained in this product, and to access all referred license terms, copyright notices and other relevant documents please visit https://opensource.lge.com.
LG Electronics will also provide open source code to you on CD-ROM for a charge covering the cost of performing such distribution (such as the cost of media, shipping, and handling) upon email request to [email protected].
This offer is valid to anyone in receipt of this information for a period of three years after our last shipment of this product.
PREPARING
NOTE
- Image shown may differ from your TV.
- Your TV’s OSD (On Screen Display) may differ slightly from that shown in this manual.
- The available menus and options may differ from the input source or product model that you are using.
- New features may be added to this TV in the future.
- The TV can be placed in standby mode in order to reduce the power consumption. And the TV should be turned off if it will not be watched for some time, as this will reduce energy consumption.
- The energy consumed during use can be significantly reduced if the level of brightness of the picture is reduced, and this will reduce the overall running cost.
- The items supplied with your product may vary depending on the
model. - Product specifications or contents of this manual may be changed without prior notice due to upgrade of product functions.
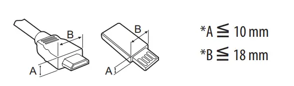
- For an optimal connection, HDMI cables and USB devices should have bezels less than 10 mm thick and 18 mm width. Use an extension cable that supports USB 2.0 if the USB cable or USB memory stick does not fit into your TV’s USB port.

- Use a certified cable with the HDMI logo attached. If you do not use a certified HDMI cable, the screen may not display or a connection error may occur.
- Recommended HDMI cable types: Ultra High Speed HDMI®/™ cable (3 m or less)
CAUTION - Do not use any unapproved items to ensure the safety and product life span.
- Any damage or injuries caused by using unapproved items are not covered by the warranty.
SEPARATE PURCHASE
Separate purchase items can be changed or modified for quality improvement without any notification. Contact your dealer to buy these items. These devices only work with certain models.
The model name or design may be changed depending on the upgrade of product functions, manufacturer’s circumstances or policies.
Magic Remote Control
Check whether your TV model supports Bluetooth in the Wireless Module Specification to verify whether it can be used with the Magic Remote.
LIFTING AND MOVING THE TV
Please note the following advice to prevent the TV from being scratched or damaged and for safe transportation regardless of its type and size.
- It is recommended to move the TV in the box or packing material that the TV originally came in.
- Before moving or lifting the TV, disconnect the power cord and all cables.
- When holding the TV, the screen should face away from you to avoid damage.
- Hold the top and bottom of the TV frame firmly. Make sure not to hold the transparent part, speaker, or speaker grill area.
- When transporting the TV, do not expose the TV to jolts or excessive vibration.
- When transporting the TV, keep the TV upright, never turn the TV on its side or tilt towards the left or right.
- Do not apply excessive pressure to cause flexing/bending of frame chassis as it may damage screen.
CAUTION
- Avoid touching the screen at all times, as this may result in damage to the screen.
- Do not carry the TV upside-down by holding the stand body (or stand base) as this may cause it to fall off, resulting in damage or injury.
- When handling the TV, be careful not to damage the protruding joystick button. (Depending on model)
SETTING UP THE TV
CAUTION
- When attaching the stand to the TV set, place the screen facing down on a cushioned table or flat surface to protect the screen from scratches.
- Do not apply foreign substances (oils, lubricants, etc.) to the screw parts when assembling the product. (Doing so may damage the product.)
NOTE: Remove the stand before installing the TV on a wall mount by performing the stand attachment in reverse.
- You can operate your TV by pressing the button.
- Image shown may differ from your TV.

Basic functions
- All running apps will close.
- You can access and adjust the menu by pressing the button when TV is on.
- You can use the function when you access menu control.
Adjusting the menu
When the TV is turned on, press the button one time. You can adjust the Menu items using the button. 
MOUNTING ON A TABLE
Image shown may differ from your TV.
- Lift and tilt the TV into its upright position on a table.
Leave a 100 mm (minimum) space from the wall for proper ventilation.
- Connect the AC-DC Adapter and power cord to a wall outlet.
CAUTION- Do not place the TV near or on sources of heat, as this may result in fire or other damage.
- Please be sure to connect the TV to the AC/DC power adapter before connecting the TV’s power plug to a wall power outlet.
Using the kensington security system (optional)
(This is not available for all models.)
- Image shown may differ from your TV.
The Kensington security system connector is located at the rear of the TV. For more information of installation and using, refer to the manual provided with the Kensington security system or visit http://www.kensington.com. Connect the Kensington security system cable between the TV and a table.
NOTE: The Kensington security system is optional. You can obtain additional accessories from most electronics stores.
MOUNTING ON A WALL
For proper ventilation, allow a clearance of 100 mm on each side and from the wall. Detailed installation instructions are available from your dealer, see the optional Tilt Wall Mounting Bracket Installation and Setup Guide.
If you intend to mount the TV to a wall, attach Wall mounting interface (optional parts) to the back of the TV.
When you install the TV using the wall mounting interface (optional parts), attach it carefully so it will not drop.
- If you use screw longer than standard, the TV might be damaged internally.
- If you use improper screw, the product might be damaged and drop from mounted position. In this case, LG Electronics is not responsible for it.
Separate purchase (Wall mounting bracket)

CAUTION
- Must use the enclosed screw in the box. (Depending on model) y Disconnect the power first, and then move or install the TV. Otherwise electric shock may occur.
- If you install the TV on a ceiling or slanted wall, it may fall and result in severe injury.
- Use an authorised LG wall mount and contact the local dealer or qualified personnel.
- Do not over tighten the screws as this may cause damage to the TV and void your warranty.
- Use the screws and wall mounts that meet the VESA standard. Any damages or injuries by misuse or using an improper accessory are not covered by the warranty.
- Screw length from outer surface of back cover should be under 8 mm.

NOTE
- Use the screws that are listed on the VESA standard screw specifications.
- The wall mount kit includes an installation manual and necessary parts.
- The wall mount bracket is optional. You can obtain additional accessories from your local dealer.
- The length of screws may differ depending on the wall mount. Be sure to use the proper length.
- For more information, refer to the instructions supplied with the wall mount.
CONNECTIONS (NOTIFICATIONS)
Connect various external devices to the TV and switch input modes to select an external device. For more information about an external device’s connection, refer to the manual supplied with each device. Available external devices are: Blu-ray player, HD receivers, DVD players, VCRs, audio systems, USB storage devices, PC, gaming devices, and other external devices.
NOTE
- The external device connection may differ from the model. y Connect external devices to the TV regardless of the order of the TV port.
- If you record a TV program on a Blu-ray/DVD recorder or VCR, make sure to connect the TV signal input cable to the TV through a DVD recorder or VCR. For more information of recording, refer to the manual provided with the connected device.
- Refer to the external equipment’s manual for operating instructions.
- If you connect a gaming device to the TV, use the cable supplied with the gaming device.
- In PC mode, there may be noise associated with the resolution, vertical pattern, contrast or brightness. If noise is present, change the PC output to another resolution, change the refresh rate to another rate or adjust the brightness and contrast on the [Picture] menu until the picture is clear.
- In PC mode, some resolution settings may not work properly depending on the graphics card.
- When connecting via a wired LAN, it is recommended to use a CAT 7 cable. (Only when port is provided.)
- Ethernet only supports 100 Base-T.
Antenna connection
Connect the TV to a wall antenna socket with an RF cable (75 Ω) (Not Provided).
- Use a signal splitter to use more than 2 TVs.
- If the image quality is poor, install a signal amplifier properly to improve the image quality.
- If the image quality is poor with an antenna connected, try to realign the antenna in the correct direction.
- An antenna cable and converter are not supplied.
Satellite dish connection (Only satellite models)
Connect the TV to a satellite dish to a satellite socket with a satellite RF cable (75 Ω).
CI module connection (Depending on model)
View the encrypted (pay) services in digital TV mode.
- Check if the CI module is inserted into the COMMON INTERFACE port in the right direction. If the module is not inserted properly, this can cause damage to the TV and the COMMON INTERFACE port.
- If the TV does not display any video and audio when CI+ CAM is connected, please contact to the Terrestrial/Cable/Satellite Service Operator.
Other connections
Connect your TV to external devices. For the best picture and audio quality, connect the external device and the TV with the HDMI cable. Some separate cable is not provided.
- USB port supports 0.5 A electric current. If you need more electric current in case of HDD, use the separate power adaptor.
NOTE: Supported HDMI Audio format (Depending on model):
Dolby Digital / Dolby Digital Plus (32 kHz / 44.1 kHz / 48 kHz), PCM (32 kHz / 44.1 kHz / 48 kHz / 96 kHz / 192 kHz)
REMOTE CONTROL
The descriptions in this manual are based on the buttons on the remote control. Please read this manual carefully and use the TV correctly.
To replace batteries, open the battery cover, replace batteries (1.5 V AAA) matching the
and ends to the label inside the compartment, and close the battery cover. To remove the batteries, perform the installation actions in reverse.
CAUTION
- Do not mix old and new batteries, as this may damage the remote control.
- The remote control will not be included for all sales market. Make sure to point the remote control toward the remote control sensor on the TV.

(Some buttons and services may not be provided depending on models or regions.)
To use the button, press and hold for more than 3 seconds.
(Power) Turns the TV on or off.
(Input) Changes the input source.- (Teletext buttons) These buttons are used for teletext.
(CC/SUB) Recalls your preferred subtitle in digital mode.
(Q. Settings) Accesses the Quick Settings.
Number buttons Enters numbers.
Accesses the [Quick Help].
Shows programme guide.
(More actions) Displays more remote control functions.- QUICK ACCESS.1 Edits QUICK ACCESS.
QUICK ACCESS is a feature that allows you to enter a specified app or Live TV directly by pressing and holding the number buttons.
Adjusts the volume level.
Scrolls through the saved programmes.
(Mute) Mutes all sounds.
(Mute)1 Accesses the [Accessibility] menu.
(Search) Check for recommended content. (Some recommended services may not be available in some countries.)
Search for content such as TV programmes, movies and other videos, or perform a web search by entering text in the search bar.
You can watch TV or LG Channels.
Streaming Service buttons Connects to the Video Streaming Service.
(HOME) Accesses Home menu.
(HOME)1 Launches the last used apps.
Navigation buttons (up/down/left/right) Scrolls through menus or options.
(OK) Selects menus or options and confirms your input.
(OK)1 Accesses the [Magic Explorer]. When using [TV Guide], [Settings], [Sports Alert], or [Art Gallery], press and hold down on the text.
(Back) Returns to the previous level.
(Exit) Clears on-screen displays and returns to TV viewing.
Control buttons for media contents.
Accesses the saved programmes list.- SLEEP Set the sleep timer.
(REC) Starts to record and displays record menu. This TV does not support recording function.
These access special functions in some menus.
USER GUIDE
For more information about this TV, read the USER GUIDE embedded in the product. (Depending on model)
- To open the USER GUIDE

MAINTENANCE
Cleaning your TV
Clean your TV regularly to keep the best performance and to extend the product lifespan.
- Make sure to turn the power off and disconnect the power cord and all other cables first.
- When the TV is left unattended and unused for a long time, disconnect the power cord from the wall outlet to prevent possible damage from lightning or power surges.
Screen, frame, cabinet and stand
To remove dust or light dirt, wipe the surface with a dry, clean, and soft cloth.
To remove major dirt, wipe the surface with a soft cloth dampened in clean water or a diluted mild detergent. Then wipe immediately with a dry cloth.
- Avoid touching the screen at all times, as this may result in damage to the screen.
- Do not push, rub, or hit the screen surface with your fingernail or a sharp object, as this may result in scratches and image distortions. y Do not use any chemicals as this may damage the product.
- Do not spray liquid onto the surface. If water enters the TV, it may result in fire, electric shock, or malfunction.
Power cord
Remove the accumulated dust or dirt on the power cord regularly.
Preventing “Image burn” or “Burn-in” on your TV screen
- If a fixed image displays on the TV screen for a long period of time, it will be imprinted and become a permanent disfigurement on the screen. This is “image burn” or “burn-in” and not covered by the warranty.
- If the aspect ratio of the TV is set to 4:3 for a long period of time, image burn may occur on the letterboxed area of the screen.
- Avoid displaying a fixed image on the TV screen for a long period of time (2 or more hours for LCD) to prevent image burn.
TROUBLESHOOTING
Cannot control the TV with the remote control.
- Check the remote control sensor on the product and try again. y Check if there is any obstacle between the product and the remote control.
- Check if the batteries are still working and properly installed

No image display and no sound is produced.
- Check if the product is turned on.
- Check if the power cord is connected to a wall outlet.
- Check if there is a problem in the wall outlet by connecting other products.
The TV turns off suddenly.
- Check the power control settings. The power supply may be interrupted.
- Check if the auto-off function is activated on the settings related time.
- If there is no signal while the TV is on, the TV will turn off automatically after 15 minutes of inactivity.
When connecting to the PC (HDMI), no signal is detected.
- Turn the TV off/on using the remote control.
- Reconnect the HDMI cable.
- Restart the PC with the TV on.
SPECIFICATIONS
Product specifications may be changed without prior notice due to upgrade of product functions.
| Models | Dimensions (W x D x H) (mm) | Weight (kg) | Power consumption (Outgoing condition) (Typical) | Power requirement | |||
| With stand | Without stand | With stand | Without stand | ||||
| 24TQ510S | 563.1 x 148.6 x 393.8 | 563.1 x 58 x 340.9 | 3.6 | 3.25 | 28 W | 19 V | 2.0 A |
| 24TQ520S | 563.1 x 150.1 x 367 | 563.1 x 58 x 340.9 | 3.3 | 3.25 | 28 W | 19 V | 2.0 A |
| 27TQ615S | 612 x 152.5 x 423.1 | 612 x 73.9 x 368.5 | 3.75 | 3.5 | 32 W | 19 V | 2.0 A |
| 27TQ625S | 612 x 150 x 394.8 | 612 x 73.9 x 368.5 | 3.55 | 3.5 | 32 W | 19 V | 2.0 A |
| 28TQ515S 28LQ515S | 649.5 x 187.5 x 448.3 | 649.5 x 78.4 x 394.3 | 3.88 | 3.53 | 32 W | 19 V | 2.0 A |
| 28TQ525S 28LQ525S | 649.5 x 150.0 x 420.9 | 649.5 x 78.4 x 394.3 | 3.57 | 3.53 | 32 W | 19 V | 2.0 A |
|
AC/DC Adapter (Depending on country) | Manufacturer: PI Model: AD2137S20, AD10530LF Manufacturer: Honor Model: ADS-45FSQ-19 19040EPG-1, ADS-45SQ-19-3 19040E, ADS-45FSN-19 19040GPG |
| In: AC 100 – 240 V~ 50/60 Hz Out: DC 19 V 2.1 A |
|
Environment condition | Operating Temperature | 0 °C to 40 °C |
| Operating Humidity | Less than 80 % | |
| Storage Temperature | -20 °C to 60 °C | |
| Storage Humidity | Less than 85 % |
Broadcasting Specifications
(Depending on country)
| Digital TV | Analogue TV | |||
| Television system | DVB-S/S2 DVB-C DVB-T/T2 | PAL/SECAM B/G/I/D/K, SECAM L | ||
|
Programme coverage | DVB-S/S2 | DVB-C | DVB-T/T2 |
46 ~ 862 Mhz |
|
950 ~ 2,150 Mhz |
46 ~ 890 Mhz | VHF III: 174 ~ 230 Mhz UHF IV: 470 ~ 606 Mhz UHF V: 606 ~ 862 Mhz S Band II: 230 ~ 300 Mhz S Band III: 300 ~ 470 Mhz | ||
| Maximum number of storable programmes | 6,000 | 3,000 | ||
| External antenna impedance | 75 Ω | |||
| CI module Size (W x H x D) | 100.0 mm x 55.0 mm x 5.0 mm | |||
Wireless module specification
| Wireless module (LGSBWAC03) specifications | |
| Wireless LAN (IEEE 802.11a/b/g/n/ac) | |
| Frequency Range | Output Power (Max.) |
| 2,400 to 2,483.5 MHz 5,150 to 5,725 MHz 5,725 to 5,850 MHz | 18.5 dBm 19.5 dBm 11.5 dBm |
| Bluetooth | |
| Frequency Range | Output Power (Max.) |
| 2,400 to 2,483.5 MHz | 9 dBm |
| As band channels can vary per country, the user cannot change or adjust the operating frequency. This product is configured for the regional frequency table. For consideration of the user, this device should be installed and operated with a minimum distance of 20 cm between the device and the body. | |
WARNING! (STABILITY HAZARD)
A television set may fall, causing serious personal injury or death. Many injuries, particularly to children, can be avoided by taking simple precautions such as:
- ALWAYS use cabinets or stands or mounting methods recommended by the manufacturer of the television set.
- ALWAYS use furniture that can safely support the television set.
- ALWAYS ensure the television set is not overhanging the edge of the supporting furniture.
- ALWAYS educate children about the dangers of climbing on furniture to reach the television set or its controls.
- ALWAYS route cords and cables connected to your television so they cannot be tripped over, pulled or grabbed.
- NEVER place a television set in an unstable location.
- NEVER place the television set on tall furniture (for example, cupboards or bookcases) without anchoring both the furniture and the television set to a suitable support.
- NEVER place the television set on cloth or other materials that may be located between the television set and supporting furniture.
- NEVER place items that might tempt children to climb, such as toys and remote controls, on the top of the television or furniture on which the television is placed.
If the existing television set is going to be retained and relocated, the same considerations as above should be applied.
Symbols
Service
Unplug the monitor from the wall outlet and refer servicing to qualified service personnel when:
- The power cord or plug is damaged or frayed.
- Liquid has been spilled into the monitor.
- The monitor has been exposed to rain or water.
- The monitor does not operate normally following the operating instructions. Adjust only those controls that are covered in the operating instructions. An improper adjustment of other controls may result in damage and often requires extensive work by a qualified technician to restore the monitor to normal operation.
- The monitor has been dropped or the cabinet has been damaged.
- The monitor exhibits a distinct change in performance.
- Snapping or popping from the monitor is continuous or frequent while the monitor is operating. It is normal for some monitors to make occasional sounds when being turned on or off, or when changing video modes.
- Do not attempt to service the monitor yourself, as opening or removing covers may expose you to dangerous voltage or other hazards. Refer all servicing to qualified service personnel.
The model and serial number of the product are located on the back and on one side of the product.
Record them below in case you ever need service.
- Model
- Serial No.




























