BNSCL
BABY SAFETY LOCK
Instructions
- Determine the location of the safety lock. Position the lock on the inside of the cabinet, drawer, or door so that the tip of the safety lock will slightly clear the edge.(See Figure 1) Clean and dry the area, remove 3M adhesive backing and hold for at least 45 seconds. Please note it may take up to 24 hours for the adhesive to fully adhere.

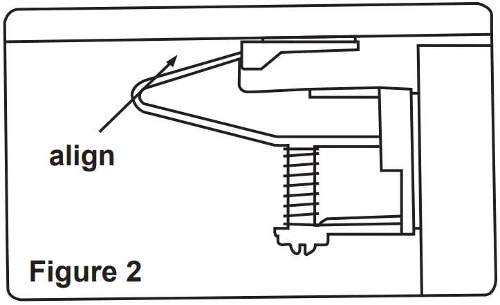
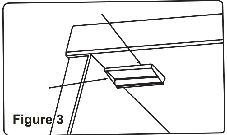
- IF NEEDED use the Catch Kit provided. This will be necessary ONLY if there is no lip on the cabinet, drawer, or door or if the lip is not long enough for the lock to catch. Align the Catch Kit within the inside portion of the cabinet door frame. Before sticking, make sure there is enough room (See Figures 2,3,4)


3. To open, simply pull the cabinet, drawer, or door, while simultaneously pushing down the spring of the lock. When installed correctly, the tip of the lock will catch the lip or the Catch Kit, keeping it secure.(See Figure 5)
Improvement: It’s no need to take off the safety lock when it’s done using. The lever could hold the lockdown and there is no need to press the spring every time when opening the cabinet, drawer, or door. It could be always ready for the second use and causes no damage to the furniture.




3. To open, simply pull the cabinet, drawer, or door, while simultaneously pushing down the spring of the lock. When installed correctly, the tip of the lock will catch the lip or the Catch Kit, keeping it secure.(See Figure 5)
Improvement: It’s no need to take off the safety lock when it’s done using. The lever could hold the lockdown and there is no need to press the spring every time when opening the cabinet, drawer, or door. It could be always ready for the second use and causes no damage to the furniture.


















