832367 – ADRIANA
Instruction Manual
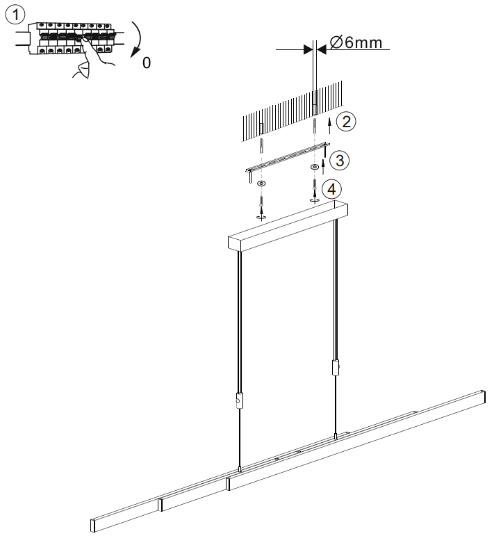
2568-95 Adriana LED Pendant Light
This product contains light sources of energy efficiency class <E>.
| LED | 13 W 1.560 lm |
| 45 W 2.085 lm | |
| t | 25.000 h |
| Tk | 2.700-5.000 K |
![]() | 15.000 x < 0,5 s |

230V / 50Hz~
LED 3x LED-Board 24V DC/13W



Paul Neuhaus GmbH Olakenweg 36 D-59457 Werl
+49(0)2922 9721 9290
[email protected]
www.paul-neuhaus.de




















