POTTER F5000 Motorised Infrared Optical Beam Smoke Detector

General Information
- Ensure clear line of sight from Detector to Reflector
- Mount on solid surfaces (structural wall or girder)

- All installations should comply with local regulations
- For detectors approved to UL268 refer to NFPA72 for installation guidance. In such installations, it is advised that the maximum distance of Detector and Reflector from the ceiling must be 10% of the distance between floor and ceiling
- For installations covering less than 18m, the Short Range Mask must be used
- Position beam as high as possible, but with a minimum distance of 0.5m from Detector and Reflector to ceiling.
- Mount Detector and Reflector directly opposite each other
- Do NOT position Detector where personnel or objects can enter the beam path
- Do NOT position 2 Detectors facing each other
- Detector LED indicator must face downward
- Do NOT install the Detector or Reflector in environments where condensation or icing are likely to occur
Fitting the Product
Wiring Diagrams
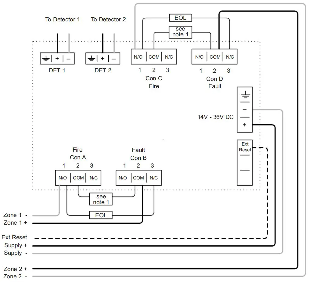
Wiring two Detectors onto two Zones:
- Note 1: This component is the fire resistor. Its value is specified by the Fire Control Panel manufacturer. For U.S. installations it is typically a short circuit
- ALWAYS use a separate 2-core cable for each Detector head
- CAUTION: For system monitoring – Do not use looped wire under any terminals. Break wire run to provide monitoring of connections
- Components not supplied:
- End Of Line (‘EOL’) component – supplied by Fire Control Panel manufacturer
- Fire Resistor
- After installation, check operation of Fire and Fault connection on Fire Panel
- Apply a voltage of 5V to 40V to ‘Ext Reset’ contact for at least 2 seconds to clear a latched fire condition
Relay connections for wiring the two Detectors of one Controller onto one Zone:
For wiring to other types of Fire Control Panel, or to wire multiple Controllers onto one Zone, refer to additional installation instructions supplied with the product
Apply power
NOTE: One System Controller can be used to control and monitor up to two Detector heads. The ‘#’ symbol in this guide is used to represent the number of the Detector currently selected (1 or 2).
- Commissioned system:
- Detectors have been found but the selected Detector is not aligned:
- Detector is connected but not ‘Found’ (normal on uncommissioned system):
- Communications fault, or no Detector connected:

Enter Pass Code to Access Engineering Menu
Press
for Pass Code screen:
- Default Pass Code: 1 2 3 4
Change digit
Move between digits
Accept- An incorrect Pass Code will return the display to the Pass Code entry screen
- Three incorrect attempts will lock access for three minutes
Find Detectors
Find’ is automatically displayed the first time this process is run. ‘Find’ can also be accessed in the System Controller settings menu. Find must be performed when adding or removing a detector to an already ‘Found’ system.
- Press
to enable ‘Found’ Detectors at any point during 60s countdown - Any unused Detector channels are switched off
- Press
to re-scan if number is incorrect
Select Power Mode
- In ‘Hi A’ mode (default), during normal operation the system will take 5.5mA if one Detector is connected or 8mA if two Detectors are connected. During Laser targeting, Auto, Hand and Home functions, the system will take 36mA.
- In ‘Lo A’ mode (selected via the System Controller settings menu), the system will take 5.5mA or 8mA in ALL modes of operation. The Detector will move more slowly during Align, Laser targeting and Home, so it is recommended to leave the system set to ‘Hi A’ if the current is available.

Select Detector
- Select Detector to be accessed
- All Detectors need to be aligned separately
- Steps 9 to12 explain how to align individual Detectors

Select Distance between Detector and Reflector
- Select 8-50m (default) or 100m (Set for each Detector)

LASER Targeting
The system will signal Fault while in this mode
The LASER is used to align the Detector with the Reflector. It is an approximate alignment tool only. After Auto-Align the LASER will not necessarily be pointing on the Reflector
- Use

to move the LASER as close to the Reflector as possible - One press of an arrow key results in one movement of the Detector head
- Press
or
to turn off the LASER and return to the Settings menu - Refer to Additional Detector Information for troubleshooting if LASER is not visible

‘Auto’ Alignment
- Select ‘Auto’ to automatically align the infrared beam
- Signal Strength will be shown during Alignment
- If the LASER is turned on it will not necessarily be pointing on the Reflector after ‘Auto’ is run – this is normal
- If ‘Auto’ ends with an error code ‘E- ’, refer to troubleshooting

‘Set’ 0/100 (Calibrate)
- When ‘Set’ is displayed press
whilst the Reflector is still uncovered - When ‘S-00’ is displayed, cover the Reflector with a non- reflective material and leave covered, then press

- When ‘S-01’ is displayed, uncover the Reflector and leave uncovered, then press

- Repeat Steps 8 to 12 for any other Detectors found during the ‘Find’ process

System is Aligned
- Green LED on Detector will flash every 10 seconds, and Signal Strength should be between 99% and 101%
- Default values: 35% Fire Threshold, 10 second delay to Fire and Fault, Non-Latching mode
Manual Fire and Fault Tests
After installation or cleaning, it is recommended that a manual Fire and Fault test is performed:
Fire Test: Cover the Reflector slowly so that it takes longer than 5 seconds to cover. The System Controller will signal Fire to the Fire Control Panel after the delay to fire has expired (10s default)
Fault Test: Cover the Reflector completely within 2 seconds. The System Controller will signal Fault back to the Fire Control Panel after the delay to fault has expired (10s default)
Remote Fire Test
It is possible to perform a Fire Test from the System Controller, to test the wiring to the Fire Control Panel
NOTE: The Remote Fire Test is acceptable for Fire Authority Acceptance and Routine Maintenance per UL268-5
Detector Fire LED Test
Detector will signal Fire, System Controller will stay Normal.
Press to exit without performing the test
Relay/Controller Wiring Test
System Controller signals ‘Fire’ to Fire Control Panel Press or to exit
Fire Threshold
This setting is the threshold at which the Detector will detect a fire Default factory setting=35% (Set for each Detector)
- Sensitivity can be adjusted in 1% steps by pressing up or down keys
- Press to accept setting
UL268 Fire Threshold Ranges:
| Distance between Detector and Reflector | Fire Threshold Range |
| 8—10m (26.2—32.8ft) | 10—18% |
| 10—15m (32.8—49.2ft) | 15—25% |
| 15—22m (49.2—72.2ft) | 15—35% |
| 22—40m (72.2—131.2ft) | 25—50% |
| 40—60m (131.2—196.8ft) | 35—50% |
| 60—100m (196.8—328.1ft) | 50% |
EN Approved Sensitivity Ranges:
Complies with EN54-12 for sensitivity levels between 25% and 35% with a maximum delay to fire of 20 seconds
Fire/Fault Delay
These settings are the delays that the System Controller uses before signalling a FIRE or FAULT condition respectively to the Fire Control Panel. Default factory setting=10 seconds
(Set for each Detector)
Latching/Non-Latching Mode
In Latching Mode the system will stay in Fire condition after the fire clears. In Non-Latching Mode the system will automatically return to normal condition after the fire clears
(Set for each Detector)
To clear a latched fire, apply 5-40V to the External Reset terminal, enter the passcode, or power cycle for 20s
Cleaning the System
The system will automatically compensate for dust build-up by changing the Compensation Level.
However, it is recommended that the Detector lenses and the Reflector are cleaned periodically with a soft lint-free cloth.
If the Compensation Level for a particular Detector remains above 130 for several days, this indicates that cleaning should take place on that Detector.
The system should be isolated from the Fire Control Panel before cleaning takes place. After cleaning, verify that the system is operating normally:
If the Signal Strength is between 92% and 108%
- leave the system to compensate back to 100% (this should take no more than 12 hours)
If the Signal Strength is above 108% - reduce Compensation Level until Signal Strength is 92—108%, and wait for system to compensate back to 100%
If the Signal Strength is below 92% - perform LASER Targeting, Auto-Align, and Set.
How to change Compensation Level:
Troubleshooting
| E-00 | AIM not recognised | • Refer to manufacturer for technical assistance |
|
E-01 | Detector Communications Error | • Check wiring between System Controller and Detector (Voltage to Detector should be 11— 13V) |
|
E-02 | Detector is connected but not ‘Found’ | • Follow ‘Find’ process and align if necessary |
| E-03 | Compensation limit reached | • Clean and realign system |
| E-04 | Detector missed too many readings | • Check voltage to Controller. • Check voltage to Detector is >11V |
| E-05 | Detector is not aligned | • Follow alignment procedure |
| E-06 | Rapid Obscuration Fault | • Ensure clear line of sight from Detector to Reflector |
|
E-07 | Signal Too High Fault | • Ensure clear line of sight from Detector to Reflector • Ensure there is no strong light on Detector |
| E-08 | Compensation Level Not Zero during ‘SET’ | • Re-align Detector using Auto-Align |
|
E-09 |
Signal Strength Out of Range when ‘SET’ selected |
• Ensure Reflector uncovered when ‘SET’ selected • Ensure clear line of sight from Detector to Reflector for a radius of 0.5m • Ensure correct distance has been selected • Ensure correct Reflectors have been used • Realign Detector |
|
E-10 |
Reflector Not Found during Auto-Align | • Ensure clear line of sight from Detector to Reflector for a radius of 0.5m • Ensure correct distance has been selected • Ensure correct Reflectors have been used • Realign Detector |
|
E-11 |
Auto-Align Failed | • Ensure clear line of sight from Detector to Reflector for a radius of 0.5m • Ensure correct distance has been selected • Ensure correct Reflectors have been used • Realign Detector |
|
E-12 | Cannot Zero During ‘S-00’ in ‘Set’ Signal did not decrease when ‘S-00’ selected | • Ensure Reflector was completely covered with a non-reflective material • Re-align Detector using Auto-Align |
|
E-13 | No Signal During ‘S-01’ in ‘Set’ Signal did not increase when ‘S-01’ selected | • Ensure Reflector was uncovered when ‘S-01’ was selected |
|
E-14 | ‘Centre’ Stage of Alignment Failed Detector has aligned on something other than the Reflector | • Ensure clear line of sight from Detector to Reflector for a radius of 0.5m |
|
E-21 |
Power too low fault |
• Check power supply to Controller |
|
E-24 | Detector not compatible | • Refer to manufacturer for technical assistance |
|
E-26 |
Internal controller fault |
• Refer to manufacturer for technical assistance |
Technical Specifications
| Parameter | Value |
| Operating Voltage | 14—36V DC |
| Operating Current – Normal Operation (including fire or fault activated) | 5.5mA – 1 Detector 8mA – 2 Detectors |
| Operating Current – Alignment modes – HiA Alignment modes – LoA | 36mA 5.5mA / 8mA |
| Fire Threshold Range | 0.45—3.98 dB 10—60% |
| Delay to Fire | 2—30 s |
| Delay to Fault | 2—30 s |
| Operating Distance between Detector and Reflector | 8—100 m |
| Maximum angular misalignment of Detector | ± 0.3 Deg |
| Maximum angular misalignment of Reflector | ± 5 Deg |
| Maximum angular movement of Detector head | ± 3.5 Deg |
| Optical wavelength | 850 nm |
| Rapid Obscuration Fault threshold | 87% |
| Operating Temperature (UL Approved) | 0—+37.8 Deg C |
| Operating Temperature (EN54-12 Approved) | -10—+55 Deg C |
| Operating Temperature (FM Approved) | -20—+55 Deg C |
| Storage temperature | -40—+85 Deg C |
| Relative Humidity (non condensing) | 93% |
| IP Rating | IP54 |
| Relay Contact Rating | VFCO, 2A@30VDC Resistive |
| Maximum Cable Length (Controller to Detector) | 100 m |
| Cable Gauge | 24—14 AWG 0.5—1.6 mm |
| Housing Flammability rating | UL94 V0 |
| Dimensions | Width, mm (in) | Height, mm (in) | Depth, mm (in) | Weight, kg (lb) |
| System Controller, including base | 202 (8.0) | 230 (9.1) | 81 (3.2) | 1.0 (2.2) |
| Detector, including ‘easy fit’ base | 135 (5.3) | 135 (5.3) | 135 (5.3) | 0.5 (1.1) |
| Reflector (Single) | 100 (3.9) | 100 (3.9) | 10 (0.4) | 0.1 (0.2) |
Document Number: 0044-033-05-EN
firealarmresources.com



























