
K 770 Dry Cut K 770 Dry Cut Hilgard
User Manual
K 770 Dry Cut, K 770 Dry Cut Oil Guard![]()
Introduction
Product description
This HUSQVARNA power cutter is a portable handheld cut-off machine powered by a two-stroke combustion engine. The product has a blade guard, a blade guard extender and a dust shield that collect particles and sparks and move them away from the operator. The product operates with an internal dust extractor and a dust bag.
Intended use
The product is used to cut hard materials as concrete, masonry and stone. Do not use the product for other tasks. The product must only be used by professional operators with experience.
Note: National regulations can set limits to the operation of the product.
Product overview K 770 Dry Cut, K 770 Dry Cut Oil Guard

| 1. Cutting blade (not supplied) 2. Rotation direction 3. Blade guard 4. Front handle 5. Warning decal 6. Air filter cover 7. Starting instruction decal 8. Choke control with start throttle lock 9. Throttle trigger lockout 10. Rear handle 11. Throttle trigger 12. Stop switch 13. Disconnection function for OilGuard 14. Starter handle 15. Starter housing 16. Muffler 17. Cutting equipment decal 18. Blade guard extender | 19. Dust shield 20. Cutting direction 21. Flange, spindle, bushing 22. Operator’s manual 23. Combination spanner 24. Dust bag 25. Extension hose (2 m) 26. Hose 27. Rear belt guard 28. Fan housing 29. Type plate 30. Belt tensioner screw 31. Front belt guard 32. Lock screws for belt adjustment 33. Connection bend 34. Decompression valve 35. Air purge bulb 36. Fuel cap |
Symbols on the product
![]() | WARNING! The product can be a dangerous tool if used incorrectly or carelessly, which can cause serious or fatal injury to the operator or others. |
| Read the operator’s manual carefully and make sure that you understand the instructions before you use this product. |
| Always use approved personal protective equipment. Refer to Personal protective equipment on page 41. |
| This product is in accordance with applicable EU directives. |
| WARNING! Dust forms when cutting, this can cause injuries if inhaled. Use an approved breathing mask. Avoid inhaling exhaust fumes. Always provide for good ventilation. |
| WARNING! Kickbacks can be sudden, rapid and violent and can cause life threatening injuries. Read and understand the instructions in the manual before using the product. Refer to Kickback on page 44. |
| WARNING! Sparks from the cutting blade can cause fire in combustible materials such as: petrol (gas), wood, clothes, dry grass, etc. |
![]() | WARNING! Ensure the blades are not cracked or damaged in any other way. |
| WARNING! Do not use circular saw blades. |
| WARNING! Do not use bonded abrasive blades. |
| WARNING! For dry cutting only. |
| Use diamond blades only. |
| Choke |
| Air purge bulb |
| Decompression valve |
| Starter rope handle |
| Use a fuel mixture of gasoline and oil. |
| Noise emission to the environment label as per EU and UK directives and regulations. The guaranteed sound power level of the product is specified in Technical data on page 67 and on the label. |
Cutting equipment decal

A: Cutting blade diameter.
B: Maximum speed output.
C: Maximum blade thickness.
D: Bushing dimension.
Note: Other symbols or decals on the product refer to certification requirements for some markets.
Type plate

Row 1: Brand, Model (X, Y)
Row 2: Serial No. with manufacturing date (Y, W, X):
Year, Week, Sequence No.
Row 3: Product No. (X)
Row 4: Manufacturer
Row 5: Manufacturer address
Rows 6–7: If applicable, EU type approval number or Chinese MEIN number
Euro V Emissions
WARNING: Tampering with the engine voids the EU type-approval of this product.
Product liability
As referred to in the product liability laws, we are not liable for damages that our product causes if:
- the product is incorrectly repaired.
- the product is repaired with parts that are not from the manufacturer or not approved by the manufacturer.
- the product has an accessory that is not from the manufacturer or not approved by the manufacturer.
- the product is not repaired at an approved service center or by an approved authority.
Safety definitions
Warnings, cautions and notes are used to point out specially important parts of the manual.
WARNING: Used if there is a risk of injury or death for the operator or bystanders if the instructions in the manual are not obeyed.
CAUTION: Used if there is a risk of damage to the product, other materials or the adjacent area if the instructions in the manual are not obeyed.
Note: Used to give more information that is necessary in a given situation.
General safety instructions
WARNING: Read the warning instructions that follow before you use the product.
- A power cutter is a dangerous tool if used carelessly or incorrectly and can cause serious injury or death. It is very important that you read and understand the contents of this operator’s manual. It is also recommended that first time operators also obtain practical instruction before using the machine.
- Under no circumstances may the design of the product be modified without the permission of the manufacturer. Do not use a product that appears to have been modified by others and always use original accessories. Non-authorized modifications and/or accessories can result in serious personal injury or the death of the operator or others.
- Keep the product clean. Signs and decals must be fully visible.
- Never allow children or other persons not trained in the use of the product to use or service it.
- Do not let a person use the product unless you make sure that they understand the contents of the manual.
- Long term inhalation of the engine’s exhaust fumes can represent a health risk. When the engine is running the exhaust contains chemicals such as unburned hydrocarbons and carbon monoxide. The content of the exhaust fumes is known to cause respiratory problems, cancer, birth defects or other reproductive harm. Carbon monoxide is colorless and tasteless and is always present in exhaust fumes. The onset of carbon monoxide poisoning is distinguished by a slight dizziness which may or may not be recognized by the victim. A person may collapse and lapse into unconsciousness with no warning if the concentration of carbon monoxide is sufficiently high. Since carbon monoxide is colorless and odorless, its presence can not be detected. Any time exhaust odors are noticed, carbon monoxide is present. Never use a petrol powered power cutter indoors or in trenches more than 1m (3ft) deep or in other areas with poor ventilation. Ensure proper ventilation when working in trenches or other confined areas.
- This product produces an electromagnetic field during operation. This field may under some circumstances interfere with active or passive medical implants. To reduce the risk of serious or fatal injury, we recommend persons with medical implants to consult their physician and the medical implant manufacturer before operating this product.
- The information in this operator’s manual is never a substitute for professional skills and experience. If you get into a situation where you feel unsafe, stop and seek expert advice. Contact your servicing dealer. Do not attempt any task that you feel unsure of!
Safety instructions for assembly
WARNING: Read the warning instructions that follow before you assemble the product.
- Make sure that the engine is off and that the stop switch is in the STOP position.
- Always use protective gloves when you assemble the product.
Safety instructions for operation
WARNING: Read the warning instructions that follow before you use the product.
- Before using a power cutter you must understand the effects of kickback and how to avoid them. Refer to Kickback on page 44 .
- Never use a product that is faulty. Carry out the safety checks, maintenance and service instructions described in this manual. Some maintenance and service measures must be carried out by trained and qualified specialists. Refer to Maintenance on page 58.
- Never use the product if you are fatigued, while under the influence of alcohol or drugs, medication or anything that could affect your vision, alertness, coordination or judgement.
- Do not start the product without the belt and the belt guard installed. The clutch can become loose and cause injury.
- Sparks from the cutting blade can cause fire in flammable materials such as gasoline, gas, wood, clothes and dry grass.
- Use a cutting blade only for material that it is made to cut.
- Do not cut asbestos material.
Work area safety
WARNING: Read the warning instructions that follow before you use the product.
- The safety distance for the power cutter is 15 m (50 ft.). You are responsible to ensure that animals and onlookers are not within the working area. Do not start cutting until the working area is clear and you are standing firmly.
- Observe your surroundings to ensure that nothing can affect your control of the product.
- Ensure that no persons or objects can come into contact with the cutting equipment or be hit by parts thrown by the blade.
- Do not use the product in bad weather, such as dense fog, heavy rain, strong wind, intense cold, etc. Working in bad weather is tiring and can lead to dangerous conditions, such as slippery surfaces.
- Never start to work with the product before the working area is clear and you have a firm foothold. Look out for any obstacles with unexpected movement.
- Ensure when cutting that no material can become loose and fall, causing injury to the operator. Take great care when working on sloping ground.
- Ensure that the working area is sufficiently illuminated to create a safe working environment.
- Make sure that no pipes or electrical cables are routed in the working area or in the material to be cut.
- If cutting into a container (drum, pipe, or other container) you must first make sure it does not contain flammable or other volatile material.
Personal protective equipment
WARNING: Read the warning instructions that follow before you use the product.
- Always use approved personal protective equipment during operation. Personal protective equipment cannot eliminate the risk of injury but it will reduce the degree of injury if an accident does happen. Ask your servicing dealer for help in choosing the right equipment.
- Use an approved protective helmet.
- Use approved hearing protection. Long-term exposure to noise can result in permanent hearing impairment. Be aware of warning signals or shouts when you are wearing hearing protection. Always remove your hearing protection as soon as the engine stops.
- Use approved eye protection to decrease the risk of injury from thrown objects. If you use a face shield then you must also wear approved protective goggles. Approved protective goggles must comply with standard ANSI Z87.1 in the USA or EN 166 in EU countries. Visors must comply with standard EN 1731.
- Use heavy duty gloves.
- Use approved respiratory protection. The use of products such as cutters, grinders, drills, that sand or form material can generate dust and vapors which may contain hazardous chemicals. Check the nature of the material you intend to process and use appropriate breathing mask.
- Use tight-fitting, heavy-duty and comfortable clothing that permits full freedom of movement. Cutting generates sparks that can ignite clothing. HUSQVARNA recommends that you wear flame-retardant cotton or heavy denim. Do not wear clothing made of material such as nylon, polyester or rayon. If ignited such material can melt and cling to the skin. Do not wear shorts.
- Use boots with steel toe-cap and non-slip sole.
- Always keep a first aid kit near.

- Sparks can come from the muffler or the cutting blade. Always have a fire extinguishing available.
Safety devices on the product
WARNING: Read the warning instructions that follow before you use the product.
- Never use a product that has faulty safety equipment! If your product fails any checks contact your service agent to get it repaired.
- Do not use the product if protective plates, protective covers, safety switches or other protective devices are not attached or are defective.
Throttle trigger lockout
The throttle trigger lockout prevents accidental operation of the throttle trigger. If you put your hand around the handle and push the throttle trigger lockout (A), it releases the throttle trigger (B). If you release the handle, the throttle trigger and the throttle trigger lockout move back to their initial positions. This function locks the throttle trigger at idle speed.
To examine the throttle trigger lockout
- Make sure that the throttle trigger is locked at the idle position when the throttle lockout is released.

- Push the throttle lockout and make sure it goes back when you release it.

- Make sure that the throttle trigger and throttle lockout move freely and that the return springs work correctly.

- Start the product and apply full throttle.
- Release the throttle control and make sure that the cutting blade stops and stays stationary. If the cutting blade rotates at idle position, you must adjust the idle speed. Refer to To adjust the idle speed on page 63.

To examine the stop switch
- Start the engine.
- Push the start/stop switch to the STOP position. The engine must stop.

Blade guard, blade guard extender and dust shield
WARNING: Make sure that the blade guard, the blade guard extender and the dust shield are correctly attached before you start the product. Do not use the product if the blade guard, the blade guard extender or the dust shield are missing, cracked or defective.
- The blade guard, the blade guard extender and the dust shield keep dust away from the operator and prevent injury if the cutting blade breaks. The blade guard extender and the dust shield are spring loaded and must always move freely and must always return instantly by spring force.
- Do not use the product if the blade guard extender or the dust shield are clamped or tied into the retracted position.

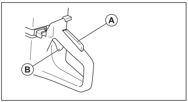
To examine the cutting blade, the blade guard and the blade guard extender
- Make sure that the cutting blade (B) is attached correctly and that it is not damaged.

- Make sure that the blade guard (A), the blade guard extender (D) and the dust shield (C) do not have cracks or other damage.
- Make sure that the dust shield can be pushed in and return instantly by spring force.

- Make sure that the blade guard can be pushed in and return instantly by spring force.

- Replace the cutting blade and the blade guard if they are damaged. Replace the blade guard extender, the dust shield or their springs if they are defected and not returning instantly when pushed in.
Vibration damping system
WARNING: Overexposure to vibration can lead to circulatory damage or nerve damage in people who have impaired circulation. Contact your doctor if you experience symptoms of overexposure to vibration. Such symptoms include numbness, loss of feeling, tingling, pricking, pain, loss of strength, changes in skin color or condition. These symptoms normally appear in the fingers, hands or wrists. These symptoms may be increased in cold temperatures.
Your product is equipped with a vibration damping system that is designed to minimize vibration and make operation easier. The product′s vibration damping system reduces the transfer of vibration between the engine unit/cutting equipment and the product′s handle unit.
Cutting granite or hard concrete creates more vibration than cutting soft concrete. Cutting with cutting equipment that is blunt or faulty (wrong type or badly sharpened) will increase the vibration level.
To do a check of the vibration damping system
WARNING: Make sure that the engine is off and that the stop switch is in STOP position.
- Make sure that there are no cracks or deformation on the vibration damping units. Replace the vibration damping units if they are damaged.
- Make sure that the vibration damping units are correctly attached to the engine unit and handle unit.
Muffler
The muffler keeps the noise levels to a minimum and sends the exhaust fumes away from the operator.
Do not use the product if the muffler is missing or defective. A defective muffler increases the noise level and the risk of fire.
WARNING: The muffler gets very hot during and after use. This also applies during idling. Be aware of the fire hazard, especially when working near flammable substances and/or vapors.
To examine the muffler
- Make sure that the muffler is not damaged.

- Make sure that the muffler is correctly attached.
Kickback
WARNING: Kickbacks are sudden and can be very violent. The power cutter can be thrown up and back towards the user in a rotating motion causing serious or even fatal injury. It is vital to understand what causes kickback and how to avoid it before using the product.
Kickback is the sudden upward motion that can occur if the blade is pinched or stalled in the kickback zone. Most kickbacks are small and pose little danger. However a kickback can also be very violent and throw the power cutter up and back towards the user in a rotating motion causing serious or even fatal injury.
Reactive force
A reactive force is always present when cutting. The force pulls the product in the opposite direction to the blade rotation. Most of the time this force is insignificant. If the blade is pinched or stalled the reactive force will be strong and you might not be able to control the power cutter.
Never move the product when the cutting equipment is rotating. Gyroscopic forces can obstruct the intended movement
Kickback zone
Never use the kickback zone of the blade for cutting. If the blade is pinched or stalled in the kickback zone, the reactive force will push the power cutter up and back towards the user in a rotating motion causing serious or even fatal injury.
Rotational kickback
A rotational kickback occurs when the cutting blade does not move freely in the kickback zone.
Climbing kickback
If the kickback zone is used for cutting the reactive force drives the blade to climb up in the cut. Do not use the kickback zone. Use the lower quadrant of the blade to
avoid climbing kickback.
Pinching kickback
Pinching is when the cut closes and pinches the blade. If the blade is pinched or stalled the reactive force will be strong and you might not be able to control the power
cutter.
If the blade is pinched or stalled in the kickback zone, the reactive force will push the power cutter up and back towards the user in a rotating motion causing serious or even fatal injury. Be alert for potential movement of the work piece. If the work piece is not properly supported and shifts as you cut, it might pinch the blade and cause
a kick back.
To cut in pipes
WARNING: If the blade is pinched in the kickback zone it will cause a severe kickback.
Special care should be taken when cutting in pipes. If the pipe is not properly supported and the cut kept open through out the cutting, the blade might be pinched. Be especially alert when cutting a pipe with a belled end or a pipe in a trench that, if not properly supported, may sag and pinch the blade.
If the pipe is allowed to sag and close the cut, the blade will be pinched in the kick back zone and a severe kick back might develop. If the pipe is properly supported the end of the pipe will move downward, the cut will open and no pinching will occur.
- Secure the pipe so it does not move or roll during cutting.

- Cut section “I” of the pipe.

- Ensure that the cut opens to avoid pinching.

- Move to side II and cut from section I to bottom of the pipe.
- Move to side III and cut the remaining part of the pipe ending at the bottom.
To prevent a kickback
WARNING: Avoid situations where there is a risk of kickback. Take care when using your power cutter and make sure that the blade is never pinched in the kickback zone.
WARNING: Be careful when you put the blade in an existing cut.
WARNING: Make sure that the work piece cannot move during a cutting operation.
WARNING: Only you and proper working technique can eliminate kickback and its dangers.
- Always support the work of piece so that the cut can keep open when cutting through. When the cut is open there is no kickback. If the cut is closed and pinches the blade, there is a risk of kickback.

Fuel safety
WARNING: Read the warning instructions that follow before you use the product.
- Make sure there is plenty of ventilation when refueling or mixing fuel (petrol and two-stroke oil).
- Take care when handling fuel. Fuel and fuel vapor are highly flammable. Be aware of the risks of fire, explosion and those associated with inhalation.
- Do not smoke and do not place any hot objects in the vicinity of fuel.
- Always stop the engine and let it cool for a few minutes before refueling.
- When refueling, open the fuel cap slowly so that any excess pressure is released gently.
- Tighten the fuel cap carefully after refueling. If the cap is not properly tightened, the cap might vibrate lose and fuel may escape from the fuel tank creating a fire hazard.
- Never refuel the machine while the engine is running.
- Always move the product at least 3 m (10 ft.) away from the refueling area and source before starting.

After refueling, there are some situations where you must never start the product:
- If you have spilled fuel on the product. Wipe off the spillage and allow remaining fuel to evaporate.
- If you have spilled fuel on yourself or on your clothes. Change your clothes and wash any part of your body that has come in contact with fuel. Use soap and water.
- If the product leaks fuel. Regularly do a check for leaks from the fuel cap and fuel lines.
Safety instructions for maintenance
WARNING: Read the warning instructions that follow before you use the product.
- Make sure that the engine is off and that the stop switch is in STOP position.
- Use personal protective equipment. Refer to Personal protective equipment on page 41.
- If the maintenance is not done correctly and regularly, the risk of injury and damage to the product increases.
- Only do the maintenance as given in this operator’s manual. Let an approved service center do all other servicing.
- Let an approved HUSQVARNA service agent do servicing on the product regularly.
- Replace damaged, worn or broken parts.
- Always use original accessories.
Assembly
Introduction
WARNING: Read and understand the safety chapter before you assemble the product.
Cutting blades
WARNING: In order to reduce the risk of injury or fire do not use bonded abrasive cutting blades. Use only recommended diamond cutting blades in combination with provided flange.
WARNING: A cutting blade may burst and cause injury to the operator.
WARNING: The cutting blade manufacturer issues warnings and recommendations for the use and proper care of the cutting blade. Those warnings come with the cutting blade. Read and follow all instructions from the cutting blade manufacturer.
WARNING: A cutting blade should be checked before it is assembled on the saw and frequently during use. Look for cracks, lost segments (diamond blades) or pieces broken off. Do not use a damaged cutting blade.
HUSQVARNA cutting blades are high speed cutting blades approved for hand held power cutters.
- A cutting blade should be checked before it is assembled on the saw and frequently during use. Look for cracks, lost segments (diamond blades) or pieces broken off. Do not use a damaged cutting blade.
- Read and obey the instructions that come with the cutting blade.
- High-quality blades are often most economical.
- Lower quality blades often have inferior cutting capacity and a shorter service life, which results in a higher cost in relation to the quantity of material that is cut.
- Make sure that the right bushing is used for the cutting blade to be fitted on the product. Refer to Checking the arbor bushing on page 49.
- Test the integrity of each new cutting blade by running it at full throttle for about 1 minute.
Correct cutting blades
WARNING: Read and follow the warning instructions that follow before you use the product.
- Never use a cutting blade for any other materials than what it was intended to cut.
- Use only a diamond blade made for dry cutting.
- Never use toothed blades such as wood cutting blades, circular toothed blades, carbide tipped blades, etc. The risk of kickback is significantly increased and tips can be torn off and thrown at high speed. Carelessness can result in serious personal injury or even death.
- Do not use a diamond blade with a lower speed rating than that of the power cutter. Use only diamond blades that are in compliance with national or regional standards, for example EN13236 or ANSI B7.1 .
- The cutting blade must be approved for the same or higher speed rating than that of the product. The speed rating is specified on the blade guard.
- Many cutting blades that can be attached to this product are made for stationary saws. The speed rating of those cutting blades is too low for this product.
- Select a cutting blade which center hole dimension is correct with the bushing installed on the machine.
Blade vibration
- The blade can become out-of-round and vibrate if an excessive feed pressure is used.
- A lower feed pressure can stop the vibration. Otherwise replace the blade.
Diamond blades
WARNING: Never use a diamond blade to cut plastic material. The heat produced during cutting may melt the plastic and it can stick to the cutting blade and cause a kickback.
WARNING: Diamond blades become very hot when used. An overheated blade is a result of improper use, and may cause deformation of the blade, resulting in damage and injuries.
WARNING: Cutting metal may cause fire and damage to this product or the dust extractor.
Note: Diamond blades are available in several hardness classes.
Note: Sharpen the blade by cutting soft material such as sandstone or brick.
- Always use a sharp diamond blade.
- Diamond blades can become dull when the wrong feeding pressure is used or when cutting certain materials such as heavily reinforced concrete. Working with a dull diamond blade causes overheating, which can result in the diamond segments coming loose.
- Diamond blades consist of a steel core provided with segments that contain industrial diamonds.
- Diamond blades are ideal for masonry, reinforced concrete and other composite materials.
- Diamond blades ensure lower costs per cutting operation, fewer blade changes and a constant cutting depth.
- When using diamond blade make sure that it rotates in the direction indicated by the arrow on the blade.

Diamond blades for dry cutting
- During cutting the friction in the cut causes the diamond blade to be heated up. If the blade is allowed to get too hot this can result in loss of blade tensioning or core cracking.
- Although no water is required for cooling, dry cutting blades must be cooled with air flow around the blades. For this reason dry cutting blades are recommended only for intermittent cutting. Every few seconds of cutting the blade should be allowed to run “free” with no load to allow the air flow around the blade to dissipate the heat.
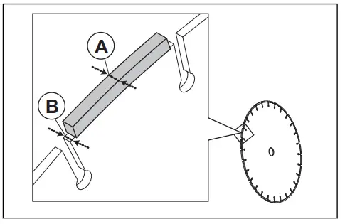
Diamond blade – side clearance
WARNING: Certain cutting situations or poor blades can suffer excessive wear on the side of the segments. Make sure the diamond segment (A) is wider than the blade (B). This is to prevent pinching in the cutting slot and kickback. Refer to Kickback on page 44.
CAUTION: Some cutting situations and worn blades may cause increased wear on the side of the segments. Replace the blade before it is worn out.
To examine the spindle shaft and the flange washers
CAUTION: Use only HUSQVARNA flange washers with a minimum diameter of 60 mm (2.36 in.).
WARNING: Incorrect flange washers can cause the blade to be damaged or come loose. Do not use defective, worn or dirty flange washers. Use only flange washers of the same dimension.
Examine the spindle shaft and the flange washers when the cutting blade is replaced. Replace damaged parts.
- Make sure that the threads on the spindle shaft are not damaged.

- Make sure that the areas of contact on the cutting blade and the flange washers are not damaged.
- Make sure that the flange washers are clean and of the correct dimension.
- Make sure that the flange washers run correctly on the spindle shaft.
Checking the arbor bushing
The arbor bushings are used to fit the machine to the center hole of the cutting blade. The machine is supplied with either a bushing that can be flipped over to fit blades with either 20 mm or 1″ (25,4mm) center holes, or with a fixed 20 mm bushing.
- A decal on the blade guard indicates which bushing has been factory fitted together with appropriate blade specification.

Use only HUSQVARNA arbor bushings.
- Make sure that the arbor bushing has the correct dimension for the cutting blade. The correct dimension is printed on the cutting blade.
To examine the direction of the rotating cutting blade
- Find the arrow on the blade guard that shows the direction in which the cutting blade rotates.
- Find the arrow on the cutting blade that shows the direction in which the cutting blade rotates.

- Make sure that the arrows on the blade guard and the cutting blade show the same direction.
To attach the cutting blade
WARNING: Make sure that the engine is off and that the stop switch is in STOP position.
WARNING: Always use protective gloves when you assemble the product.
- Examine the flange washers and the spindle shaft when the cutting blade is attached. Refer to To examine the spindle shaft and the flange washers on page 49.
- Put the cutting blade on the bushing (A) between the inner flange washer (B) and the flange washer (C).

- Lock the pulley.

- Tighten the bolt to 30 Nm (18.5 fibs).

To sharpen the cutting blade
Note: For the best cutting results, use a sharp cutting blade.
- To sharpen the cutting blade, cut into soft material, such as sandstone or brick.
Dust collection equipment
The product has a blade guard, a blade guard extender, a dust shield, an on-board fan and a dust bag that collect dust during operation.
To assemble the dust bag and vacuum hoses
- Attach the clip on the hose connector to the loop on the handle of the product.

- Push the extension hose onto the open end of the hose connector. Push until the end of the extension hose touches the end stop of the hose connector.

- Push the extension hose into the dust bag inlet. Push until the extension hose has entered the inlet of the check valve and all the way to the bottom end stop of the check valve (about 45 mm in to the check valve).

- Attach the rope to the extension hose near the dust bag inlet.
To examine the dust equipment
- Make sure that the dust equipment is correctly attached and not damaged.
- Make sure that there are no holes on the hose or dust bag.
- Do a test of the dust equipment before you start the cutting operation. The dust bag inflates when the equipment operates correctly.
To remove the dust bag
WARNING: Put on protective glasses, gloves and approved respiratory protection. Do not open the dust bag unless it is in a garbage bag. Dust can spill into the air when the operator removes and cleans the dust bag.
- Loosen the hose clip and the rope.

- Remove the dust bag from the hose.
- Attach the rope to the dust bag to seal it.
To do an inspection of the check valve
- Make sure that the lid of the check valve is fully in the dust bag inlet.
- Make sure that the top of the check valve lid points up. The top of the check valve lid is at the 2 screws.
- Make sure that the bottom of the check valve aligns with the seam of the dust bag inlet.
Note: If the check valve is assembled correctly, the check valve lid opens only when the fan is on. When the fan is off, gravity closes the check valve lid. If the check valve is assembled incorrectly, the check valve can open although the fan is off.
Operation
Introduction
WARNING: Before you operate the product, carefully read and understand the safety chapter and the operation instructions.
Basic working techniques
WARNING: Do not pull the product to one side. This can prevent the free movement of the cutting blade. The cutting blade can break and cause injury to the operator or bystanders.
WARNING: Do not grind with the side of the cutting blade. The cutting blade can break and cause injury to the operator or bystanders. Only use the cutting edge.
WARNING: Make sure that the cutting blade is fitted correctly and does not show signs of damage.
WARNING: Make sure that the blade guard, the blade guard extender and the dust shield are correctly attached before you start the product. The blade guard extender and the dust shield must always move freely. Do not use the product if the blade guard, blade guard extender or dust shield are missing or defective.
WARNING: Before entering an existing slot made by another blade, check that the slot is not thinner than your blade as that may result in binding in the cutting slot and a kickback.
WARNING: A diamond blade becomes very hot during dry cutting. The blade need to be cooled regularly to avoid overheating. During overheating there is a risk of core cracking and blade bursting, or loss of tensioning and wobbling with risk of kickback. To cool the blade by air, allow it to run free at no load.
- Do not cut with the kickback zone of the cutting blade. Refer to Kickback zone on page 45.
- Check that the correct cutting blade is used for the application in question. Refer to instructions Correct cutting blades on page 48.
- Maintain a safe distance from the cutting blade when the engine is running. Do not try to stop a rotating blade with any part of your body.
- Hold the saw with both hands; keep a firm grip with thumbs and fingers encircling the handles. The right hand should be on the rear handle and the left hand on the front handle. All operators, whether right or left handed shall use this grip. Never operate a power cutter holding it with only one hand.

- Stand parallel to the cutting blade. Avoid standing straight behind. In the event of a kickback the saw will move in the plane of the cutting blade.

- Never move the product when the cutting equipment is rotating. Make sure that the blade has come to complete stop before the product is put on the ground.
- Never leave the machine unsupervised with the motor running.
- Keep a good balance and a firm foothold.
- Before entering an existing slot made by another blade, check that the slot is not thinner than your blade as that may result in binding in the cutting slot and a kickback.
- Never cut above shoulder height.
- Never cut from a ladder. Use a platform or scaffold if the cut is above shoulder height. Do not overreach.

- Stand at a comfortable distance from the work piece.
- Make sure that the cutting blade can move freely and are not in contact with anything when the engine is started.
- Always monitor the product when the engine operates.
- If the blade is binding in the cut or when aborting a cut, release the throttle and wait until the blade stops. Do not extract the blade from the cut while the blade is in motion otherwise kickback may occur.
- Apply the cutting blade gently with high rotating speed (full throttle). Maintain full speed until cutting is complete.
- Let the machine work without forcing or pressing the blade. If the blade starts to wobble, reduce the feed. If the blade still wobble, stop cutting and replace the blade.
- Feed down the machine in line with the blade. Do not twist in the cut as side pressure can cause binding in the cutting slot and cause blade damage or kickback.

- During all cutting operations, make sure that the blade guard extender and the dust shield are flush with the work piece.

Push the cutting blade to the full cutting depth at the top/ front of the cut and move the cutting blade slowly down/rear. This decreases the temperature of the cutting blade and helps to collect the dust.
Fuel
This product has a two-stroke engine.
CAUTION: Incorrect type of fuel can result in engine damage. Use a mixture of gasoline and two-stroke oil.
Two-stroke oil
- For best results and performance use HUSQVARNA two-stroke oil.
- If HUSQVARNA two-stroke oil is not available, use a two-stroke oil of good quality for air-cooled engines. Speak to your servicing dealer to select the correct oil.
CAUTION: Do not use two-stroke oil for water-cooled outboard engines, also referred to as outboard oil. Do not use oil for four-stroke engines.
Oil Guard
Note: Applicable only to K 770 Dry Cut installed with Oil Guard (optional) and filled with a mixture of gasoline and HUSQVARNA two-stroke oil.
- Oil Guard is a built-in system that senses an incorrect fuel mixture.
- When the product operates, a detector reads the fuel mixture during 10 seconds. If the correct mixture is used, the product operates at the correct speed. If the incorrect mixture is used, the product decreases the engine speed to 3800 rpm to prevent engine failure.
- To make the product operate at the correct speed, drain the incorrect fuel mixture. See To mix gasoline and two-stroke oil on page 54. Fill the product with the correct fuel mixture.
Oil Guard oil
Use HUSQVARNA Oil Guard oil when you use the Oil Guard system. Oil Guard oil has a special color that is necessary for the Oil Guard system to work correctly.
Premixed fuel
- Use HUSQVARNA premixed alkylate fuel for best performance and extension of the engine life. This fuel contains less harmful chemicals compared to regular fuel, which decreases harmful exhaust fumes. The quantity of remains after combustion is lower with this fuel, which keeps the components of the engine more clean.
To mix gasoline and two-stroke oil
| Gasoline, liter | Two-stroke oil, liter |
| 2% (50:1) | |
| 5 | 0.1 |
| 10 | 0.2 |
| 15 | 0.3 |
| 20 | 0.4 |
| US gallon | US fl. oz. |
| 1 | 2 ½ |
| 2 1/2 | 6 ½ |
| 5 | 12 ⅞ |
CAUTION: Small errors can influence the ratio of the mixture drastically when you mix small quantities of fuel. Measure the quantity of oil carefully and make sure that you get the correct mixture.

- Fill half the quantity of gasoline in a clean container for fuel.
- Add the full quantity of oil.
- Shake the fuel mixture.
- Add the remaining quantity of gasoline to the container.
- Carefully shake the fuel mixture.
CAUTION: Do not mix fuel for more than 1 month at a time.
To fill fuel
CAUTION: Do not use gasoline with an octane number less than 90 RON (87 AKI). It causes damage to the product.
CAUTION: Do not use gasoline with more than 10% ethanol concentration (E10). It causes damage to the product.
Note: Carburetor adjustment is in some conditions necessary when you change the type of fuel.
• Use gasoline with a higher octane number if you frequently use the product at continuously high engine speed.
- Open the fuel tank cap slowly to release the pressure.
- Fill slowly with a fuel can. If you spill fuel, remove it with a cloth and let the remaining fuel dry off.
- Clean the area around the fuel tank cap.
- Tighten the fuel tank cap fully. If the fuel tank cap is not tightened, there is a risk of fire.
- Move the product a minimum of 3 m (10 ft) from the position where you filled the tank before a start.
To start the product with a cold engine
WARNING: Make sure that the cutting blade can rotate freely. It starts to rotate when the engine starts.
- Make sure that the STOP switch is in the left position.

- Pull the choke control fully and get the start throttle position.

- Push the decompression valve to decrease the pressure in the cylinder. The decompression valve goes back to its initial position when the product starts.

- Push the air purge bulb 6 times until it is fully filled with fuel.

- Hold the front handle with your left hand.
- Put your right foot on the lower section of the rear handle to push the product against the ground.

WARNING: Do not wind the starter rope around your hand. - Pull the starter rope slowly with your right hand until you feel a resistance as the starter pawls engage. Then pull continuously and quickly.
CAUTION: Do not pull the starter rope fully and do not let go of the starter rope handle when the starter rope is extended. This can cause damage to the product. - Push the choke control when the engine starts. If the choke is pulled out, the engine will stop after some seconds. If the engine stops, pull the starter rope handle again.

- Push the throttle trigger to disengage the start throttle and set the product at idle speed.
To start the product with a warm engine
WARNING: Make sure that the cutting blade can rotate freely. It starts to rotate when the engine starts.
- Make sure that the STOP switch is in the left position.

- Pull the choke control fully and get the start throttle position.

- Push the decompression valve to decrease the pressure in the cylinder. The decompression valve goes back to its initial position when the product starts.

- Push the choke control to disable the choke. The start throttle stays in position.

- Hold the front handle with your left hand.
- Put your right foot on the lower section of the rear handle to push the product against the ground.

WARNING: Do not wind the starter rope around your hand. - Pull the starter rope slowly until you feel a resistance as the starter pawls engage. Then pull continuously and quickly.
CAUTION: Do not pull the starter rope fully and do not let go of the starter rope handle when the starter rope is extended. This can cause damage to the product. - Push the throttle trigger to disengage the start throttle and set the product at idle speed.
To stop the product
WARNING: The cutting blade continues to rotate up to a minute after the motor stops (known as blade coasting). Make sure that the cutting blade can rotate freely until it completely stops. Carelessness can cause serious personal injury.
• Move the STOP switch to the right to stop the engine.
To use a dust bag
There are 2 types of dust bags for this product:
• Dust bags that you use one time and discard when they are full.
• Dust bags that you remove the dust from and use again.
- Examine the dust equipment. Refer to To examine the dust equipment on page 51.
- Make sure that the dust bag inlet is at a lower position than the product during operation.

- Make sure that the dust bag does not tilt. Make sure that the dust bag inlet is as near the ground as possible.
To remove dust from the dust bag
Note: Applicable only for dust bags that can be used again.
WARNING: Put on protective glasses, gloves and approved respiratory protection. Do not open the dust bag unless it is in a garbage bag. Dust can spill into the air when the operator removes and cleans the dust bag. Dust can spill out in the air when the operator removes and cleans the dust bag.
- Put the dust bag in a garbage bag.

- Open the zipper of the dust bag.
- Put the dust bag fully into the garbage bag.

- Hold and shake the dust bag until it is empty.
- If necessary, wash the empty dust bag according to local regulations.
To discard the dust bag
Note: Applicable only for dust bags that are discarded when they are full.
- Use the ropes at the inlet to seal the dust bag.
- Discard the dust bag. Refer to local regulations.
Maintenance
Maintenance schedule
The maintenance schedule shows the necessary maintenance of the product. The intervals are calculated on daily use of the product.
| Daily | Weekly | Monthly | Yearly | |
| Clean | External cleaning | Spark plug | ||
| Cold air intake | Fuel tank | |||
| Replace | Fuel filter | |||
| Function inspect- lion | General inspection | Vibration damping sys- tem* | Fuel system | |
| Throttle lockout* | Muffler* | Air filter | ||
| Stop switch* | Drive belt | Clutch | ||
| Blade guard, blade guard extender and dust shield* | Carburetor | |||
| Cutting blade* | Starter housing | |||
| Dust equipment** |
* Refer to Safety devices on the product on page 41.
** Refer to Dust collection equipment on page 51.
To clean externally
- Flush the product externally with clean water after each day of operation. If it is necessary, use a brush.
To clean the cold air intake
Note: A dirty or blocked air intake makes the product too hot. This can cause damage to the piston and cylinder.
- Clean the cold air intake if it is necessary.

To examine the spark plug
Note: Always use the recommended spark plug type.
Use of the incorrect spark plug can cause damage to the piston and cylinder. For recommended spark plug refer to Technical data on page 67.
Oil particles on the spark plug can occur if an incorrect fuel mixture or too much oil is used. A dirty air filter can also cause oil particles on the spark plug. Small particles on the spark plug electrodes can cause problems to start and operate the product. Always examine the spark plug if the product is low on power, if it does not start easily or if it runs unsatisfactorily at idle speed.
- Make sure that the spark plug cap and ignition are not damaged to prevent the risk of electrical shock .
- Clean the spark plug if it is dirty.
- Do a check that the electrode gap is 0.5 mm. If it is necessary, replace the spark plug.

To do a general inspection
• Make sure that all nuts and screws on the product are tightened correctly.
To replace the drive belt
- Loosen the 3 nuts on the front drive belt cover. Loosen the drive belt tension with the adjuster screw.

- Remove the screw and the nuts. Remove the front belt guard.

- Remove the 3 screws on the rear belt guard. Remove the belt guard.

- Remove the 7 screws on the fan housing fully and remove the fan housing and the top section of the connection bend.

- Turn the fan until you see the 2 screws. Remove the 2 screws.
- Remove the belt from the forward pulley. Remove the fan.

- Remove the drive belt.
- Install the new drive belt.

- Make sure that the drive belt is put in correct position.

- Install the fan, the 2 belt guards, the fan housing and the top section of the connection bend.
- Adjust the tension on the drive belt. Refer to To adjust the tension of the drive belt on page 60.
To adjust the tension of the drive belt
- Loosen the bolts.

- Turn the adjustment screw (B) until the adjustment nut (A) is opposite the mark on the cover.

- Tighten the bolts.

The illustration shows the correct tension. The adjustment nut is opposite the mark on the cover.
Starter housing
WARNING: Always be careful and always use eye protection when you replace the recoil spring or the starter rope. There is tension in the recoil spring when it is wound in the starter housing. The recoil spring can eject and cause injury.
To remove the starter housing
- Loosen the 4 screws on the starter housing.
- Remove the starter housing.
To replace a damaged starter rope
- Hold the starter rope pulley with your thumb. Pull the starter rope approximately 30 cm and put it in the cut-out of the starter pulley.

- Let the rope pulley rotate slowly in the opposite direction to release the spring tension.
- Remove the remaining starter rope.
- Do a check that the recoil spring operates correctly.
- Put the new starter rope through the hole in the starter housing and in the rope pulley.

- Attach the starter rope to the rope pulley.
- Tighten the connection fully. Make sure that the free end of the starter rope is as short as possible.
- Attach the end of the starter rope in the starter handle as shown in the illustration.

To adjust the tension of the recoil spring
- Put the rope through the cut-out in the starter pulley. Wind the rope 3 turns clockwise around the center of the starter pulley.

- Pull the starter knob to adjust the tension of the recoil spring.
- Put the rope through the cut-out in the starter pulley. Wind the rope 4 turns clockwise around the center of the starter pulley.
- Pull the starter knob to adjust the tension of the recoil spring.

Note: The starter knob moves into position after the tension is adjusted. - Pull out the starter rope fully and make sure that the recoil spring is not at its end position. Make the starter pulley turn slow with your thumb.
- Make sure that the starter pulley can be turned half a turn or more before the recoil spring stops the movements.
To remove the spring assembly
WARNING: Always use eye protection when you remove the spring assembly. There is a risk for eye injury, especially if a spring is broken.
- Remove the 2 screws on the spring assembly.

- Push the 2 brackets on the snap locks with a screwdriver.
To clean the spring assembly
CAUTION: Do not remove the spring from the assembly.
- Blow the spring with compressed air until it is clean.
- Apply a light oil to the spring.
To attach the spring assembly
• Assemble in the opposite sequence of To remove the spring assembly on page 62.
To install the starter housing
CAUTION: The starter pawls must come into the correct position against the starter pulley sleeve.
- Pull out the starter rope approximately 0.5 m.

- Keep the position of the starter rope and put the starter against the product.
- Slowly release the starter rope until the starter pawls are in the correct position.
- Tighten the 4 screws on the starter.
To examine the carburetor
Note: The carburetor has rigid needles to make sure that the product always receives the correct mixture of fuel and air.
- Examine the air filter. Refer to To examine the air filter on page 63
- If it is necessary, replace the air filter.
- If the engine continues to decrease in power or speed, speak to your HUSQVARNA servicing dealer.
To examine the fuel system
- Make sure that the fuel tank cap and its seal are not damaged.
- Examine the fuel hose. Replace the fuel hose if it is damaged.
To adjust the idle speed
WARNING: If the cutting blade rotates at idle speed, speak to your servicing dealer. Do not use the product until the idle speed is correctly adjusted or repaired.
Note: Recommended idle speed is 2700 rpm.
- Start the engine.
- Examine the idle speed. When the carburetor is correctly adjusted, the cutting blade stops when the engine is at idle speed.
- Use the T screw to adjust the idle speed.
a) Turn the screw clockwise until the cutting blade starts to rotate.
b) Turn the screw counterclockwise until the cutting blade stops to rotate.
Fuel filter
The fuel filter is installed in the fuel tank. The fuel filter prevents contamination of the fuel tank when the fuel tank is filled. The fuel filter must be replaced yearly or more frequently if it is clogged.
CAUTION: Do not clean the fuel filter.
To examine the air filter
CAUTION: Be careful when you remove the air filter. Particles that fall into the carburetor inlet can cause damage.
Examine the air filter if the engine power decreases.
- Loosen the 3 screws on the air filter cover.

- Remove the air filter cover.
- Examine the air filter. If it is necessary, replace the air filter. Refer to To replace the air filter on page 63.
- Replace the air filter cover.
- Tighten the 3 screws.
To replace the air filter
CAUTION: Do not clean the air filter with compressed air. The air filter is made of paper and is easily damaged.
CAUTION: Unhealthy dust can be spread out during filter change. Wear approved respiratory protection. Dispose filters correctly.
Note: Replace the service filter only when it is damaged.
Note: The air filter must not be cleaned or blown clean with compressed air. This will damage the filter.
- Loosen the 3 screws on the air filter cover.
- Remove the air filter cover.

- Loosen the 2 screws on the air filter pulley and
remove it. - Remove the air filter.
- Install the new air filter.
- Replace the air filter pulley.
- Tighten the 2 screws.
- Replace the air filter cover.
- Tighten the 3 screws.
Troubleshooting
Troubleshooting schedule
WARNING: Make sure that the engine is off and the stop switch is in the STOP position before maintenance and troubleshooting, unless the instructions tell you differently.
| Problem | Cause | Possible solutions |
| The product does not start. | The start procedure is done incorrectly. | Refer to To start the product with a cold engine on page 54 and To start the product with a warm engine on page 56. |
| The stop switch in the right (STOP) position. | Make sure that the stop switch (STOP) is in the left position. | |
| There is no fuel in the fuel tank. | Fill with fuel. | |
| The spark plug is defective. | Replace the spark plug. | |
| The clutch is defective. | Speak to your service agent. | |
| The cutting blade rotates at idle speed. | The idle speed is too high. | Adjust the idle speed. |
| The clutch is defective. | Speak to your service agent. | |
| The cutting blade does not rotate when the operator throttles up. | The belt is too loose or defective. | Tighten the belt or replace the belt with a new one. |
| The clutch is defective. | Speak to your service agent. | |
| The cutting blade is installed incorrectly. | Make sure that the cutting blade is correctly installed. | |
| The product has no power when the operator tries to throttle up. | The air filter is clogged. | Examine the air filter. If it is necessary, replace it. |
| The fuel filter is clogged. | Replace the fuel filter. | |
| The fuel tank flow is blocked. | Speak to your service agent. |
| Problem | Cause | Possible solutions |
| The vibration levels are too high. | The cutting blade is installed incorrectly. | Make sure that the cutting blade is correctly installed and that it is not damaged. Refer to Correct cutting blades on page 48. |
| The cutting blade is defective. | Replace the cutting blade and make sure that it is not damaged. | |
| A vibration damping unit is defective. | Speak to your service agent. | |
| The temperature of the product is too high. | The air intake or the flanges that de- crease the temperature is blocked. | Clean the air intake and the flanges that decrease the temperature. |
| The belt moves. | Examine the belt. Adjust the tension. | |
| The clutch is defective. | Always cut at full throttle. | |
| Examine the clutch. Speak to your service agent. | ||
| The engine decreases in power or in speed. | The air filter is clogged. | Examine the carburetor. Refer to To examine the carburetor on page 63 |
| The dust is not collected properly during cutting. | Improper cutting technique | Refer to Basic working techniques on page 52 |
| There is a blockage in the hose, fan or dust bag. | Remove the blockage. Refer to To use a dust bag on page 57or refer to “The fan does not operate” in this schedule. | |
| The blade guard extender and the dust shield do not move freely. The blade guard extender and the dust shield do not move back when the product is removed from the work piece. | The moving parts of the blade guard extender and the dust shield are clogged. | Clean the moving parts. |
| The springs of the blade guard ex- tender and the dust shield do not operate correctly. | Do a check of the springs. Clean the springs. | |
| The fan does not operate. | The fan is blocked by foreign object. | Remove the fan lid and remove the foreign object that blocks the fan. |
| The bearings are defective. | Do a check of the bearings. | |
| The fan belt does not have the cor- rect tension. | Do a check of the fan belt. |
Transportation, storage and disposal
Transportation and storage
- Safely attach the product during transportation to prevent damage and accidents.
- Remove the cutting blade before transportation or storage of the product.
- Keep the product in a locked area to prevent access for children or persons that are not approved.
- Keep the cutting blades in dry, frost free conditions.
- Examine all new and used blades for transport and storage damage before assembly.
- Clean and maintain the product before storage. Refer to Maintenance schedule on page 58.
- Remove the fuel from the fuel tank before long-term storage.
Disposal
- Obey the local recycling requirements and applicable regulations.
- Discard all chemicals, such as engine oil or fuel, at a service center or at an applicable disposal location.
- When the product is no longer in use, send it to a HUSQVARNA dealer or discard it at a recycling location.

Technical data
Technical data
| K 770 Dry Cut, K 770 Dry Cut Oil Guard | |
| Cylinder displacement, cm3 (cu in.) | 74 (4.5) |
| Cylinder bore, mm (in.) | 51 (2) |
| Stroke, mm (in.) | 36 (1.4) |
| Idle speed, rpm | 2700 |
| Wide open throttle, no load, rpm | 9300 (+/- 150) |
| Power, kW (hop) ) @ rpm | 3.7(5.0) @ 9000 |
| Spark plug | NGK BPMR 7A |
| Electrode gap, mm (in.) | 0.5 (0.02) |
| Fuel tank capacity, I (US flu oz.) | 0.9 (30) |
| Machine weight without fuel and cutting blade, kg (lb.) | 11.9 (26.2) |
| Spindle, output shaft | |
| Max. spindle speed, rpm | 2600 |
| Max. peripheral speed, m/s (ft./min) | 50 (10 000) |
| Noise emissions | |
| Sound power level, measured dB (A) | 112 |
| Sound power level, guaranteed Lad (A) | 115 |
| Sound levels 5 | |
| Equivalent sound pressure level at the ear of the operator, dB (A) | 98 |
| Equivalent vibration levels, have 6. | |
| Front handle, m/s2 | 3. |
| Rear handle, m/s2 | 4. |
4 Noise emissions in the environment are measured as sound power (LWA) in conformity with directive 2000/14/EC. The difference between guaranteed and measured sound power is that the guaranteed sound power includes dispersion in the measured result and variations between different units of the same product according to directive 2000/14/EC
5 Equivalent sound pressure level, according to EN ISO 19432-1, is calculated as the time-weighted energy total for different sound pressure levels in different work conditions. Recorded data for equivalent sound pressure level of the product has a standard deviation of 1 dB (A).
6 Equivalent vibration level, according to EN ISO 19432-1, is calculated as the time-weighted energy total for vibration levels in different work conditions. Reported data for equivalent vibration level has a typical statistical dispersion (standard deviation) of 1m/s²
Recommended diamond cutting blade, specification
| Cutting blade diameter, mm (in.) | Max. cutting depth, mm (in.) | Blade speed rated value, rpm | Max. peripheral speed, m/s (ft./min) | Max. blade thickness, mm(in.) |
| 300 (12) | 122 (4.8) | 6200 | 100 (19600) | 4 (0.16) |
Declaration of Conformity
EU Declaration of Conformity
We, Husqvarna AB, SE-561 82 Husqvarna, Sweden, tell: +46-36-146500, declare on our sole responsibility that the product:
| Description | Portable cut-off machine |
| Brand | HUSQVARNA |
| Type/Model | K 770 Dry Cut, K 770 Dry Cut Oil Guard |
| Identification | Serial numbers dating from 2022 and onwards |
complies fully with the following EU directives and regulations:
| Directive/Regulation | Description |
| 2006/42/EC | relating to machinery |
| 2000/14/EC | relating to outdoor noise |
| 2014/30/EU | relating to electromagnetic compatibility |
| 2011/65/EU | relating to restrictions of hazardous substances |
and that the following harmonized standards and/or technical specifications are applied;
EN ISO 12100:2010, EN ISO 19432-1:2020, EN
55012:2008+A1:2009, EN ISO 14982:2009, EN IEC
63000:2018
Conformity assessment procedure according to
2000/14/EC: Annex V. For information relating to noise
emissions, refer to Technical data on page 67.
Particle, 2022-04-20
Erik Silverberg
R&D Director, Concrete Sawing & Drilling Equipment
Husqvarna AB, Construction Division
Responsible for technical documentation

UK Declaration of Conformity
We, Husqvarna AB, SE-561 82 Husqvarna, Sweden, tell:
+46-36-146500, declare on our sole responsibility that the product:
| Description | Portable cut-off machine |
| Brand | HUSQVARNA |
| Type/Model | K 770 Dry Cut, K 770 Dry Cut Oil Guard |
| Identification | Serial numbers dating from 2022 and onwards |
complies fully with the following UK directives and regulations:
| Description |
| The Supply of Machinery (Safety) Regulations 2008 |
| Electromagnetic Compatibility Regulations 2016 |
| The Noise Emission in the Environment by Equipment for use Outdoors Regulations 2001 |
| The Restriction of the Use of Certain Hazardous Substances in Electrical and Electronic Equipment Regulations 2012 |
and that the following harmonized standards and/or technical specifications are applied;
EN ISO 12100:2010, EN ISO 19432-1:2020, EN
55012:2008+A1:2009, EN ISO 14982:2009, EN IEC
63000:2018.
Conformity assessment procedure according to the Outdoor Noise Regulations of 2001: Schedule 8.
For information relating to noise emissions, refer to
Technical data on page 67.
Particle, 2022-04-20

Erik Silverberg
R&D Director, Concrete Sawing & Drilling Equipment
Husqvarna AB, Construction Division
Responsible for technical documentation
![]()
UK Importer:
Husqvarna UK Limited
Preston Road, Aycliffe
Business Park Newton
Aycliffe, County Durham
UK DL5 6UP

www.husqvarnacp.com
Original instructions![]()













































































a) Turn the screw clockwise until the cutting blade starts to rotate.


















