Husqvarna K4000 Cut n Break

The K 4000 Cut-n-Break is a powerful cutting tool designed for cutting through hard materials such as concrete and rock. It is important to read the operator’s manual carefully and understand the instructions before using the machine. Personal protective equipment must be worn while operating the machine. Always ensure good ventilation as dust forms when cutting, which can cause injuries if inhaled.
Product Information
- Brand: Husqvarna AB
- Model: K 4000 Cut-n-Break
- Max speed of output shaft: A
- Cutting blade diameter: B
- Blade bolt diameter: C
- Input voltage: D
- Input current: E
- Input frequency: F
- Country of origin: XXXXXXXXXXXXXXX
The product is certified to conform to UL Std 60745-1, 60745-25 and CSA C22.2 No. 60745-1, 60745-2-5.
Product Usage Instructions
- Before starting to use the machine, ensure that you have read and understood the operator’s manual. Wear personal protective equipment at all times while operating the machine. Ensure good ventilation around the work area.
- The cutting blade generates dust that can cause respiratory disease if inhaled. Use an approved breathing mask and avoid inhalation of dust, mist and fumes. Ensure that all bystanders wear appropriate respiratory protection such as dust masks designed to filter out microscopic particles.
- Always use water cooling while using the machine to prevent sparks from the cutting blade causing fire in combustible materials such as petrol (gas), wood, dry grass etc.
- Do not use circular saw blades with the machine.
- Cut in the correct direction and ensure that the blades are not cracked or damaged in any other way. Kickbacks can be sudden, rapid and violent and can cause life-threatening injuries. Read and understand the instructions in the manual before using the machine.
- Please read the operator’s manual carefully and make sure you understand the instructions before using the machine. Lire attentivement et bien assimiler le manuel d’utilisation avant d’utiliser la machine.
KEY TO SYMBOLS
Symbols on the machine:

- WARNING! The machine can be a dangerous tool if used incorrectly or carelessly, which can cause serious or fatal injury to the operator or others.
Please read the operator’s manual carefully and make sure you understand the instructions before using the machine. - Wear personal protective equipment. See instructions under the heading ”Personal protective equipment”.
- WARNING! Dust forms when cutting, which can cause injuries if inhaled. Use an approved breathing mask. Always provide for good ventilation.
- WARNING! Sparks from the cutting blade can cause fire in combustible materials such as: petrol (gas), wood, dry grass etc.
- Water cooling must always be used.
- WARNING! Kickbacks can be sudden, rapid and violent and can cause life threatening injuries. Read and understand the instructions in the
manual before using the machine. - WARNING! Ensure the blades are not cracked or damaged in any other way.
- WARNING! Do not use circular saw blades
- Always cut in the correct direction. See safety instructions!
- Conforms to UL Std 60745-1, 60745-2-
- 5 Certified to CSA C22.2 No. 60745-1, 60745-2-5.
- Type plate

- Row 1: Brand, Model (X, Y)
- Row 2: Serial No. with manufacturing date (Y, W, X): Year, Week, Sequence No.
- Row 3: Product No. (X)
Row 4: Manufacturer - Row 5: A: Max speed of output shaft, B: Cutting blade diameter, C: Blade bolt diameter
- Row 6: D: Input voltage, E: Input current, F: Input frequency
- Row 7: Country of origin
- Other symbols/decals on the machine refer to special certification requirements for certain markets.
Explanation of warning levels
- The warnings are graded in three levels.
- WARNING! Indicates a hazardous situation which, if not avoided, will result in death or serious injury.
- CAUTION! Indicates a hazardous situation which, if not avoided, could result in minor or moderate injury.
- NOTICE! Is used to address practices not related to personal injury.
Note the following before starting:
- WARNING! Cutting, especially when DRY cutting, generates dust that comes from the material being cut, which frequently contains silica. Silica is a basic component of sand, quartz, brick clay, granite and numerous other minerals and rocks. Exposure to excessive amount of such dust can cause:
- Respiratory disease (affecting your ability to breath), including chronic bronchitis, silicosis and pulmonary fibrosis from exposure to silica. These diseases may be fatal;
- Skin irritation and rash.
- Cancer according to NTP* and IARC* */ National Toxicology Program, International Agency for Research on Cancer
- Take precautionary steps:
- Avoid inhalation of and skin contact with dust, mist and fumes.
- Wear and ensure that all bystanders wear appropriate respiratory protection such as dust masks designed to filter out microscopic particles. (See OSHA 29 CFR Part 1926.1153)
- Wet cut when feasible, to minimize dust.
- The engine exhaust from this product contains chemicals known to the State of California to cause cancer, birth defects or other reproductive harm.
- NOTICE! CALIFORNIA AIR RESOURCES BOARD (CARB): This machine is considered a preempt Off-Road Applicatoin as relating to CARB standards. The U.S. EPA has sole authority to establish emission standards for preempt construction equipment. For more information see www.arb.ca.gov/msprog/offroad/preempt.htm
PRESENTATION
Dear customer!
- Thank you for choosing a Husqvarna product!
- It is our wish that you will be satisfied with your product and that it will be your companion for a long time. A purchase of one of our products gives you access to professional help with repairs and services. If the retailer who sells your machine is not one of our authorised dealers, ask him for the address of your nearest service workshop.
- This operator’s manual is a valuable document. Make sure it is always at hand at the work place. By following its content (operating, service, maintenance etc.) the life span and the second-hand value of the machine can be extended. If you ever lend or sell this machine, make sure that the borrower or buyer gets the operator′s manual, so they will also know how to properly maintain and use it.
More than 300 years of innovation
- Husqvarna AB is a Swedish company based on a tradition that dates back to 1689, when the Swedish King Karl XI ordered the construction of a factory for production of muskets. At that time, the foundation was already laid for the engineering skills behind the development of some of the world’s leading products in areas such as hunting weapons, bicycles, motorcycles, domestic appliances, sewing machines and outdoor products.
- Husqvarna is the global leader in outdoor power products for forestry, park maintenance and lawn and garden care, as well as cutting equipment and diamond tools for the construction and stone industries.
User Responsibility
- It is the owner’s/employer’s responsibility that the operator has sufficient knowledge about how to use the machine safely. Supervisors and operators must have read and understood the Operator’s Manual. They must be aware of:
- The machine’s safety instructions.
- The machine’s range of applications and limitations.
- How the machine is to be used and maintained.
- National legislation could regulate the use of this machine. Find out what legislation is applicable in the place where you work before you start using the machine.
The manufacturer’s reservation
- All information and all data in the Operator’s Manual were applicable at the time the Operator’s Manual was sent to print.
- Husqvarna AB has a policy of continuous product development and therefore reserves the right to modify the design and appearance of products without prior notice.
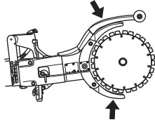
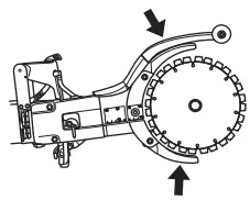
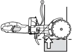
WHAT IS WHAT
What is what on the power cutter?
- Splash guard
- Front handle
- Power switch lock
- Power switch
- Rear handle
- Inspection cover
- Carbon brushes
- Brush retainer
- Type plate
- Spray guard
- Blades
- Blade guards
- Ground fault circuit interrupter 14 Wash-out port
- Water tap
- Cutting arm
- Belt tensioner
- Breaking tool
- Combination spanner
- Bearing tool
- Operator’s manual
MACHINE´S SAFETY EQUIPMENT
General
This section describes the machine′s safety equipment, its purpose, and how checks and maintenance should be carried out to ensure that it operates correctly. See the ”What is what?” section to locate where this equipment is positioned on your machine.
- WARNING! Never use a machine that has faulty safety equipment! Carry out the inspection, maintenance, and service routines listed in this section.
- All servicing and repair work on the machine requires special training. This is especially true of the machine′s safety equipment. If your machine fails any of the checks described below you must contact your service agent. When you buy any of our products we guarantee the availability of professional repairs and service. If the retailer who sells your machine is not a servicing dealer, ask him for the address of your nearest service agent.
Power switch
- The power switch should be used to start and stop the machine.

Checking the power switch
- Start the machine, release the power switch and check that the engine and the cutting blade stop.

- A defective power switch should be replaced by an authorized service workshop.
Power switch lock
- The power switch lock is designed to prevent accidental operation of the switch. When the lock (A) is pressed the power switch (B) is released.

- The power switch lock remains depressed as long as the power switch is depressed. When the grip on the handle is released both the power switch and power switch lock are reset. This movement is controlled by two independent return springs. This position results in the machine stopping and the power switch is locked.
Checking the power switch lock
- Make sure the power switch is locked when the power switch lock is in its original position.

- Press in the power switch lock and make sure it returns to its original position when you release it.

- Check that the power switch and power switch lock move freely and that the return springs work properly.

- Switch on the machine, release the switch, and check that the engine and blades stop.
Gradual start and overload protection
- The machine is equipped with electronically controlled gradual start and overload protection.
- The engine starts to pulsate if the machine is loaded above a specific level. If the load is reduced the engine reverts to its normal state and cutting can resume.
- The electronics will cut the current after a set time if the machine continues to be run with a pulsating engine. The higher load the faster the shutoff.
- The electronics cut the current immediately if the blade jams.
Blade guards
- This guard is fitted above and below the cutting blade and is designed to prevent parts of the blade or cutting fragments from being thrown towards the user.

Checking the blade guards
- WARNING! Always check that all guards are correctly fitted before starting the machine. Check that the cutting blade is fitted correctly and does not show signs of damage. A damaged cutting blade can cause personal injury. See instructions under the heading Assembly.
- Check that the guard is complete and without any cracks or deformations.
- Never use a defective guard or a guard that has not been fitted correctly.
Spray guard
- The spray guard provides protection against ejected debris, thrown water and concrete slurry.

Checking the spray guard
- Ensure there are no cracks or holes from slurry blasting in the spray guard. Replace guard if damaged.
Ground fault circuit interrupter
- Ground fault circuit interrupters are for protection in case an electrical fault should occur.
- The LED indicates that the ground fault circuit interrupter is on and that the machine can be switched on. If the LED is not on, push the RESET button (green).

Check the ground fault circuit interrupter
- Connect the machine to the socket. Push the RESET button (green) and the red LED lights up.

- Start the machine.
- Push the TEST button (blue).

- The ground fault circuit interrupter should trip and the machine switch off instantly. If not, contact your dealer.
- Reset with the RESET button (green).
CUTTING BLADES
General
- WARNING! A cutting blade may burst and cause injury to the operator.
- A cutting blade should be checked before it is assembled on the saw and frequently during use. Look for cracks, lost segments (diamond blades) or pieces broken off. Do not use a damaged cutting blade.
- Test the integrity of each new cutting blade by running it at full throttle for about 1 minute.
- Only use original cutting blades designed by Husqvarna for use on this machine.
- Husqvarna issues warnings and recommendations for the use and proper care of the cutting blades. Those warnings come with the cutting blades. Read and follow all instructions from Husqvarna.
- This machine is only to be used with Husqvarna´s specially developed diamond blades intended for Cut-n-Break. The blades have an integrated belt pulley and are approved for freehand cutting.
- Diamond blades consist of a steel core provided with segments that contain industrial diamonds.
- Always use a sharp diamond blade.
- Ensure the blades are not cracked or damaged in any other way. Replace blades if necessary.

Diamond blades for different materials
- WARNING! Never use a cutting blade for any other materials than what it was intended to cut.
- Never use a diamond blade to cut plastic material. The heat produced during cutting may melt the plastic and it can stick to the cutting blade and cause a kickback.
- Cutting metal generates sparks that may cause fire. Do not use the machine near ignitable substances or gases.
- Diamond blades are ideal for masonry and reinforced concrete. Ask your dealer for help in choosing the right product.
- Diamond blades are available in several hardness classes. A “soft” diamond blade has a relatively short service life and large cutting capacity. It is used for hard materials such as granite and hard concrete. A “hard” diamond blade has a longer service life and reduced cutting capacity, and should be used for soft materials such as brick and asphalt.
Water cooling
- WARNING! Cool diamond blades designed for wet cutting continuously with water to prevent heating, which can deform the diamond blade resulting in damage to the machine and personal injury.
- Water cooling must always be used.
- Using wet cutting blades without water can cause excessive heat build-up, resulting in poor performance, severe blade damage and is a safety hazard.
- Water cools the blade and increases its service life while also reducing the formation of dust.

Sharpening diamond blades
- Diamond blades can become dull when the wrong feeding pressure is used or when cutting certain materials such as heavily reinforced concrete. Working with a dull diamond blade causes overheating, which can result in the diamond segments coming loose.
Sharpen the blades by cutting a soft material such as sandstone or brick.
Transport and storage
- Make sure the machine is secured and that the cutting blades are properly protected during the transport and storage of the machine.
- Before use inspect all blades for transport or storage damage.
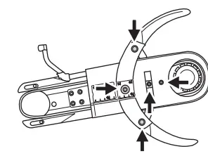
ASSEMBLY
WARNING! Always pull out the plug from the outlet socket before cleaning, maintenance or assembly.
Assembling the blades
WARNING! You must replace the screw kit when you replace the blade.
- Husqvarna blades are especially manufactured and approved for freehand cutting with the K 4000 Cut-n-Break. The blades have integrated belt pulley halves and are to be changed in pairs.
- Loosen the nuts and clamping bolt which release the bar. This will position the drive belt in a more favourable position with regard to assembling the new blades. The drive belt is not clamped so easily.

- Dismantle the old blades by loosening the centre nut. Check the drive belt for wear when the blades are dismantled. When changing the drive belt see the instructions under the heading ”Replacing the drive belt”.
- NOTICE! It is very important that the blades rotate when the nut is tightened. This is to ensure that the belt is not clamped between the integrated drive belt halves on the blades when the blades/drive belt are pulled together with the nut. Ideally this is done alternately, i.e. tighten a little, rotate a little and repeat until the blades are secured.
- Place the blades on each side of the bar. Insert the steering pins of the nut through the blades and the bolt washer.
- Rotate the blades by hand while tightening the blade bolt. This is especially important because it assures the belt is not squeezed between the pulley halves, which are incorporated into the blades. Alternate between tightening the blade bolt and rotating the blades until the blades are fully tightened. Tighteningtorque for the bolt holding the blade is: 130 in.lb (15 Nm).

- NOTICE! Do not forget to tighten the belt and check the belt adjustment before cutting. See the instructions under the heading ”Inspecting and adjusting the drive belt”.

Protection for the blades
- The guards should always be fitted on the machine. Check that the guards are properly secured and work before starting to cut.

OPERATING
Protective equipment
General
- Do not use the machine unless you are able to call for help in the event of an accident.
- Personal protective equipment
- You must use approved personal protective equipment whenever you use the machine. Personal protective equipment cannot eliminate the risk of injury but it will reduce the degree of injury if an accident does happen. Ask your dealer for help in choosing the right equipment.
- WARNING! The use of products such as cutters, grinders, drills, saws that sand or form material can generate dust and vapors which may contain hazardous chemicals. Check the nature of the material you intend to process and use an appropriate breathing mask.
- Long-term exposure to noise can result in permanent hearing impairment. Always use approved hearing protection. Listen out for warning signals or shouts when you are wearing hearing protection. Always remove your hearing protection as soon as the motor stops.
Always wear:
- Approved protecting helmet.
- Hearing protection.
- Approved eye protection. If you use a face shield then you must also wear approved protective goggles. Approved protective goggles must comply with standard ANSI Z87.1 in the USA or EN 166 in EU countries. Visors must comply with standard EN 1731.
- Approved respiratory protection.
- Protective gloves.
- Heavy-duty, firm grip gloves.
- Tight-fitting, heavy-duty and comfortable clothing that permits full freedom of movement. Cutting generates sparks that can ignite clothing. Husqvarna recommends that you wear flame-retardant cotton or heavy denim. Do not wear clothing made of material such as nylon, polyester or rayon. If ignited such material can melt and cling to the skin. Do not wear shorts
- Boots with steel toe-caps and non-slip sole
Other protective equipment
CAUTION! Sparks may appear and start a fire when you work with the machine. Always keep fire fighting equipment handy.
- Fire Extinguisher
- First aid kit
General safety warnings
- This section describes basic safety directions for using the machine. This information is never a substitute for professional skills and experience. If you get into a situation where you feel unsafe, stop and seek expert advice. Contact your dealer, service agent or an experienced user. Do not attempt any task that you feel unsure of!
- Please read the operator’s manual carefully and make sure you understand the instructions before using the machine. It is recommended that first time operators also obtain practical instruction before using the machine.
- Keep in mind that it is you, the operator that is responsible for not exposing people or their property to accidents or hazards.
- The machine must be kept clean. Signs and stickers must be fully legible.
- WARNING! Read all safety warnings and all instructions. Failure to follow the warnings and instructions may result in electric shock, fire and/or serious injury.
- Save all warnings and instructions for future reference.
- The term ”power tool” in the warnings refers to your mains-operated (corded) power tool or battery-operated (cordless) power tool.
Work area safety
- Keep work area clean and well lit. Cluttered or dark areas invite accidents.
- Do not operate power tools in explosive atmospheres, such as in the presence of flammable liquids, gases or dust. Power tools create sparks which may ignite the dust or fumes.
- Keep children and bystanders away while operating a power tool. Distractions can cause you to lose control.
- Do not use the machine in bad weather, such as dense fog, rain, strong wind, intense cold, etc. Working in bad weather is tiring and can lead to dangerous conditions, e.g. slippery surfaces.
- Never start to work with the machine before the working area is clear and you have a firm foothold. Look out for any obstacles with unexpected movement. Ensure when cutting that no material can become loose and fall, causing injury to the operator.Take great care when working on sloping ground.
- WARNING! The safety distance for the power cutter is 50 feet (15 metres). You are responsible to ensure that animals and onlookers are not within the working area. Do not start cutting until the working area is clear and you are standing firmly.
Electrical safety
- Power tool plugs must match the outlet. Never modify the plug in any way. Do not use any adapter plugs with earthed (grounded) power tools. Unmodified plugs and matching outlets will reduce the risk of electric shock.
- Avoid body contact with earthed or grounded surfaces, such as pipes, radiators, ranges and refrigerators. There is an increased risk of electric shock if your body is earthed or grounded.
- Do not expose power tools to rain or wet conditions. Water entering a power tool will increase the risk of electric shock.
- Do not abuse the cord. Never use the cord for carrying, pulling or unplugging the power tool. Keep cord away from heat, oil, charp edges or moving parts. Damaged or entangled cords increase the risk of electric shock.
- When operating a power tool outdoors, use an extension cord suitable for outdoor use. Use of a cord suitable for outdoor use reduces the risk of electric shock.
- If operating a power tool in a damp location is unavoidable, use a residual current device (RCD) protected device. Use of an RCD reduces the risk of electric shock.
- Check that the cord and extension cord are intact and in good condition. Never use the machine if the cord is damaged, hand it in to an authorized service workshop for repair. An undersized cable means a risk of reduced machine capacity and overheating.
- The machine should be connected to an earthed outlet socket. Check that the mains voltage corresponds with that stated on the rating plate on the machine.
- Ensure the cord is behind you when you start to use the machine so that the cord will not be damaged.
- WARNING! Do not pressure wash the machine, as water can enter the electrical system or the engine and cause damage to the machine or short circuit.
Personal safety
- Stay alert, watch what you are doing and use common sense when operating a power tool. Do not use a power tool while you are tired or under the influence of drugs, alcohol or medication. A moment of inattention while operating power tools may result in serious personal injury.
- Use personal protective equipment. Always wear eye protection. Protetctive equipment such as dust mask, non-skid safety shoes, hard hat, or hearing protection used for appropriate conditions will reduce personal injuries.
- Prevent unintentional starting. Ensure the switch is in the OFF-position before connecting to power source and/or battery pack, picking up or carrying the tool. Carrying power tools with your finger on the switch or energising power tools that have the switch on invites accidents.
- Remove any adjusting key or wrench before turning the power tool on. A wrench or a key left attached to a rotating part of the power tool may result in personal injury.
- Do not overreach. Keep proper footing and balance at all times. This enables better control of the power tool in unexpected situations.
- Dress properly. Do not wear loose clothing or jewellery. Keep your hair, clothing and gloves away from moving parts. Loose clothes, jewellery or long hair can be caught in moving parts.
- If devices are provided for the connection of dust extraction and collection facilities, ensure that these are connected and properly used. Use of dust collection can reduce dust-related hazards.
- Remain at a distance from the blades when the engine is running.
- WARNING! Overexposure to vibration can lead to circulatory damage or nerve damage in people who have impaired circulation. Contact your doctor if you experience symptoms of overexposure to vibration. These symptoms include numbness, loss of feeling, tingling, pricking, pain, loss of strength, changes in skin colour or condition.
- These symptoms normally appear in the fingers, hands or wrists.
Power tool use and care
- Please read the operator’s manual carefully and make sure you understand the instructions before using the machine.
- The machine is only designed for cutting hard materials, such as concrete, brick, masonry as well as cast iron and cement pipes.
- WARNING! A power cutter is a dangerous tool if used carelessly or incorrectly and can cause serious, even fatal injuries. It is extremely important that you read and understand the contents of this Operator’s Manual.
- Do not force the power tool. Use the correct power tool for your application. The correct power tool will do the job better and safer at the rate for which it was designed.
- Do not use the power tool if the switch does not turn it on and off. Any power tool that cannot be controlled with the switch is dangerous and must be repaired.
- Disconnect the plug from the power source and/or the battery pack from the power tool before making any adjustments, changing accessories, or storing power tools. Such preventive safety measures reduce the risk of starting the power tool accidentally.
- Store idle power tools out of the reach of children and do not allow persons unfamiliar with the power tool or these instructions to operate the power tool. Power tools are dangerous in the hands of untrained users.
- Maintain power tools. Check for misalignment or binding of moving parts, breakage of parts and any other condition that may affect the power tool´s operation. If damaged, have the power tool repaired before use. Many accidents are caused by poorly maintained power tools.
- Keep cutting tools sharp and clean. Properly maintained cutting tools with sharp cutting edges are less likely to bind and are easier to control.
- Use the power tool, accessories and tool bits etc. in accordance with these instructions, taking into account the working conditions and the work to be performed. Use of the power tool for operations different from those intended could result in hazardous situations.
- WARNING! Under no circumstances may the design of the machine be modified without the permission of the manufacturer. Always use genuine accessories. Non-authorized modifications and/or accessories can result in serious personal injury or the death of the operator or others.
- Make sure that no pipes or electrical cables are routed in the working area or in the material to be cut.
- Always check and mark out where gas pipes are routed. Cutting close to gas pipes always entails danger. Make sure that sparks are not caused when cutting in view of the risk of explosion. Remain concentrated and focused on the task. Carelessness can result in serious personal injury or death.
- Inspect new blades for transport or storage damage.
- The guard for the cutting equipment must always be on when the machine is running.
Service
- Have your power tool serviced by a qualified repair person unsing only identical replacement parts. This will ensure that the safety of the power tool is maintained.
Always use common sense
- It is not possible to cover every conceivable situation you can face. Always exercise care and use your common sense. If you get into a situation where you feel unsafe, stop and seek expert advice. Contact your dealer, service agent or an experienced user. Do not attempt any task that you feel unsure of!
- WARNING! The machine can be a dangerous tool if used incorrectly or carelessly, which can cause serious or fatal injury to the operator or others.
- Never allow children or other persons not trained in the use of the machine to use or service it.
- Never allow anyone else to use the machine without first ensuring that they have read and understood the contents of the operator’s manual.
- Never use a machine that is faulty. Carry out the safety checks, maintenance and service instructions described in this manual. Some maintenance and service measures must be carried out by trained and qualified specialists. See instructions under the heading Maintenance.
Basic working techniques
- WARNING! This section describes basic safety directions for using a power cutter. This information is never a substitute for professional skills and experience. If you get into a situation where you feel unsafe, stop and seek expert advice. Contact your dealer, service agent or an experienced power cutter user. Do not attempt any task that you feel unsure of!
- Do not pull the power cutter to one side, this can cause the blade to jam or break resulting in injury to people.
- Under all circumstances avoid grinding using the side of the blade; it will almost certainly be damaged, break and can cause immense damage. Only use the cutting section.
- Cutting plastics with a diamond blade can cause kickback when the material melts due to the heat produced when cutting and sticks to the blade. Never cut plastic materials with a diamond blade!
- Cutting metal generates sparks that may cause fire. Do not use the machine near ignitable substances or gases.
Water cooling
- Water cooling must always be used. Dry cutting causes immediate overheating and machine and cutting blade failure with a risk of personal injury.

- At a low water pressure, for example when the water tank is used, the restrictor can be dismantled to give the correct water flow.
- NOTICE! It is important not to use a too high water flow without throttling as the belt can then slip.
Cutting technique
- Support the work piece in such a way that it is possible to predict what will happen, and so that the cut remains open while cutting.

- Always hold the machine in a firm grip with both hands. Hold it so that the thumbs and fingers grip round the handles.

- Check that the blade is not in contact with anything when the machine is started
- Start cutting with the machine running at maximum speed.
- Start cutting smoothly, allowing the machine to work without forcing or pressing in the blade. Always cut at maximum speed.
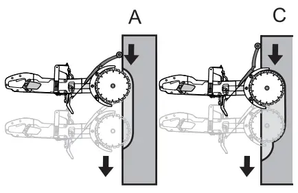
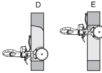
- Cut in the same direction when cutting into an existing cut. Avoid cutting at an angle to the previous cut, otherwise there is a risk of the blade jamming or that the machine can ”climb in the cut” and cause a kickback.

- Always cut from top to bottom (A).
- Remove the cutter and use a crowbar to remove the material that remains between the cut (B).

- Follow the same saw cut, but further in the work piece (C), and repeat the work with the crowbar.

- WARNING! When cutting vertically, always cut from the top of the cut and down. Never cut from the bottom of the cut and up. This can cause a kickback and result in personal injury.
- Repeat this working method until the required cutting depth is achieved (D, E).

- The blade guards are designed to easily adapt to how deep in the work piece the power cutter is moved.
- WARNING! Under all circumstances avoid grinding using the side of the blade; it will almost certainly be damaged or break and can cause immense damage. Only use the cutting section.
- Do not pull the power cutter to one side, this can cause the blade to jam or break resulting in injury to people.
Smooth cutting
- To enable smooth cutting, the splash guard must be adjusted.
- Release the latch.

- Slide the splash guard sideways.

- Lock the latch.
Kickback
- Kickback is a sudden, rearward motion of the saw that can occur if the blades are stalled (pinched, jammed, twisted) in the so called kickback zone. Most kickbacks are small and felt as small ”jerks” in the front handle. However, kickback can be very powerful. If you are not paying attention or have a poor grip the saw can be thrown all the way back at you.
- WARNING! Kickback can be very sudden and viloent, throwing the saw back at you. It can cause serious or even fatal injuries. It is vital you understand what causes kickback and how to aviod it using proper cutting techique.
Cause of kickback
- Kickback is caused if you are cutting with the kickback zone of the blade for example when cutting ”upwards” or towards you.

General rules
- Never cut upwards or towards you so that the kickback zone becomes actively cutting.

- Always hold the machine in a firm grip with both hands. Hold it so that the thumbs and fingers grip round the handles.

- Keep a good balance and a firm foothold.
- When cutting vertically, always cut from the top of the cut and down.
- Always cut at maximum speed.
- Do not cut with the upper quadrant (kickback zone) of the blade. Avoid twisting or pushing the blades sideways in the cut. This can cause kickback.
- Take care when inserting the blade in an existing cut. Make certain that the cut is wide enough and that the blades are not angled in the cut. This can cause kickback.
- Stand at a comfortable distance from the work piece.
- Never cut above shoulder height.
- Never cut from a ladder. Use a platform or scaffold if the cut is above shoulder height.

- Be alert to movement of the work piece or anything else that can occur, which could cause the cut to close and pinch the blade.
Pull in
- Pull in occurs when the blades’ lower sections suddenly stop or when the cut closes. (To avoid, see the instructions under the heading ”General rules” and
Pinching/rotation”, here below.).
Pinching/rotation
- If the cut is pressed together this can lead to jamming. The machine can be pulled down suddenly with a very powerful jerk.
How to avoid pinching
- Support the work piece in such a way that the cut remains open during the cutting operation and when the cut is finished.

Check the engine speed
- Use a revolution counter regularly to check the engine speed at the working temperature, at full throttle and without a load.
STARTING AND STOPPING
Before starting
- WARNING! Note the following before starting:
- The machine should be connected to an earthed outlet socket.
- Check that the mains voltage corresponds with that stated on the rating plate on the machine.
- Make sure you have a secure footing and that the cutting blade cannot touch anything.
- Keep people and animals well away from the working area.
Wash-out port
- Connect the water hose to the water supply (A). The water flow is regulated using the water tap (B).

Ground fault circuit interrupter
- WARNING! Never use the tool without the ground fault circuit interrupter delivered with the tool. Carelessness can result in serious personal injury or even death.
- Make sure the ground fault circuit interrupter is switched on. The LED indicates that the ground fault circuit interrupter is on and that the machine can be switched on. If the LED is not on, push the RESET button (green).

- Check the ground fault circuit interrupter. See instructions under the heading Checking, maintaining and servicing the machine’s safety equipment.
Starting
- Grip the front handle with the left hand.
- Grip the rear handle with your right hand.

- Press in the power switch lock with your right-hand thumb and press in the power switch.

- Run the machine unloaded and in a safe manner for at least 30 seconds.
Stopping
- Stop the motor by releasing the power switch.

- WARNING! Make sure that the cutting blade can rotate freely until it completely stops. Carelessness can cause serious personal injury.
MAINTENANCE
General
- WARNING! The user must only carry out the maintenance and service work described in this manual. More extensive work must be carried out by an authorized service workshop.
- Inspection and/or maintenance should be carried out with the motor switched off and the plug disconnected.
- Wear personal protective equipment. See instructions under the heading ”Personal protective equipment”.
- The life span or the runtime of the machine can be reduced and the risk of accidents can increase if machine maintenance is not carried out correctly and if service and/or repairs are not carried out professionally. If you need further information please contact your nearest service workshop.
Maintenance schedule
- In the maintenance schedule you can see which parts of your machine that require maintenance, and with which intervals it should take place. The intervals are calculated based on daily use of the machine, and may differ depending on the rate of usage.
| Daily Maintenance | Weekly maintenance/40 hours | Monthly maintenance | |
| Cleaning | Clean the machine. | ||
| Cooling air intake | |||
| Functional inspection | General inspection | Carbon brushes | Drive wheel |
| Water system | Drive belt | ||
| Power switch* | |||
| Power switch lock* | |||
| Blade guard* | |||
| Cutting blade** | |||
Cleaning
- WARNING! Do not use a high pressure washer when rinsing the inside of the machine.
- The machine can withstand taking in damp air and splashes during the cutting process. Clean water does not affect the machine’s function.
When cutting materials such as concrete or brick, which can contain salt, you must rinse the machine after the work is finished. The cleaning reduces the risk for accretions building up inside the engine, which can cause leakage current between electric components, which in turn can cause the ground fault circuit interrupter to turn off without intention. - Clean the machine daily by rinsing it with clean water after the work is finished.
- Place the machine with the rear handle facing upwards. Rinse the air intakes at the rear handle with clean water. The water will run out through the front air outlets.
- Connect the plug and run the engine dry for approx. 30 sec in order to speed up the drying of the engine.
Cooling system
- The machine is equipped with an efficient fan to cool the motor. Cooling air which is drawn in through the grille by the machines rear handle passes over the stator and rotor and out through the front of the motor housing.

- In order for the machine to always be cooled sufficiently the cooling air openings must be kept clear and clean. Blow down the machine regularly with compressed air.
Functional inspection
General inspection
- WARNING! Never use damaged cables. They can cause serious, even fatal, personal injuries.

- Check that nuts and screws are tightened.
- Check that the power switch unit works smoothly.
- Check the ground fault circuit interrupter
- Clean the outside of the machine.
- Checking the blade guard
- Check the condition of the cutting blade.
- Check and clean the cooling air openings.
- Check that the cord and extension cord are intact and in good condition. Never use the machine if the cord is damaged, hand it in to an authorized service workshop for repair.
Drive belt
NOTICE! The drive belt is fully enclosed and well-protected from dust, dirt and mechanical damage when cutting.
Tensioning the drive belt
- Check the tension of the drive belt. Stick a screwdriver in the notch.
- A correctly adjusted drive belt should have about 5 mm of movement.

- Tighten the drive belt.
- Loosen the two nuts.
- Loosen the clamping bolt.

- Turn the eccentric plate anti-clockwise with a screwdriver or a torx driver. This tightens the drive belt by pushing the bar forwards.

- Tighten the nuts.
- Screw the bolt tight. Hold still the eccentric plate so that it doesn’t move along when you tighten the screws.
- NOTICE! A new drive belt shall be tightened once after 30-60 minutes operation.
Replacing the drive belt
- Release the belt tension.
- Remove the blades.

- Remove the belt cover by loosening the nuts, the clamping bolt and the eccentric cam.

- Loosen water hose.

- Loosen the drive gear. Use a spanner as a counterhold. (The combination spanner or bearing tool can be used as a counterhold.)
- Remove the cutting arm by pulling it straight out from the machine.

- Loosen the five screws holding the guards on the cutting arm.

- Remove the old drive belt and put in a new one.
- Refit the guards on the cutting arm.
- Fit the cutting arm on the machine while fastening the drive wheel.
- Replace the water hose.
- Refit the belt cover, the nuts, the clamping bolt and the eccentric cam.
- Refit the blades and tighten the nut. See instructions under Heading ”Assembling the blades”.
- Tighten the drive belt and the nuts and bolt. See the instructions under the heading ”Inspecting and adjusting the drive belt”.
- IMPORTANT! Do not forget to tighten the belt and check the belt adjustment before cutting. See the instructions under the heading ”Inspecting and adjusting the drive belt”.
Replacing the carbon brushes
- Check the carbon brushes at least once a month. The carbon brushes should be replaced with new brushes if they are worn, cracked or in any other way deformed.
- All carbon brushes must be replaced when the brushes are replaced.
- Remove the inspection cover by loosening both screws.

- Unscrew the cable holding the carbon brush. Now lift up the spring and then lift out the carbon brush from the brush retainer.

- Clean the brush retainers with a dry brush.
- Carefully blow away the dust.
- Fit the new carbon brushes and, at the same time, check that they slide easily in the brush retainers.
- Fold down the springs and tighten the cable.
- New carbon brushes must be run in for approximately 40 minutes while idling.
Water tap
- Check and clean the restrictor if necessary. Do not use hoses that are distorted, worn or damaged.
Disposal, scrapping
- This product should be submitted to an appropriate recycling station in accordance with local requirements.
- By ensuring that this product is taken care of correctly, you can help to counteract the potential negative impact on the environment and people that can otherwise result through the incorrect waste management of this product.
- For more detailed information about recycling this product, contact your municipality, your domestic waste service or the shop from where you purchased the product.

TECHNICAL DATA
| Technical data | K 4000 Cut-n-Break | |
| Protection class | I | |
| Max. blade speed, rpm | 120V, 60Hz | 3900 |
| Rated voltage, V | ||
| USA / Canada / Japan | 100-120 | |
| Rated output, W | ||
| USA / Canada / Japan | 100-120V, 50-60Hz | 15 A |
| Weight | ||
| Power cutter without cable package (excluding cutting blades), Lbs / kg | 18.5 / 8.4 | |
| Power cutter without cable package (including cutting blades), Lbs / kg | 19.6 / 8.9 | |
| Water cooling | ||
| Water cooling | Yes | |
| Wash-out port | Type ”Gardena” | |
| Recommended water pressure, PSI / bar | 7.3-116 / 0.5-8 | |
Cutting equipment
| Cutting blades, inches/mm | Gear ratio | Max. peripheral speed, ft/min / m/s | Cutting depth, inches/mm |
| 9 / 230 | 45 / 79 | 12000 / 60 | 16 / 400 |
Recommended cable dimensions
| Cable area | 1,5 mm2 | 2,5 mm2 |
| Input voltage 100-120 V | 20 m | 40 m |
US WARRANTY STATEMENT
WARRANTY POLICY
- All warranty claims will be determined after inspection at a designated facility. A Returned Goods Authorization is required for all warranty claims. Contact Husqvarna Customer Service Department at 800-845-1312 for an RGA. The customer must prepay the freight and absorb any labor expense required to return or replace a product submitted for warranty consideration. Husqvarna will pay return shipping expenses for repaired or approved replacement products.
EQUIPMENT
- Equipment manufactured by Husqvarna is warranted to be free from manufacturing defects in normal service for a period of two (2) years from date of purchase by the original consumer purchaser. Component manufacturers offer separate warranty periods. Call Technical Services at 800-288-5040 for complete information.
- Our obilgation under this warranty is expressly limited to the replacement or repair at Husqvarna Construction Products North America, Olathe, Kansas 66061, or at a service facility designated by us, of such part or parts as inspection shall disclose to have been defective.
- This warranty does not apply to defects caused by damage, unreasonable use, faulty repairs made by others than an approved Husqvarna servicing dealer, or defects cacused by failure to provide reasonable maintenence, while in the possession of the consumer. Further, the warranty is void if the product, or any of its components, are altered or modified by the consumer purchaser, or if the product is used in an inappropriate manner or with tools not recommended by the manufacturer.
- Exceptions: Drill motors – 3 months, Wall saws – 1 year, Power cutters – 3 months, DM230 – 1 year, DM225 – 3 months, Gyro systems – 1 year, CD40 system – 1 year, DS160 C – 1 year, Smart box – 1 year, CS2515 – 1 year, PP455 E – 1 year, PP345 E – 1 year, HP40 – 1 year.
- Wear items: Filters, spark plugs, bearings*, belts, wheels** and wear pads.
- Except IntelliSeal™ system. **Except delalmination.



















