makita DHR171 Cordless Rotary Hammer Instruction Manual
SPECIFICATIONS
| Model: | DHR171 | |
| Drilling capacities | Concrete | 17 mm |
| Steel | 10 mm | |
| Wood | 13 mm | |
| No load speed | 0 – 680 min-1 | |
| Blows per minute | 0 – 4,800 min-1 | |
| Overall length | 273 mm | |
| Rated voltage | D.C. 18 V | |
| Standard battery cartridge | BL1815N / BL1820 / BL1820B BL1830 / BL1830B / BL1840 / BL1840B / BL1850 / BL1850B / BL1860B | |
| Net weight | 2.1 – 2.8 kg | |
- Due to our continuing program of research and development, the specifications herein are subject to change without notice.
- Specifications and battery cartridge may differ from country to country.
- The weight may differ depending on the attachment(s), including the battery cartridge. The lightest and heaviest combination, according to EPTA-Procedure 01/2014, are shown in the table.
Intended use
The tool is intended for hammer drilling and drilling in brick, concrete and stone.
It is also suitable for drilling without impact in wood, metal, ceramic and plastic.
Noise
The typical A-weighted noise level determined according to EN60745:
- Sound pressure level (LpA) : 86 dB(A)
- Sound power level (LWA) : 97 dB (A)
- Uncertainty (K) : 3 dB(A)
WARNING: Wear ear protection.
Vibration
The vibration total value (tri-axial vector sum) determined according to EN60745:
- Work mode: hammer drilling into concrete
- Vibration emission (ah, HD): 9.0 m/s2
- Uncertainty (K) : 1.5 m/s2
- Work mode: drilling into metal
- Vibration emission (ah,D) : 2.5 m/s2 or less
- Uncertainty (K) : 1.5 m/s
NOTE: The declared vibration emission value has been measured in accordance with the standard test method and may be used for comparing one tool with another.
NOTE: The declared vibration emission value may also be used in a preliminary assessment of exposure.
WARNING: The vibration emission during actual use of the power tool can differ from the declared emission value depending on the ways in which the tool is used.
WARNING: Be sure to identify safety measures to protect the operator that are based on an estimation of exposure in the actual conditions of use (taking account of all parts of the operating cycle such as the times when the tool is switched off and when it is running idle in addition to the trigger time).
EC Declaration of Conformity
For European countries only
The EC declaration of conformity is included as Annex A to this instruction manual.
SAFETY WARNINGS
General power tool safety warnings
WARNING: Read all safety warnings, instructions, illustrations and specifications provided with this power tool. Failure to follow all instructions listed below may result in electric shock, fire and/or serious injury.
Save all warnings and instructions for future reference.
The term “power tool” in the warnings refers to your mains-operated (corded) power tool or battery-operated (cordless) power tool.
CORDLESS ROTARY HAMMER SAFETY WARNINGS
- Wear ear protectors. Exposure to noise can cause hearing loss.
- Use auxiliary handle(s), if supplied with the tool. Loss of control can cause personal injury.
- Hold power tool by insulated gripping surfaces, when performing an operation where the cutting accessory may contact hidden wiring. Cutting accessory contacting a “live” wire may make exposed metal parts of the power tool “live” and could give the operator an electric shock.
- Wear a hard hat (safety helmet), safety glasses and/or face shield. Ordinary eye or sun glasses are NOT safety glasses. It is also highly recommended that you wear a dust mask and thickly padded gloves.
- Be sure the bit is secured in place before operation.
- Under normal operation, the tool is designed to produce vibration. The screws can come loose easily, causing a breakdown or accident.
Check tightness of screws carefully before operation. - In cold weather or when the tool has not been used for a long time, let the tool warm up for a while by operating it under no load. This will loosen up the lubrication. Without proper warm-up, hammering operation is difficult.
- Always be sure you have a firm footing. Be sure no one is below when using the tool in high locations.
- Hold the tool firmly with both hands
- Keep hands away from moving parts
- Do not leave the tool running. Operate the tool only when hand-held.
- Do not point the tool at any one in the area when operating. The bit could fly out and injure someone seriously.
- Do not touch the bit, parts close to the bit, or workpiece immediately after operation; they may be extremely hot and could burn your skin.
- Some material contains chemicals which may be toxic. Take caution to prevent dust inhalation and skin contact. Follow material supplier safety data.
- Always be sure that the tool is switched off and the battery cartridge and the bit are removed before handing the tool to other person.
SAVE THESE INSTRUCTIONS.
WARNING: DO NOT let comfort or familiarity with product (gained from repeated use) replace strict adherence to safety rules for the subject product. MISUSE or failure to follow the safety rules stated in this instruction manual may cause serious personal injury.
Important safety instructions for battery cartridge
- Before using battery cartridge, read all instructions and cautionary markings on (1) battery charger, (2) battery, and (3) product using battery.
- Do not disassemble battery cartridge.
- If operating time has become excessively shorter, stop operating immediately. It may result in a risk of overheating, possible burns and even an explosion.
- If electrolyte gets into your eyes, rinse them out with clear water and seek medical attention right away. It may result in loss of your eyesight.
- Do not short the battery cartridge:
- Do not touch the terminals with any conductive material.
- Avoid storing battery cartridge in a container with other metal objects such as nails, coins, etc.
- Do not expose battery cartridge to water or rain.
A battery short can cause a large current flow, overheating, possible burns and even a breakdown.
- Do not store the tool and battery cartridge in locations where the temperature may reach or exceed 50 °C (122 °F).
- Do not incinerate the battery cartridge even if it is severely damaged or is completely worn out. The battery cartridge can explode in a fire.
- Be careful not to drop or strike battery.
- Do not use a damaged battery.
- The contained lithium-ion batteries are subject to the Dangerous Goods Legislation requirements.
For commercial transports e.g. by third parties, forwarding agents, special requirement on packaging and labeling must be observed.
For preparation of the item being shipped, consulting an expert for hazardous material is required.
Please also observe possibly more detailed national regulations.
Tape or mask off open contacts and pack up the battery in such a manner that it cannot move around in the packaging. - Follow your local regulations relating to disposal of battery.
- Use the batteries only with the products specified by Makita. Installing the batteries to non-compliant products may result in a fire, excessive heat, explosion, or leak of electrolyte.
SAVE THESE INSTRUCTIONS.
CAUTION: Only use genuine Makita batteries.
Use of non-genuine Makita batteries, or batteries that have been altered, may result in the battery bursting causing fires, personal injury and damage. It will also void the Makita warranty for the Makita tool and charger.
Tips for maintaining maximum battery life
- Charge the battery cartridge before completely discharged. Always stop tool operation and charge the battery cartridge when you notice less tool power.
- Never recharge a fully charged battery cartridge. Overcharging shortens the battery service life.
- Charge the battery cartridge with room temperature at 10 °C – 40 °C (50 °F – 104 °F). Let a hot battery cartridge cool down before charging it.
- Charge the battery cartridge if you do not use it for a long period (more than six months).
FUNCTIONAL DESCRIPTION
CAUTION: Always be sure that the tool is switched off and the battery cartridge is removed before adjusting or checking function on the tool.
Installing or removing battery cartridge
CAUTION: Always switch off the tool before installing or removing of the battery cartridge.
CAUTION: Hold the tool and the battery cartridge firmly when installing or removing battery cartridge. Failure to hold the tool and the battery cartridge firmly may cause them to slip off your hands and result in damage to the tool and battery cartridge and a personal injury.
Fig.1:
- Red indicator
- Button
- Battery cartridge

To remove the battery cartridge, slide it from the tool while sliding the button on the front of the cartridge.
To install the battery cartridge, align the tongue on the battery cartridge with the groove in the housing and slip it into place. Insert it all the way until it locks in place with a little click. If you can see the red indicator on the upper side of the button, it is not locked completely.
CAUTION: Always install the battery cartridge fully until the red indicator cannot be seen. If not, it may accidentally fall out of the tool, causing injury to you or someone around you.
CAUTION: Do not install the battery cartridge forcibly. If the cartridge does not slide in easily, it is not being inserted correctly
Indicating the remaining battery capacity
Only for battery cartridges with the indicator
► Fig.2:
- Indicator lamps
- Check button

Press the check button on the battery cartridge to indicate the remaining battery capacity. The indicator lamps light up for a few seconds.
| Indicator lamps | Remaining capacity | ||
Lighted | off | Blinking | |
| 75% to 100% | ||
| 50% to 75% | ||
| 25% to 50% | ||
![]() | 0% to 25% | ||
| Charge the battery. | ||
| The battery may have malfunctioned. | ||
NOTE: Depending on the conditions of use and the ambient temperature, the indication may differ slightly from the actual capacity.
Tool / battery protection system
The tool is equipped with a tool/battery protection system. This system automatically cuts off power to the motor to extend tool and battery life. The tool will automatically stop during operation if the tool or battery is placed under one of the following conditions:
Overload protection
When the battery is operated in a manner that causes it to draw an abnormally high current, the tool automatically stops without any indication. In this situation, turn the tool off and stop the application that caused the tool to become overloaded. Then turn the tool on to restart.
Overheat protection
When the tool or battery is overheated, the tool stops automatically and the lamp blinks. In this case, let the tool and battery cool before turning the tool on again.
Overdischarge protection
When the battery capacity is not enough, the tool stops automatically. In this case, remove the battery from the tool and charge the battery.
Switch action
WARNING: Before installing the battery cartridge into the tool, always check to see that the switch trigger actuates properly and returns to the “OFF” position when released.
Fig.3:
- Switch trigger

To start the tool, simply pull the switch trigger. Tool speed is increased by increasing pressure on the switch trigger. Release the switch trigger to stop.
Lighting up the front lamp
Fig.4:
- Switch trigger
- Lamp

CAUTION: Do not look in the light or see the source of light directly.
Pull the switch trigger to light up the lamp. The lamp keeps on lighting while the switch trigger is being pulled.
The lamp goes out approximately 10 seconds after releasing the switch trigger.
NOTE: Use a dry cloth to wipe the dirt off the lens of the lamp. Be careful not to scratch the lens of lamp, or it may lower the illumination.
Reversing switch action
Fig.5:
- Reversing switch lever

CAUTION: Always check the direction of rotation before operation.
CAUTION: Use the reversing switch only after the tool comes to a complete stop. Changing the direction of rotation before the tool stops may damage the tool.
CAUTION: When not operating the tool, always set the reversing switch lever to the neutral position.
This tool has a reversing switch to change the direction of rotation. Depress the reversing switch lever from the A side for clockwise rotation or from the B side for counterclockwise rotation.
When the reversing switch lever is in the neutral position, the switch trigger cannot be pulled.
Selecting the action mode
NOTICE: Do not rotate the action mode changing knob when the tool is running. The tool will be damaged.
NOTICE: To avoid rapid wear on the mode change mechanism, be sure that the action mode changing knob is always positively located in one of the action mode positions.
Rotation with hammering
For drilling in concrete, masonry, etc., rotate the action mode changing knob to the
symbol. Use a carbide-tipped drill bit.
► Fig.6:
- Action mode changing knob

Rotation only
For drilling in wood, metal or plastic materials, rotate the action mode changing knob to the
symbol. Use a twist drill bit or wood drill bit.
► Fig.7:
- Action mode changing knob

ASSEMBLY
CAUTION: Always be sure that the tool is switched off and the battery cartridge is removed before carrying out any work on the tool.
Side grip (auxiliary handle)
CAUTION: Always use the side grip to ensure safe operation.
CAUTION: After installing or adjusting the side grip, make sure that the side grip is firmly secured.
Install the side grip so that the grooves on the grip fit in the protrusions on the tool barrel. Turn the grip clockwise to secure it. The grip can be fixed at desired angle.
► Fig.8:
- Side grip

Grease
Coat the shank end of the drill bit beforehand with a small amount of grease (about 0.5 – 1 g).
This chuck lubrication assures smooth action and longer service life.
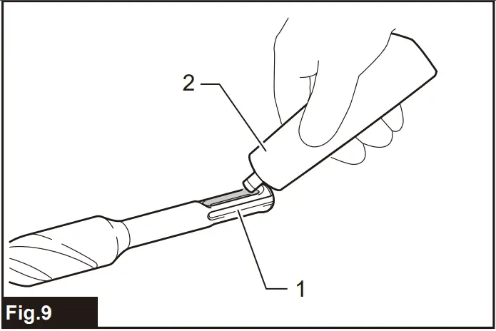
Installing or removing drill bit
Clean the shank end of the drill bit and apply grease before installing the drill bit.
► Fig.9:
- Shank end
- Grease

Insert the drill bit into the tool. Turn the drill bit and push it in until it engages.
After installing the drill bit, always make sure that the drill bit is securely held in place by trying to pull it out.
► Fig.10:
- Drill bit

To remove the drill bit, pull the chuck cover down all the way and pull the drill bit out.
► Fig.11:
- . Drill bit
- Chuck cover

Depth gauge
The depth gauge is convenient for drilling holes of uniform depth. Loosen the side grip and insert the depth gauge into the hole on the side grip. Adjust the depth gauge to the desired depth and tighten the side grip firmly.
► Fig.12:
- Hole
- Depth gauge

NOTE: Make sure that the depth gauge does not touch the main body of the tool when attaching it.
Dust cup (optional accessory)
Use the dust cup to prevent dust from falling over the tool and on yourself when performing overhead drilling operations. Attach the dust cup to the bit as shown in the figure. The size of bits which the dust cup can be attached to is as follows.
| Model | Bit diameter |
| Dust cup 5 | 6 mm – 14.5 mm |
| Dust cup 9 | 12 mm – 16 mm |
► Fig.13:
- Dust cup

Dust cup set
Optional accessory
NOTICE: If you purchase the dust cup set as optional accessory, the standard side grip cannot be used with the dust cup set being installed on the tool. When the dust cup set is installed on the tool, remove the grip from the standard side grip, and then attach it to the optional grip base set.
Fig.14:
- Bolt
- Grip
- Optional grip base set

NOTICE: Do not use the dust cup set when drilling in metal or similar. It may damage the dust cup set due to the heat produced by small metal dust or similar. Do not install or remove the dust cup set with the drill bit installed in the tool. It may damage the dust cup set and cause dust leak.
Before installing the dust cup set, remove the bit from the tool if installed.
Install the spacer so that the grooves on the spacer fit in the protrusions on the tool barrel while widening it.
Be careful for the spring not to come off from the slit of spacer
Fig.15:
- Spacer
- Spring

► Fig.16

Install the side grip (optional grip base set and the grip removed from standard side grip) so that the groove on the grip fit in the protrusion on the spacer. Turn the grip clockwise to secure it.
Fig.17:
- Side grip

Install the dust cup set so that the claws of the dust cup fit in in the slits on the spacer.
► Fig.18:
- Dust cup
- Claws

NOTE: If you connect a vacuum cleaner to the dust cup set, remove the dust cap before connecting it.
Fig.19:
- Dust cap

To remove the drill bit, pull the chuck cover down all the way and pull the drill bit out.
► Fig.20:
- Bit
- Chuck cover

To remove the dust cup set, hold the root of dust cup and pull it out.
► Fig.21:
- Dust cup

NOTE: If the cap comes off from the dust cup, attach it with its printed side facing up so that groove on the cap fits in the inside periphery of the attachment.
► Fig.22

Hook
Optional accessory
CAUTION: Always remove the battery when hanging the tool with the hook.
CAUTION: Never hook the tool at high location or on potentially unstable surface.
Fig.23:
- Groove
- Hook
- Screw

- The hook is convenient for temporarily hanging the tool.
- This can be installed on either side of the tool.
- To install the hook, insert it into a groove in the tool housing on either
- side and then secure it with a screw.
- To remove, loosen the screw and then take it out.
OPERATION
CAUTION: Always use the side grip (auxiliary handle) and firmly hold the tool by both side grip and switch handle during operations.
CAUTION: Always make sure that the workpiece is secured before operation.
NOTE: If the battery cartridge is in low temperature, the tool’s capability may not be fully obtained. In this case, warm up the battery cartridge by using the tool with no load for a while to fully obtain the tool’s capability.
► Fig.24

Hammer drilling operation
CAUTION: There is tremendous and sudden twisting force exerted on the tool/drill bit at the time of hole break-through, when the hole becomes clogged with chips and particles, or when striking reinforcing rods embedded in the concrete. Always use the side grip (auxiliary handle) and firmly hold the tool by both side grip and switch handle during operations. Failure to do so may result in the loss of control of the tool and potentially severe injury.
Set the action mode changing knob to the
symbol.
Position the drill bit at the desired location for the hole, then pull the switch trigger. Do not force the tool. Light pressure gives best results. Keep the tool in position and prevent it from slipping away from the hole.
Do not apply more pressure when the hole becomes clogged with chips or particles. Instead, run the tool at an idle, then remove the drill bit partially from the hole.
By repeating this several times, the hole will be cleaned out and normal drilling may be resumed.
NOTE: Eccentricity in the drill bit rotation may occur while operating the tool with no load. The tool automatically centers itself during operation. This does not affect the drilling precision.
Drilling in wood or metal
CAUTION: Hold the tool firmly and exert care when the drill bit begins to break through the workpiece. There is a tremendous force exerted on the tool/drill bit at the time of hole break through.
CAUTION: A stuck drill bit can be removed simply by setting the reversing switch to reverse rotation in order to back out. However, the tool may back out abruptly if you do not hold it firmly.
CAUTION: Always secure workpieces in a vise or similar hold-down device.
NOTICE: Never use “rotation with hammering” when the drill chuck is installed on the tool. The drill chuck may be damaged.
Also, the drill chuck will come off when reversing the tool.
NOTICE: Pressing excessively on the tool will not speed up the drilling. In fact, this excessive pressure will only serve to damage the tip of your drill bit, decrease the tool performance and shorten the service life of the tool.
Set the action mode changing knob to the symbol.
Attach the chuck adapter to a keyless drill chuck to which 1/2″-20 size screw can be installed, and then install them to the tool. When installing it, refer to the section “Installing or removing drill bit”.
► Fig.25:
- Drill chuck assembly
- Chuck adapter

Blow-out bulb
Optional accessory
After drilling the hole, use the blow-out bulb to clean the dust out of the hole.
► Fig.26

MAINTENANCE
CAUTION: Always be sure that the tool is switched off and the battery cartridge is removed before attempting to perform inspection or maintenance.
NOTICE: Never use gasoline, benzine, thinner, alcohol or the like. Discoloration, deformation or cracks may result.
To maintain product SAFETY and RELIABILITY, repairs, any other maintenance or adjustment should be performed by Makita Authorized or Factory Service Centers, always using Makita replacement parts.
OPTIONAL ACCESSORIES
CAUTION: These accessories or attachments are recommended for use with your Makita tool specified in this manual. The use of any other accessories or attachments might present a risk of injury to persons. Only use accessory or attachment for its stated purpose.
If you need any assistance for more details regarding these accessories, ask your local Makita Service Center.
- Carbide-tipped drill bits (SDS-Plus carbide-tipped bits)
- Chuck adapter
- Keyless drill chuck
- Bit grease
- Depth gauge
- Blow-out bulb
- Dust cup
- Dust cup set
- Grip base set
- Safety goggles
- Hook
- Makita genuine battery and charger
- Plastic carrying case
NOTE: Some items in the list may be included in the tool package as standard accessories. They may differ from country to country.
SUPPORT
Makita Europe N.V. Jan-Baptist Vinkstraat 2, 3070 Kortenberg, Belgium
Makita Corporation 3-11-8, Sumiyoshi-cho, Anjo, Aichi 446-8502 Japan











































