VIDEOTEC WASEX2T4AT Wasex Explosion Proof Wash System

Typographical conventions
High level hazard.
Risk of electric shock. Disconnect the power supply before proceeding with any operation, unless indicated otherwise.
CAUTION
Medium level hazard
This operation is very important for the system to function properly.
INFO
Description of system specifications
We recommend reading this part carefully in order to understand the subsequent stages. Notes on copyright and information on trademarks The mentioned names of products or companies are trademarks or registered trademarks.
Safety rules
DANGER
Explosion hazard
Read carefully to avoid danger of explosion.
- Installation and maintenance of the appliance must be carried out by specialist technical staff in compliance with the applicable reference standard EN/IEC 60079-14, EN/IEC 60079-17 and national standards.
- Do not open the device when powered and in explosive atmosphere.
- Use appropriate tools for the installation.
- The particular nature of the site where the device is to be installed may mean special tools are required for installation.
- Make all connections, installation and maintenance work in a non-explosive atmosphere.
- The equipotential connection is mandatory to avoid the risk of ignition of products installed in potentially explosive environments.
- Before powering the product in an explosive atmosphere, ensure the cover of each component is closed correctly.
- Make sure that all the equipment are certified for the application and for the environment in which they will be installed.
- Any change that is not expressly approved by the manufacturer will invalidate the warranty.
DANGER
High level hazard
Risk of electric shock. Disconnect the power supply before proceeding with any operation, unless indicated otherwise.
- Electrical connections must be performed with the power supply disconnected and the circuit-breaker open.
- A power disconnect device must be included
in the electrical installation, and it must be very quickly recognizable and operated if needed. - The device can only be considered to be switched off when the power supply has been disconnected and the connection cables to other devices have been removed.
- Be careful not to use cables that seem worn or old.
- All the cables must comply with IEC60332-1-2, IEC 60332-1-3 and IEC/EN60079-14.
- This equipment is not suitable for use in locations where children are likely to be present.
CAUTION
Medium level hazard
This operation is very important for the system to function properly. Please read the procedure described very carefully and carry it out as instructed.
- Ensure the installation meets local specifications.
- Make connections and tests in the laboratory before carrying out installation on site.
- Use appropriate tools for the purpose.
- Check that the power supply socket and cable are adequately dimensioned.
- Use suitable cables that can withstand the operating temperatures.
- All disconnected cables must be electrically isolated.
- Make sure the product is to be secured to building before operation.
- The manufacturer declines all liability for damage to any of the apparatus mentioned in this handbook, when resulting from tampering, use of non-original spare parts, installation, maintenance and repairs performed by non authorised, non skilled personnel.
- For damage to any parts, repair or replacement must be done by, or under supervision of VIDEOTEC.
- This product must only be repaired by suitably trained personnel or under the supervision of VIDEOTEC personnel in accordance with the foreseen terms and conditions IEC/EN60079-19.
- Only use original VIDEOTEC spare parts. Strictly adhere to the maintenance instructions attached to each replacement kit.
- For technical services, consult only and exclusively authorized technicians.
- We strongly recommend using only approved brackets and accessories during installation.
INFORMATION
Description of system specifications.
- Given the considerable weight of the system, use an appropriate transport and handling system.
- The staff must carry out the handling of the product in compliance with the common accident prevention standards.
- Before proceeding with installation, check the supplied material to make sure it corresponds to the order specification by examining the identification labels.
- The equipment is intended for installation in a Restricted Access Area by specialist technical staff.
- The manufacturer declines all responsibility for any damage caused by an improper use of the appliances mentioned.
- Furthermore, the manufacturer reserves the right to modify its contents without any prior notice.
- The documentation contained has been collected and verified with great care.
- The manufacturer, however, cannot take any liability for its use.
- The same thing can be said for any person or company involved in the creation and production.
- Since the user is responsible for choosing the surface to which the unit is to be anchored, we do not supply the fixing devices for attaching the unit firmly to the particular surface.
- The installer is responsible for choosing fixing devices suitable for the specific purpose on hand.
- Use methods and materials capable of supporting at least 4 times the weight of the device.
Product description and type designation
- The WASEX washer pump is an important element for effective video surveillance in hazardous areas because it guarantees sharp images in all environmental conditions and reduces the need for maintenance.
- The WASEX system is designed for the MAXIMUS series and is also compatible with third party products.
- The kit is composed of a 10 liter stainless steel tank with an explosion-proof certified solenoid valve and some versions of the product also have an explosion proof certified pressure switch.
- The WASEX version with pressure switch has a clean contact that switches when the tank pressure goes under a preset value.
- The pressure switch can be connected to the alarm of the MAXIMUS series cameras or it can be connected directly to the alarm of the main electric box, to warn operators to reset the pressure and level of the water.
Product overview
The main parts of the product are illustrated below
- Casing.
- Frame.
- 10l tank.
- Pressure switch (only in versions which include it).
- Solenoid valve.

The shape of the solenoid valve may change according to washer pump model.
Product marking label
- The washer pump marking is defined by the marking of the solenoid valve and the pressure switch if present.
- The markings of the solenoid valve and the pressure switch if present are indicated on the plates applied to the components.
- The product serial number is indicated in the label positioned.

Model identification
WASEX2T4AT
10l tank with integrated manual pump, controlled by a certified solenoid valve (ATEX), delivery head up to 30m 98ft with 20m 66ft antistatic water delivery pipe, IN 24Vac/24Vdc
WASEX2T4ATPR
10l tank with integrated manual pump, controlled by a certified solenoid valve and pressure switch ATEX delivery head up to 30m 98ft, with 20m 66ft antistatic water delivery pipe, IN 24Vac/24Vd
WASEX2T4GOR
10l tank with integrated manual pump, controlled by a certified solenoid valve EAC Ex delivery head up to 30m (98ft), with 20m 66ft antistatic water delivery pipe, IN 24Vac/24Vdc.
WASEX2T4IC
10l tank with integrated manual pump, controlled by a certified solenoid valve ATEX, IECEx, delivery head up to 30m (98ft), with 20m (66ft) antistatic water delivery pipe, IN 24Vac/24Vdc.
WASEX2T4IN
10l tank with integrated manual pump, controlled by a certified solenoid valve. NMETRO delivery head up to 30m (98ft), with 20m (66ft) antistatic water delivery pipe, IN 24Vac/24Vdc.
WASEX2T4UL
10l tank with integrated manual pump, controlled by a certified solenoid valve delivery head up to 30m (98ft), with 20m (66ft) antistatic water delivery pipe, IN 24Vac/24Vdc
| WASEX CERTIFICATIONS AND MARKINGS | |||
| Part number | Certification | Marking | Ambient temperature |
| WASEX2T4AT | ATEX Solenoid valve | 2 II GD Ex d IIC T6 or T5 or T4 Gb Ex tb IIIC T80°C or 95°C or T130°C Db IP66 | -40°C ≤ Ta ≤ +35°C or +50°C or +60°C |
| WASEX2T4GOR | EAC Ex Pumping unit | II Gb c IIC T6…T4 X III Db c IIIC T85°C…T130°C X | -40°C ≤ Ta ≤ +35°C or +50°C or +60°C |
| EAC Ex (Solenoid valve) | 1Ex db IIC T6…T4 Gb X Ex tb IIIC T80°C…T130°C Db | -40°C ≤ Ta ≤ +35°C or +50°C or +60°C | |
| WASEX2T4IC | ATEX Solenoid valve | II 2G Ex db IIC T6…T4 Gb II 2D Ex tb IIIC T85°C…T135°C Db | -60°C ≤ Tamb ≤ +65°C or +80°C or +100°C |
| IECEx Solenoid valve | Ex db IIC T6…T4 Gb Ex tb IIIC T85°C…T135°C Db | ||
| WASEX2T4IN | INMETRO Solenoid valve | Ex d IIC T4 Gb IP66 Ex tb IIIC T135°C Db IP66 | -40°C ≤ Ta ≤ +60°C |
| WASEX2T4ATPR1 | ATEX Pressure switch | 2 II G Ex d IIC T6 Gb Ex d IIC T5 Gb 2 II D Ex tb IIIC T 75°C Db Ex tb IIIC T 90°C Db | – 35°C ≤ Ta ≤ +65°C or +80°C |
| ATEX (Solenoid valve) | 2 II GD Ex d IIC T6 or T5 or T4 Gb Ex tb IIIC T80°C or 95°C or T130°C Db IP66 | -40°C ≤ Ta ≤ +35°C or +50°C or +60°C | |
| WASEX2T4UL | Solenoid valve | CLASS I, DIV I, GROUP B, C, D CLASS II, DIV I, GROUP E, F, G CLASS III, DIV I | – 60°C ≤ Ta ≤ 55°C FOR T6 – 60°C ≤ Ta ≤ 70°C FOR T5 – 60°C ≤ Ta ≤ 100°C FOR T4 |
The assembly can be installed in the following areas
- Zone 1, IIC, T6/T5/T4, ambient temperature from -35°C up to +35°C, +50°C, +60°C.
- Zone 21, IIIC, T80°C/T95°C/T130°C, ambient temperature from -35°C up to +35°C, +50°C, +60°C.
Preparing the product for use
Any change that is not expressly approved by the manufacturer will invalidate the warranty..
Unpacking
- When the product is delivered, make sure that the package is intact and that there are no signs that it has been dropped or scratched.
- If there are obvious signs of damage, contact the supplier immediately.
- When returning a faulty product we recommend using the original packaging for shipping.
- Keep the packaging in case you need to send the product for repairs.
Contents
Check the contents to make sure they correspond with the list of materials as below
- Windows washing kit
- Support for the delivery pipe
- Locking bracket of the delivery pipe
- Bolts and screws
- Washer semi-rigid pipe (with nozzle)
- Pipe connector
- Stainless steel clamps
- Delivery pipe (length: 20m)
- Sealing rings
- Instruction manual
- Solenoid valve user and installation.
- Use and installation manual of the pressure switch (only in versions which include it.
Safely disposing of packaging material
The packaging material can all be recycled. The installer technician will be responsible for separating the material for disposal, and in any case for compliance with the legislation in force where the device is to be used.
Installation
Before carrying out any type of intervention.
Product opening
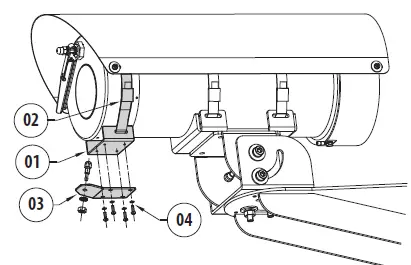
It is possible to install or service the pump without removing the tank. To remove the tank (01), release the metal clamps (02) and disconnect the connecting pipe 03. Unscrew the 2 side screws to open the cover.

Undo the safety screw (04) and lift the guard (05).

Frame perforation
The sides and the bottom of the product have pre-drilled holes for passage of the electrical conductors and the delivery pipe. The holes made for installation should be protected by the sealing rings provided.

Assembly of the seal rings
During assembly, be careful not to damage the rubber and thereby reduce its air-tightness. During assembly, be careful not to damage the rubber and thereby reduce its air-tightness.

- Pull the sealing ring allowing it to pass through the hole until the conical part is completely out.
- In the final position, the sealing ring should completely close the passage hole.

RATIO BETWEEN THE DIMENSIONS OF THE SEALING RINGS AND THE DIAMETER OF THE USABLE CABLES
| RATIO BETWEEN THE DIMENSIONS OF THE SEALING RINGS AND THE DIAMETER OF THE USABLE CABLES | ||
| Sealing ring | Ø passage hole mm | Ø cable mm |
| M16 | 16.5 | From 5 up to 9 |
| M20 | 20.5 | From 8 up to 12 |
Installation options
The product can only be installed in a vertical position. The product can be installed with different brackets and supports. Remember to exclusively use brackets and accessories approved for installation.
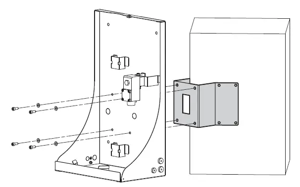
Wall or floor fastening
The product can be fastened directly to the wall or the floor using the holes present on the frame.

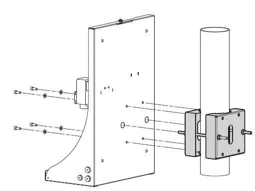
Fixing with corner adaptor module or pole
Pay attention to the fixing. Tightening torque: 16.5Nm. The product can also be assembled on the pole collar or corner adaptor.
WASEX+NXCOL

WASEX+NXCW

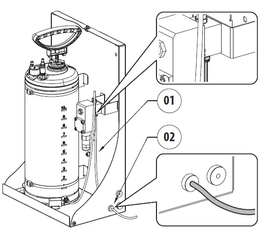
Delivery pipe connection
Connect the delivery pipe (01), passing it through the seal ring (02).

Ground connection
Earthing equipotential connection
- The equipotential connection must be carried out using an external cable with a minimum 4mm² section (11AWG).
- Connect the cable for the earthing equipotential connection with the eyelet terminal supplied (suitable for cables with 4mm² (11AWG) up to 6mm² (9AWG) section).
- Fasten the eyelet using the screw (M5) and lock washer
Characteristics of the M5 screw
- Material: A4 Class 70
- Screw head: ISO 4762
- Length: 8mm (0.3in)
The solenoid valve and the pressure switch (if assembled) are connected to the ground as per the instruction of the single product and in compliance with EN IEC 60079-14.
Connection of the solenoid valve
When commencing installation make sure that the specifications for the power supply for the installation correspond with those required by the device.
Pressure switch connection
Use and maintenance manual of the pressure switch for further information.
Connection to PTZ MAXIMUS MPX, MAXIMUS MPX SERIES2
To install electrical connections between the products, use the communication box by VIDEOTEC, MAXIMUS MBX or MAXIMUS MBA, alternatively use an explosion-proof junction box with equivalent characteristics.

Connection of the solenoid valve to the PTZ (MAXIMUS MPX, MAXIMUS MPX SERIES2)
The RL2 relay in the PTZ can withstand a voltage of up to 30Vac or 60Vdc. Turn off one of the supply poles of the solenoid valve via the RL2 relay of the PTZ. Consult the PTZ. The solenoid valve can be powered to 24Vac or 24Vdc with an isolated transformer or isolated converter. The polarity of the voltage, applied to the power terminal, is irrelevant.

Connection of the pressure switch to the PTZ MAXIMUS MPX, MAXIMUS MPX SERIES2
Use the auto-powered alarm input AL1 to connect the pressure switch to MPX (consult the PTZ manual). Connect as in the diagram below

Connection to the camera MAXIMUS MVX
To install electrical connections between the products, use the communication box by VIDEOTEC, MAXIMUS MBX or MAXIMUS MBA, alternatively use an explosion-proof junction box with equivalent characteristics.

MNVCWASEX 2222

Connection of the solenoid valve to the camera MAXIMUS MVX
The RL1 relay in the MVX can withstand a voltage of up to 30Vac or 60Vdc. Turn off one of the supply poles of the solenoid valve via the RL1 relay of the MVX. Consult the camera.
Connect as in the diagram below
- The solenoid valve can be powered to 24Vac or 24Vdc with an isolated transformer or isolated converter.
- The polarity of the voltage, applied to the power terminal, is irrelevant.

Connection of the pressure switch to the camera MAXIMUS MVX
- Use the auto-powered alarm input AL1 consult the camera.
- Connect as in the diagram below.

Connection to the housing MAXIMUS MHX
To install electrical connections between the products, use the communication boxes by null, MBX or MBA, alternatively use an explosion-proof junction box with equivalent characteristics.


Connection of the solenoid valve to the housing MAXIMUS MHX
The Washer relay in the MHX is suitable for voltages up to 30Vac or 60Vdc. Turn off one of the supply poles of the solenoid valve via the Washer relay terminal J11 of the MHX. Consult the housing.
Connect as in the diagram below
- The solenoid valve can be powered to 24Vac or 24Vdc with an isolated transformer or isolated converter.
- The polarity of the voltage, applied to the power terminal, is irrelevant.

Connection of the pressure switch to the housing (MAXIMUS MHX)
- The housing does not have a prearranged alarm input.
- Connection of the pressure switch to an alarm contact of the main electric box.
Filling the tank
The operation of the pressure switch and the frequency of air filling depend on the amount of water in the tank. Testing is recommended to determine the amount of water in the tank appropriate for the specific application.

With the handle 01 of the pump locked in the safe position, unscrew the pump from the container. Fill the tank (02) (10l max) Screw in the pump in the tank.

Pressurize the tank using the manual pump
Release the handle of the pump by pressing it downwards and turning clockwise. Pressurize the tank pumping with the handle of the pump until the desired pressure is reached
- 4bar with 20m water delivery antistatic pipe (supplied)
- 6bar with 30m water delivery antistatic pipe (available as an accessory)
If the maximum pressure (6bar) is exceeded, the safety valve activates to discharge the excess pressure. Lock the knob of the pump in the safe position, pressing it downwards and turning anti clockwise.

Pressurise the tank using the compressed air valve
Pressurising the tank using compressed air is only permitted outside the classified zone. Connect the compressed air pipe on the compressed air filling valve (01). Once the desired pressure is generated, remove the compressed air pipe.

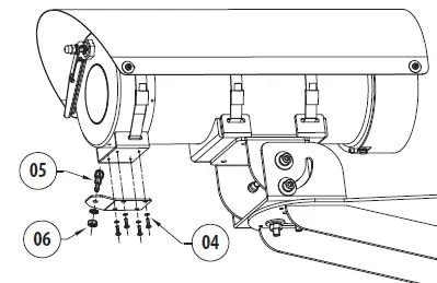
Product closure
Insert the guard and tighten the safety screw.
Screw in the two previously removed side screws.

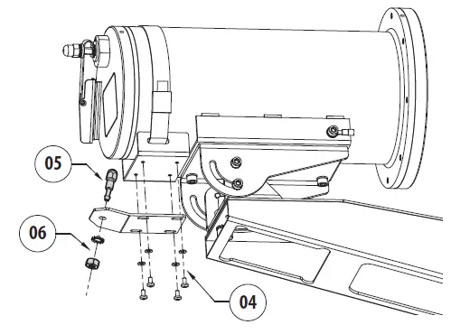
Washer installation MAXIMUS MPX, MAXIMUS MPX SERIES2
Fasten the support (01) onto the PTZ body with the metal clip (02) provided.

Shorten the semi-rigid washer pipe (03) as needed. Unscrew the nut (04) from the joint and slide it along the pipe. Insert the end of the pipe into the spinner (05).

Lock the nut to the coupling.

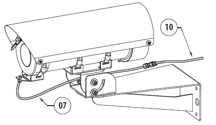
Fasten the pipe to the washer support using the bracket (06), the screws and the washers (07) provided. Connect the supply pipe (08).

To calibrate the jet, orientate the nozzle towards the window of the housing.
To start the wash system refer to the PTZ camera.
Installation options

Washer installation (MAXIMUS MVX)
- Fasten the bracket (01) onto the body of the camera with the metal clip (02) provided.
- Fasten the support for the delivery pipe (03) by means of the screws and washers provided (04).

Unscrew the nozzle (05) from the semi-rigid pipe. Insert the nozzle (05) through the hole in the support bracket (03) and secure with the nut and washer provided (06).

Screw the semi-rigid pipe (07) to the nozzle fixed to the bracket. 
Shorten the semi-rigid washer pipe (07) as needed. Unscrew the nut (08) and slide it along the pipe. Insert the end of the pipe into the spinner (09).

Lock the nut to the coupling.
Connect the supply pipe (10).
To start the wash system refer to the camera.
Washer installation (MAXIMUS MHX)
- Fasten the bracket (01) onto the body of the housing with the metal clip (02) provided.
- Fasten the support for the semi-rigid pipe (03) by means of the screws and washers provided (04).

Unscrew the nozzle 05 from the semi-rigid pipe. Insert the nozzle 05 through the hole in the support bracket 03 and secure with the nut and washer provided (06).

Screw the semi rigid pipe (07) to the nozzle fixed to the bracket.
Shorten the semi-rigid washer pipe 07 as needed. Unscrew the nut 08 and slide it along the pipe. Insert the end of the pipe into the spinner 09.

Lock the nut to the coupling.

Connect the supply pipe (10).
To start the wash system refer to the housing.
Maintenance
Please provide the device serial number when requesting any replacement parts.
Routine maintenance
Filling the tank
Fill the tank with reference to the pump installation procedure.
Inspecting the cables
The cables should not show signs of damage or wear, which could generate hazardous situations. In this case extraordinary maintenance is necessary.
Cleaning
Routine cleaning
The outside surface of the product must never be covered in more than 5 mm of dust. Frequency will depend on the type of environment in which the product is used. The device should be cleaned using a damp cloth; compressed air must not be used.
Information on disposal and recycling
The European Directive 2012/19/EU on Waste Electrical and Electronic Equipment (WEEE) mandates that these devices should not be disposed of in the normal flow of municipal solid waste, but they should be collected separately in order to optimize the recovery stream and recycling of the materials that they contain and to reduce the impact on human health and the environment due to the presence of potentially hazardous substances. The symbol of the crossed out bin is marked on all products to remember this. The waste may be delivered to appropriate collection centers, or may be delivered free of charge to the distributor where you purchased the equipment at the time of purchase of a new equivalent or without obligation to a new purchase for equipment with size smaller than 25cm (9.8in). For more information on proper disposal of these devices, you can contact the responsible public service.
Technical data
Mechanical
Materials
External enclosure: stainless steel AISI 316L Antistatic water delivery pipe: antistatic polymer
Antistatic water delivery pipe (supplied)
- Length: 20m (66ft)
- Schrader type compressed air filling valve
- Pressure: 6bar max
Delivery
- 20m (66ft), 4bar (with 20m water delivery antistatic pipe supplied)
- 30m (98ft), 6bar (with 30m water delivery antistatic pipe available as an accessory)
- Water tank capacity: 10l (2.6gal)
Cable inputs
- 1 x 1/2 NPT (WASEX2T4AT, WASEX2T4GOR,
- WASEX2T4IC, WASEX2T4IN, WASEX2T4UL)
- 2 x 1/2 NPT (WASEX2T4ATPR)
Dimensions (WxHxL)
- 429x697x255mm
- 16.9×27.4x10in
Unit weight
- 18kg (40lb) WASEX2T4AT
- WASEX2T4GOR
- WASEX2T4IC
- WASEX2T4IN
- WASEX2T4UL
- 20Kg WASEX2T4ATPR
Electrical
WASEX2T4AT, WASEX2T4GOR, WASEX2T4IC, WASEX2T4IN, WASEX2T4UL
Solenoid valve
- Power supply: 24Vac, 50/60Hz or 24Vdc
- Consumption: 5W
WASEX2T4ATPR
Solenoid valve
- Power supply: 24Vac, 50/60Hz or 24Vdc
- Consumption: 5W
- Pressure switch dry contact for alarm signal management
- Consult the use and installation manual of the pressure switch for further information supplied.
Environment
WASEX2T4AT, WASEX2T4GOR, WASEX2T4IC, WASEX2T4IN, WASEX2T4UL
- For indoors and outdoors installation
- Operating temperature of solenoid valve: from -40°C (-40°F) up to +60°C (140°F)
- Operating temperature of device: depending on the solidification temperature of the liquid.
- Relative humidity: from 5% up to 95%.
WASEX2T4ATPR
For indoors and outdoors installation
- Operating temperature of solenoid valve from -40°C (-40°F) up to +60°C (140°F)
- Pressure switch working temperature from -40°C (-40°F) up to +80°C (+176°F)
- Operating temperature of device: depending on the solidification temperature of the liquid
- Relative humidity: from 5% up to 95%
Certifications
Marine applications WASEX2T4AT, WASEX2T4GOR, WASEX2T4IN
Lloyd’s Register Marine Type Approval certification
- Test Specification Number 1 (ENV1, ENV2, ENV3, ENV5)
- Salty fog resistance EN60068-2-52
- Tested at 70°C (158°F) for 16 hours in compliance with EN60068-2-2
Technical drawings
- The indicated measurements are expressed in millimeters.
- The number of holes for cable passage depends on the model.


Washer installation (MAXIMUS MVX)
















