Vytronix L4RK Cordless Vacuum Cleaner

OVERVIEW

- Motorised Floor head 10. ON/Off switch
- Floor head release button 11. Battery release button
- Extension tube 12. Dust container release button
- Accessory holder 13. Dust container bottom release button
- Wall mount 14. Battery
- Exension tube release button 15. Charger
- Screws 16. Dusting nozzle
- Battery capacity indicator 17. Crevice nozzle
- Power adjustment key 18. Spare HEPA filter protector
ACCESSORIES
Extension Tube: Use for extended reach when using as an upright unit or for those hard-to-reach places.
Motorized Floor Head: Use this for hard floors and carpets. Easily picking up dirt dust and small debris.
Dusting Brush: Use this for vacuuming fabric furnishings such as sofas armchairs and curtains. Ideal for use on car seats and in caravans.
Crevice Nozzle: Features a narrow nozzle that makes quick work of vacuuming tight spaces such as corners and hard to reach areas.
TECHNICAL SPECIFICATIONS
| Wattage | 300W |
| Voltage | 29.6V |
| Charger Input Voltage | 100-240V / 50/60Hz |
| Charger Output Voltage | 35V |
| Charge Time | 4 – 5 hours |
| Running Time | Up to 35 minutes |
IMPORTANT SAFETY INSTRUCTIONS
For your own safety when using an electrical appliance please follow basic safety precautions including:
- Follow all instructions carefully when assembling and using this product.
- Never leave the charger on or plugged in for prolonged periods of time when not in use.
- For indoor use only.
- Do not use appliance if the charger or battery are damaged.
- Do not use this product without the dust container & filter in place.
- Do not handle the plug, charger, or appliance with wet hands.
- Do not operate this vacuum for extended periods of time near heat sourcessuchasfires, radiators, heaters etc. This appliance is not suitable for vacuuming burning or smoking items such as matches.
- This product features a thermal safety cut-out device. Should the vacuum overheat power will instantly be stopped. In this event, the device should be switched off, and left to cool completely before attempting to use again.
- Ensure the appliance is completely switched OFF via the main body and at the socket before removing from the battery charger. Do not overstretch the charging cable.
- D o not submerge any part of the appliance in water.
- When removing the charger plug from the mains supply, do so from the plug itself and not by the means of the cord.
- Ensure that all vents and openings are kept clear of dust, lint, hair and anything that may reduce airflow. A clogged vent may cause the product to overheat.
- Ensure that hair, loose clothing, fingers, and all parts of body are kept away from the openings and moving parts of the vacuum.
- This product uses a lithium-ion battery. Waste batteries should be safely recycled where possible.
- The appliance is only to be used with the battery provided in conjunction with the supplied charger.
- Store battery away from high temperatures.
- WARNING! Do not pierce or attempt to open the battery under any circumstances.
- In the event of a leaking battery, ensure that acid stays away from skin and eyes. If acid comes into contact with skin or eyes- rinse with clean, fresh water and seek medical advice immediately.
- Extra care must be taken when vacuuming the stairs.
- Ensure the appliance is turned off before connecting any accessories.
- This appliance is not suitable for vacuuming liquids or wet surfaces.
- Do not leave this product for extended periods of time in direct sunlight.
- Any person using this product should be fully aware of the hazards involved. A responsible adult should always ensure the product is used under supervision or that adequate instruction has been given to adults with reduced physical mental or sensory capabilities, or anyone with a lack of experience using a similar product.
- This product is not a toy. Children under 16 should be supervised to ensure that they do not play with this appliance.
- In the event the appliance is not working correctly. Please use the troubleshooting and maintenance advise below. Should this not resolve the issue please contact Vytronix support at [email protected].
- Ensure the appliance is checked prior to first use for any damage or defect. Contact Vytronix Ltd upon receipt to seek advice.
- Ensure correct maintenance of the appliance is followed on a regular basis.
ASSEMBLY INSTRUCTIONS
NOTE: Before assembling the appliance fix the included mount to the wall Ensure it is placed high enough for the vacuum to be securely mounted.
Assembling the main body
Install the battery into the housing by sliding it into the appropriate slot. It will “click” into place.

Assembling the motorised floor head
- Insert the connector of the motorised floor head into the base of the extension tube by clicking it into place.

- Attach the floor head and tube to the main body by slotting it into place via the air duct connector.

- If using the floor head without the tube, simply attach it to the main body via the air duct connector. It will “click” when secure.

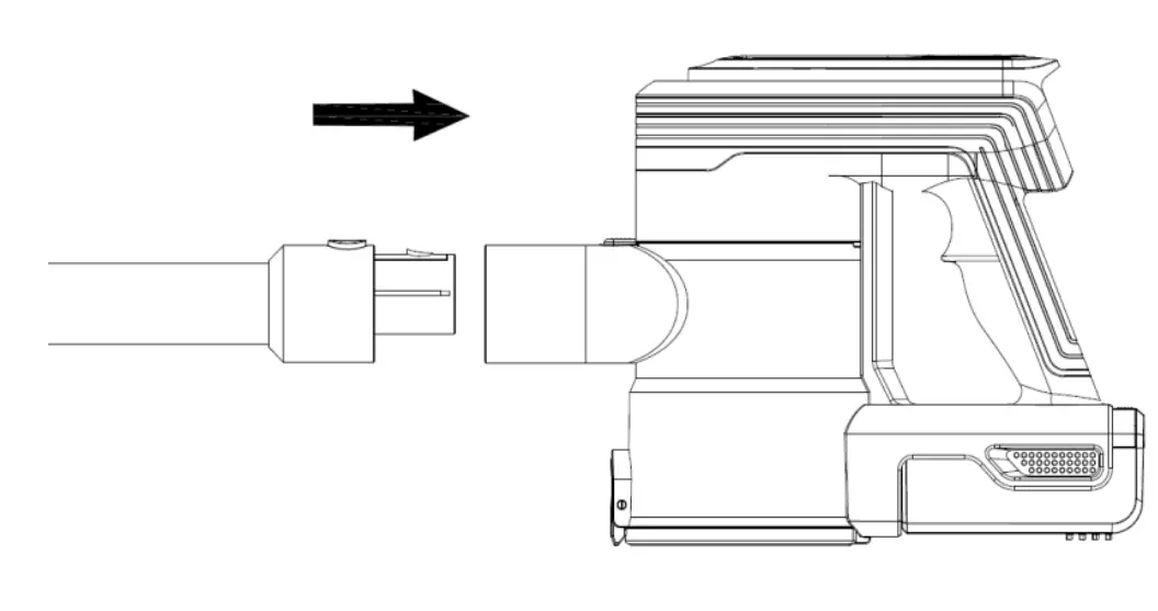
Assembling the accessories:
- Attach the extension tube to the main body by slotting it into place the via duct connector

- Attach the crevice nozzle to the base of the extension tube via the connector. It will “click” into place.

- If using accessories without the tube, simply attach them to the main body via the air duct connector. It will “click” when secure

- Attach the dusting nozzle to the extension tube or the main body works the same as the crevice nozzle.

BEFORE FIRST USE
- Plug the cable into the power inlet located on the side of the battery. When charging, the energy indicator light will be illuminated RED. Once fully charged this indicator light will change to BLUE. Indicator lights may turn off when fully charged. Once fully charged, turn off the charger plug from the power socket.

The battery can also be charged when it is housed in the main body directly. The three lights on the back of the body will indicate the charge level of the battery. When the battery is fully charged, the lights will always be BLUE.
NOTE: In the event of a maintenance issue with the product such as a jammed brush roll, all three BLUE indicator lights will flash on and off until the issue is resolved, in this case turn the cleaner off until the issue is rectified. - Ensure that the air vent, suction pipe and telescopic wand are free from blockages and dust. Should they suddenly become clogged, switch off the appliance immediately and clear the blockage before attempting to use the vacuum again.
- Remove any sharp or large objects from the path of the vacuum before use as these may irreparably damage the appliance.
OPERATING THE VACUUM
CAUTION! The vacuum must be fully charged before using for the first time.
- Remove the vacuum cleaner from the wall mount. If using as a handheld unit, disassemble the tube and attach the desired accessory.
- Use the Power ON/OFF button to turn on the appliance.
- To increase the suction, press the power adjustment key to increase the strength. Ideal for when you are cleaning carpets with a high pile.
- To turn off the vacuum, press the Power ON/OFF button again.
MAINTENANCE
Cleaning the dust container:
- Press the dust cup release button and rotate the cup counterclockwise,
- Take off the dust cup from the main body.

- Over a waste bin, press the dust release button to open the bottom cover and expel any dust and debris. Wipe clean only, do not submerge in water.

Cleaning the filter:
- Remove the dust container from the main body.
- Twist the filter housing clockwise and remove the filter housing.

- Remove the foam filter and separate the HEPA filter.

- Check the HEPA filter for pleats of dust and remove any if found. IMPORTANT! The HEPA filter requires less frequent cleaning than the foam filter, once any dust is removed from the HEPA filter it can be refitted together with the spare foam filter back into the housing and cleaning can continue. Remember that the HEPA filter should still be fully cleaned using the steps below at least once a quarter to ensure the best performance of the vacuum.
4.To clean the foam filter, remove any dust built up and rinse thoroughly under clean fresh water. WARNING! Do not use soap or other cleaning detergents. - Allow filter to dry naturally for at least 24hours before placing back into the vacuum. Do not place on radiators or use additional appliances, such as a hair dryer, to dry the filter. Doing so may cause the filter to warp and become unusable.
- The HEPA filter can be cleaned in the same way as above.
WARNING! Never use the vacuum without the HEPA filter and foam filter in place
Cleaning the brush roll:
- Slide the brush roll securing catch away from the brush as indicated in the illustration below.
- Remove the brush roll from the brush housing.

- Carefully clean and remove any hairs and fibers from the brush roll. Wipe clean only, do not use any soap or harsh cleaning agents.
- Allow to dry naturally before replacing the brush roll back into the housing.
- Slide securing catch A back into original position to secure the brush roll.

TROUBLESHOOTING
The appliance will not power on.
- This may be caused by a flat battery. This can occur if the appliance has been used or stored for an extended period of time. Connect the vacuum to the charger and allow for a full charging cycle to complete.
The vacuum stopped suddenly:
- This will occur if the safety cut-out device has been activated. This device is designed to prevent your appliance from overheating. Ensure the vacuum is turned off, disconnect all accessories, and leave to cool down for at least half an hour before attempting to operate again. Try to identify the source of the overheat by checking for blockages in the extension tube motorised floor head and accessories using the maintenance steps in this user manual. Empty the dust container and clean or replace the filter/s.
The suction of the vacuum has reduced:
- Turn the vacuum off. Disconnect the floor head, extension tube and any accessories. Check for and remove any blockages from the canister, HEPA filter, foam filter, air duct, extension tube, floor head and accessories.
Motorised floor head is not rotating:
- This tends to occur when there are too many fibers wrapped around the brush roll restricting movement. Consult the maintenance section of this manual for instructions on how to appropriately clean the brush roll.
The charging indicator light does not flash up red:
- There may be no power reaching the vacuum from the charger. Ensure that power is being supplied to the mains socket and that the charger is turned on. Ensure the charging cable is securely connected to the vacuum
- Ensure the mains socket is switched off before checking the charging cable itself. Do not attempt to use if the cable is split, frayed, or otherwise damaged. Instead, seek a replacement charger.
The application time of the vacuum is less than it used to be:
- Ensure the battery has completed a full charging cycle. An insufficient charging cycle will result in reduced application time.
- There may be reduced energy discharge in the battery. This is normal and gradually occurs in all batteries over time.
Warranty
To register you free 2 year Vytronix guarantee visit www.vytronix.com using product code:
brandnew-vytronix-l4rk
Safe disposal
This marking indicates that this product should not be disposed with other household wastes throughout the EU. To prevent possible harm to the environment or human health from uncontrolled waste disposal, recycle it responsibly to promote the sustainable reuse of material resources. To arrange safe disposal of your used device, please use the return and collection systems or contact the retailer where the product was purchased.
CUSTOMER SUPPORT
If you have any queries or require assistance with
using your product including set up, troubleshooting
or registration please email our customer care on
[email protected]
Register your 2 year warranty at www.vytronix.com


































