DELL AC511M Stereo SoundBar

What’s included
- Bracket
- Thick rubber cushion
- Documents
- Soundbar

Setting up your sound bar
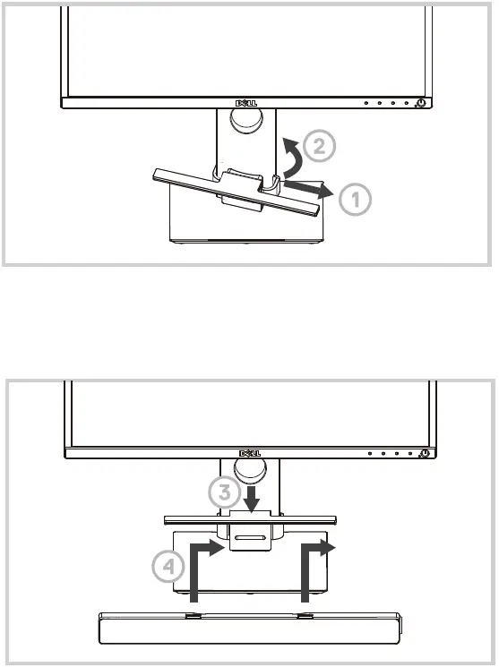
Installing the sound bar to your Dell monitor
With bracket
- Pull the bracket’s clamp.
NOTE: Use the thick rubber cushion between the bracket and the non-swivel base monitor stand. - Secure the bracket to the monitor stand.

- Push the bracket down to align it with the stand base.
- Align the tabs on the sound bar with the slots on the bracket. Slide the sound bar to the right to secure the soundbar to the bracket.

Turning on your sound bar
NOTE: If the sound bar is not detected, connect the uplink cable that came with your Dell monitor. Connect one end of the uplink cable to the USB port on the Dell monitor and the other end to the USB port on your Dell computer.
Connect the USB cable of the sound bar to the USB port of the Dell monitor.
The sound bar turns on automatically when the computer is turned on. The light on the right side of the sound bar turns solid white.

Connecting your sound bar
Use the audio-in or aux-in jack to connect your audio devices such as tablets or smartphones to your Dell sound bar.
Audio-in port
You can play audio using the audio-in cable that came with your sound bar.
- Connect the audio-in cable to the aux-in port on the left side of the soundbar.
- Connect the other end of the audio-in cable to your audio device.
- Play music and adjust the volume as desired.
NOTE: When audio in is the default playback device, the light on the microphone button turns solid red. The sound bar microphone cannot be used in this playback mode.

Headphone jack
- Connect the headphone to the headphone jack on the soundbar.
- Play music and adjust the volume as desired.
- Press the Default playback button on the left side of the sound bar to toggle between the speaker and headphones.
NOTE: The Default playback button is disabled when the headphone is not connected to the soundbar.

Adjusting the volume
You can directly control the volume of a computer using the volume knob on the soundbar

FAQ’s
The 5W RMS front-firing speakers deliver rich and powerful audio, with a wide frequency response range of 90Hz to 20kHz providing deep bass and superb sound clarity.
A soundbar is an audio accessory that can be mounted to a compatible Dell monitor.
Background noise will be minimized while you’re on a call with the soundbar’s dual mic array and echo cancellation feature. Front-facing call controls and LED indicators make it easy to manage your calls.
There are two variants of the AC511 soundbar: The Dell AC511 soundbar attaches to the bottom of certain Dell monitors. The Dell AC511M soundbar attaches to the stand of certain Dell monitors with an included bracket.
A soundbar is a type of loudspeaker that has a long, rectangular shape. They are designed to match the length of a television and are much wider than standard speakers. A single soundbar has multiple speakers built into it and usually has a subwoofer either built-in or as an additional component.
A sound bar is essentially a small speaker system that sits below your TV screen that provides an immersive audio experience. Unlike a traditional surround sound system which features multiple speakers and wires, sound bars are a simple and space-efficient way to get next-level sound in your living room.
Disconnect the soundbar and restart your computer. Reconnect the soundbar and check if it regains functionality. Open Device Manager on your computer and check if the soundbar is listed under audio devices. Test the USB port on the Dell monitor by connecting another USB device to it.
Soundbars and sound bases vary in terms of style, sound, and placement. Sound bars are long and slender devices that are commonly fixed and have a few internal speakers as well as an external sub. Soundbases are smaller, lie behind the TV, and have more internal speakers.
Soundbars give a boost to your home entertainment system, with room-filling sound that takes your audio to the next level. Soundbars are versatile, and there are a few different ways that they can be set up with your Samsung TV.
In a soundbar, multiple speakers are placed in a single cabinet, which helps to create stereo sound or a surround-sound effect. A separate subwoofer is typically included or may be used to supplement, a soundbar.
Whether you’re looking to improve your TV’s sound quality or want a better surround sound experience, a soundbar is a great option. Soundbars are relatively affordable and easy to set up, and they can provide a significant upgrade over your TV’s built-in speakers.
Most soundbars will drastically improve audio quality, including dialogue, compared to a TV’s built-in speakers.
One end of the uplink cable to the USB port on the Dell monitor and to the USB port on your Dell computer. USB power source, observe if the white LED on the right of the soundbar lights up. properly inserted into the USB port. function, remove or unplug the soundbar from the system and restart the computer.
Most soundbar issues result from improper connection, an incorrect device setting, and a poor physical arrangement. Most fixes are fairly simple, though some may require some time to troubleshoot.
Most sound bars come to Wi-Fi and/or Bluetooth-enabled, so you can easily stream music from any computer, phone, or tablet – making your sound bar a stereo, too. And check for HDMI-switching, which makes it easy to switch audio sources without having to re-route HDMI cables.
Download this PDF Link: DELL AC511M Stereo Sound Bar Quick Start Guide




















