SAMSUNG QLED TV User Manual
SAMSUNG QLED TV User Manual
Thank you for purchasing this Samsung product.
To receive more complete service, please register your product at www.samsung.com
Model ___________ Serial No. _____________
If you have any questions, please call us at 1-800-SAMSUNG (1-800-726-7864) for assistance.
Before Reading This User Manual
This TV comes with this user manual and an embedded e-Manual.
Before reading this user manual, review the following:
![]() | User Manual | Read this provided user manual to see information about product safety, installation, accessories, initial configuration, and product specifications. |
![]() | e-Manual | For more information about this TV, read the e-Manual embedded in the product. • To open the e-Manual, Settings > Support > Open e-Manual |
Scan this QR code with your smart device to visit Samsung’s online Customer Service Center. You can also use your PC to visit “www.samsung.com” and click Support. On the website, you can download the manuals and see its contents on your PC or mobile device.
Learning the e-Manual’s assistance functions
| Search | Select an item from the search results to load the corresponding page. | |
| A-Z | Index | Select a keyword to navigate to the relevant page. |
| Recently Viewed Topics | Select a topic from the list of recently viewed topics. |
• Some menu screens cannot be accessed from the e-Manual.
Learning the functions of the buttons that appear on e-Manual topic pages
| Try Now | Allows you to access the corresponding menu item and try out the feature right away. | |
| Link | Access an underlined topic referred to on an e-Manual page immediately. |
Warning! Important Safety Instructions
Please read the Safety Instructions before using your TV.
Refer to the table below for an explanation of symbols that may be on your Samsung product.
| CAUTION | |||
| RISK OF ELECTRIC SHOCK. DO NOT OPEN. | ![]() | Class II product: This symbol indicates that a safety connection to electrical earth (ground) is not required. If this symbol is not present on a product with a power cord, the product MUST have a reliable connection to protective earth | |
| CAUTION: TO REDUCE THE RISK OF ELECTRIC SHOCK, DO NOT REMOVE COVER (OR BACK). THERE ARE NO USER-SERVICEABLE PARTS INSIDE. REFER ALL SERVICING TO QUALIFIED PERSONNEL. | ∼ | AC voltage: Rated voltage marked with this symbol is AC voltage. | |
![]() | This symbol indicates that high voltage is present inside. It is dangerous to make any kind of contact with any internal part of this product. | DC voltage: Rated voltage marked with this symbol is DC voltage. | |
| This symbol indicates that this product has included important literature concerning operation and maintenance. | ![]() | Caution. Consult instructions for use: This symbol instructs the user to consult the user manual for further safety-related information. | |
- The slots and openings in the cabinet and in the back or bottom are provided for necessary ventilation. To ensure the reliable operation of this apparatus and to protect it from overheating, these slots and openings must never be blocked or covered.
– Do not place this apparatus in a confined space, such as a bookcase or built-in cabinet, unless proper ventilation is provided.
– Do not place this apparatus near or over a radiator or heat register, or where it is exposed to direct sunlight.
– Do not place vessels (vases etc.) containing water on this apparatus, as this can result in a fire or electric shock. - Do not expose this apparatus to rain or place it near water (near a bathtub, washbowl, kitchen sink, or laundry tub, in a wet basement, or near a swimming pool, etc.). If this apparatus accidentally gets wet, unplug it and contact an authorized dealer immediately.
- This apparatus uses batteries. In your community, there might be environmental regulations that require you to dispose of these batteries properly. Please contact your local authorities for disposal or recycling information.
- Do not overload wall outlets, extension cords, or adaptors beyond their capacity, since this can result in fire or electric shock.
- Power-supply cords should be placed so that they are not likely to be walked on or pinched by items placed upon or against them. Pay particular attention to cords at the plug end, at wall outlets, and at the point where they exit from the appliance.
- To protect this apparatus from a lightning storm, or when left unattended and unused for long periods of time, unplug it from the wall outlet and disconnect the antenna or cable system. This will prevent damage to the set due to lightning and power-line surges.
- Before plugging in the AC power cord of the TV, make sure that the operational voltage of the TV matches the voltage of your local electrical power supply. Refer to the power specifications section of the manual and/or the power supply label on the product for voltage and amperage information.
- Never insert anything metallic into the open parts of this apparatus. This may cause a danger of electric shock.
- To avoid electric shock, never touch the inside of this apparatus. Only a qualified technician should open this apparatus.
- Be sure to plug in the power cord until it is firmly seated. When unplugging the power cord from a wall outlet, always pull on the power cord’s plug. Never unplug it by pulling on the power cord. Do not touch the power cord with wet hands.
- If this apparatus does not operate normally – in particular, if there are any unusual sounds or smells coming from it – unplug it immediately and contact an authorized dealer or Samsung service center.
- Be sure to pull the power plug out of the outlet if the TV is to remain unused or if you are going to leave the house for an extended period of time (especially when children, elderly, or disabled people will be left alone in the house).
– Accumulated dust can cause an electric shock, an electric leakage, or a fire by causing the power cord to generate sparks and heat or by causing the insulation to deteriorate. - Be sure to contact an authorized Samsung service center for information if you intend to install your TV in a location with heavy dust, high or low temperatures, high humidity, chemical substances, or where it will operate 24 hours a day such as in an airport, a train station, etc. Failure to do so may lead to serious damage to your TV.
- Use only a properly grounded plug and wall outlet.
– An improper ground may cause electric shock or equipment damage. (Class l Equipment only.) - To turn off this apparatus completely, disconnect it from the wall outlet. To ensure you can unplug this apparatus quickly if necessary, make sure that the wall outlet and power plug are readily accessible.
- Store the accessories (batteries, etc.) in a location safely out of the reach of children.
- Do not drop or strike the product. If the product is damaged, disconnect the power cord and contact a Samsung service center.
- To clean this apparatus, unplug the power cord from the wall outlet and wipe the product with a soft, dry cloth. Do not use any chemicals such as wax, benzene, alcohol, thinners, insecticide, air fresheners, lubricants, or detergents. These chemicals can damage the appearance of the TV or erase the printing on the product.
- Do not expose this apparatus to dripping or splashing.
- Do not dispose of batteries in a fire.
- Do not short-circuit, disassemble, or overheat the batteries.
- There is danger of an explosion if you replace the batteries used in the remote with the wrong type of battery.
Replace only with the same or equivalent type. - WARNING – TO PREVENT THE SPREAD OF FIRE, KEEP CANDLES AND OTHER ITEMS WITH OPEN
FLAMES AWAY FROM THIS PRODUCT AT ALL TIMES.
- Use care when touching the TV after it has been on for some time. Some parts can be warm to the touch.
- State of California Proposition 65 Warning
WARNING: Cancer and Reproductive Harm – www.P65Warnings.ca.gov
Internet security
Samsung takes a number of steps to protect its Internet-compatible Smart TVs against unauthorized incursions and hacking. For example, certain sensitive communications between the TV and the Internet servers are encrypted. In addition, the TV’s operating system has adopted controls to prevent the installation of unauthorized applications. Although we take steps to protect your Smart TV and personal information, no Internet-connected device or transmission is completely secure. We, therefore, encourage you to take additional steps to safeguard your TV, secure your Internet connection, and minimize the risk of unauthorized access. These steps are listed below:
- When Samsung releases software updates to improve the security of your TV, you should promptly install these updates. To automatically receive these updates, turn on Auto Update in the TV’s menu (
>Settings > Support > Software Update > Auto Update). When an update is available, a popup message appears on the TV screen. Accept the software download and update by selecting Yes when prompted. Take steps to secure your wireless access point and network. Your access point’s manual should provide additional details about how to implement the following measures:
– Secure your wireless access point’s management settings with a unique password to prevent unauthorized changes to security-related settings.
– Implement standard encryption (e.g., WPA2 encryption) on your wireless access point to secure your wireless network signal.
– Secure access to your wireless network with a hard-to-guess password.
– Confirm your access point’s firewall setting is enabled (if so equipped).
– Make sure that all your Internet-connected devices are behind your network’s firewall.
– If your access point or modem has a standby mode button, use it to disconnect your home network from the Internet when it is not in use. - Use strong passwords for all your Internet accounts (Netflix, Facebook, etc.). If your TV has a camera, recess the camera into the TV’s bezel when it is not in use. Recessing the camera makes it inoperative.
- If any unexpected messages appear on your TV screen requesting permission to link a device or enable a remote session, do NOT accept.
- Do not visit suspicious websites and do not install any suspicious programs. We recommend that users install only those authorized apps provided by Samsung through Samsung Smart Hub.
Figures and illustrations in this User Manual are provided for reference only and may differ from the actual product appearance. Product design and specifications may change without notice.
TV Installation
Mounting the TV on a wall
If you mount this TV on a wall, follow the instructions exactly as set out by the manufacturer. Unless it is correctly mounted, the TV may slide or fall and cause serious injury to a child or adult and serious damage to the TV.
For models providing wall mount adapters, install the adapters as shown in the figure below before installing the wall mount kit.
- Refer to the installation manual included with the Samsung wall mount kit.

- Samsung Electronics is not responsible for any damage to the product or injury to yourself or others if you choose to install the wall mount on your own.
- To order the wall mount kit, contact the Samsung service center at 1-800-SAMSUNG (1-800-726-7864).
- You can install your wall mount on a solid wall perpendicular to the floor. Before attaching the wall mount to surfaces other than plaster board, contact your nearest dealer for additional information. If you install the TV on a ceiling or slanted wall, it may fall and result in severe personal injury.
- When installing a wall mount kit, we recommend you fasten all four VESA screws.
- If you want to install a wall mount kit that attaches to the wall using two top screws only, be sure to use a Samsung wall mount kit that supports this type of installation. (You may not be able to purchase this type of wall mount kit, depending on the geographical region.)
- Standard dimensions for wall mount kits are shown in the table below.
- If you are installing a third-party wall mount, note that the length of the screws you can use to attach the TV to the wall mount is shown in column C in the table below.
| TV size in | VESA screw hole specs (A * B) in millimeters | C (mm) | Standard Screw | Pitch (mm) | Quantity | ![]() |
| inches | 200 x 200 | 41-43 | M8 | 1.25 | 4 | |
| 49-55 | 400 x 300 | |||||
| 65 | 400 x 400 | |||||
| 75 | 600 x 400 |
Do not install your wall mount kit while your TV is turned on. This may result in personal injury from electric shock.
- Do not use screws that are longer than the standard dimension or do not comply with the VESA standard screw specifications. Screws that are too long may cause damage to the inside of the TV set.
- For wall mounts that do not comply with the VESA standard screw specifications, the length of the screws may differ depending on the wall mount specifications.
- Do not fasten the screws too firmly. This may damage the product or cause the product to fall, leading to personal injury. Samsung is not liable for these kinds of accidents.
- Samsung is not liable for product damage or personal injury when a non-VESA or non-specified wall mount is used or when the consumer fails to follow the product installation instructions.
- Do not mount the TV at more than a 15-degree tilt.
- Always have two people mount the TV onto a wall.
– For 82 inch or larger models, have four people mount the TV onto a wall.
Providing proper ventilation for your TV
When you install your TV, maintain a distance of at least 4 inches (10 cm) between the TV and other objects (walls, cabinet sides, etc.) to ensure proper ventilation. Failing to maintain proper ventilation may result in a fire or a problem with the product caused by an increase in its internal temperature.
• When you install your TV with a stand or a wall mount, we strongly recommend you use parts provided by Samsung Electronics only. Using parts provided by another manufacturer may cause difficulties with the product or result in injury caused by the product falling.
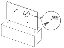
Safety Precaution: Securing the TV to the wall to prevent falling
Caution: Pulling, pushing, or climbing on the TV may cause the TV to fall. In particular, ensure your children do not hang on or destabilize the TV. This action may cause the TV to tip over, causing serious injuries or death. Follow all safety precautions provided in the Safety Flyer included with your TV. For added stability and safety, you can purchase and install the anti-fall device as described below.
WARNING: Never place a television set in an unstable location. The television set may fall, causing serious personal injury or death. Many injuries, particularly to children, can be avoided by taking simple precautions such as:
- Using cabinets or stands recommended by the manufacturer of the television set.
- Only using furniture that can safely support the television set.
- Ensuring the television set is not overhanging the edge of the supporting furniture.
- Not placing the television set on tall furniture (for example, cupboards or bookcases) without anchoring both the furniture and the television set to a suitable support.
- Not placing the television set on cloth or other materials that may be located between the television set and supporting furniture.
- Educating children about the dangers of climbing on furniture to reach the television set or its controls. If you are retaining and relocating the television set that you are replacing with this new set, you should apply the same precautions to the old set.
- When you have to relocate or lift the TV for replacement or cleaning, be sure not to pull out the stand.
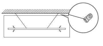
Preventing the TV from falling
- Using the appropriate screws, firmly fasten a set of brackets to the wall.

Confirm that the screws are firmly attached to the wall.
– You may need additional material such as wall anchors depending on the type of wall. - Using the appropriately sized screws, firmly fasten a set of brackets to the TV.
– For the screw specifications, refer to “Standard Screw” in the table on page 7. - Connect the brackets fixed to the TV and the brackets fixed to the wall with a durable, heavy-duty string, and then tie the string tightly.
– Install the TV near the wall so that it does not fall backward.
– Connect the string so that the brackets fixed to the wall are at the
same height as or lower than the brackets fixed to the TV.
The Samsung Smart Remote
- The images, buttons, and functions of the Samsung Smart Remote may differ depending on the model.
- The Universal Remote function operates normally only when you use the Samsung Smart Remote that comes with the TV.


Pairing the TV to the Samsung Smart Remote
When you turn on the TV for the first time, the Samsung Smart Remote pairs to the TV automatically. If the Samsung Smart Remote does not pair to the TV automatically, point it at the remote control sensor of the TV, and then press and hold the buttons labeled
as shown in the figure on the left simultaneously for 3 seconds or more.
Installing batteries into the Samsung Smart Remote
To install the batteries, push the rear cover open in the direction of the arrow at the bottom of the illustration, and then insert the batteries as shown in the figure. Make sure that the positive and negative ends are facing in the correct direction. Close the rear cover as shown.
- Alkaline batteries are recommended for longer battery life.
Initial Setup
When you turn on your TV for the first time, it immediately starts the Initial Setup. Follow the instructions displayed on the screen and configure the TV’s basic settings to suit your viewing environment.
- To perform the Initial Setup using the SmartThings app, you must connect your mobile device via Wi-Fi.
- If the pop-up for setup does not appear automatically in the SmartThings app on your mobile device, manually add the TV using Add Device on the dashboard of the SmartThings app, and then continue with the setup process.
- The SmartThings app is available for mobile devices running Android 6.0 or higher or iOS 10 or higher.
- Noise may occur temporarily when the TV communicates with mobile devices.
Using the TV Controller
You can use the TV Controller on the bottom of the TV instead of the remote control to control most of the functions of your TV. While watching TV, you can change the channel by pressing the up and down directional buttons on the TV Controller or adjust the volume by pressing the left and right directional buttons. Press the
button on the TV Controller to display the Control menu.
To run an item on the menu, press the directional buttons on the TV Controller to move the focus to the item, and then press the
button on the TV Controller.
The screen may dim if the protective film on the SAMSUNG logo or the bottom of the TV is not detached. Please remove the protective film.

Smart Hub
Source
Settings
Power Off
Return
TV Controller / Remote control sensor
- Press
button: Display the Control menu. / Select or run a focused item on the menu. - Press and hold
button: The running function is terminated. - Up/Down button: Changes the channel.
- Left/Right button: Changes the volume.
The TV Controller is located on the bottom of the TV.
Troubleshooting and Maintenance
Troubleshooting
If the TV seems to have a problem, first review this list of possible problems and solutions. Alternatively, review the Troubleshooting Section in the e-Manual. If none of the troubleshooting tips apply, please visit “www.samsung.com” and click Support or contact the Samsung service center listed on the back cover of this manual.
- For detailed information on troubleshooting, watch the troubleshooting videos at www.samsung.com/spsn.
- This TFT LED panel is made up of sub pixels which require sophisticated technology to produce. There may be, however, a few bright or dark pixels on the screen. These pixels will have no impact on the performance of the product.
- To keep your TV in optimum condition, upgrade to the latest software. Use the Update Now or Auto Update functions on the TV’s menu (
> Settings > Support > Software Update > Update Now or Auto Update).
The TV won’t turn on.
- Make sure that the AC power cord is securely plugged in to the TV and the wall outlet.
- Make sure that the wall outlet is working and the power indicator at the bottom of the TV is lit and glowing a solid red.
- Try pressing the
button at the bottom of the TV to make sure that the problem is not with the remote control. If the TV turns on, refer to “The remote control does not work” below.
There is no picture/video/sound, or a distorted picture/video/sound from an external device, or “Weak or No Signal” is displayed on the TV, or you cannot find a channel.
- Make sure the connection to the device is correct and that all cables are fully inserted.
- Remove and reconnect all cables connected to the TV and the external devices. Try new cables if possible.
- Confirm that the correct input source has been selected
Source). - Perform a TV self-diagnosis to determine if the problem is caused by the TV or the device
Settings > Support > Self Diagnosis > Start Picture Test or Start Sound Test). - If the test results are normal, reboot the connected devices by unplugging each device’s power cord and then plugging it in again. If the issue persists, refer to the connection guide in the user manual of the connected device.
- If you are not using a cable box or satellite box, and your TV is receiving TV signals from an antenna or a cable wall connector, run Auto Program to search for channels
Settings > Broadcasting > Auto Program).
The remote control does not work.
- Check if the power indicator at the bottom of the TV blinks when you press the remote’s Power button. If it does not, replace the remote control’s batteries.
- Make sure that the batteries are installed with their poles (+/–) in the correct direction.
- Try pointing the remote directly at the TV from 5 ft. to 6 ft. (1.5-1.8 m) away.
- If your TV came with a Samsung Smart Remote (Bluetooth Remote), make sure to pair the remote to the TV.
The cable box or satellite box remote control doesn’t turn the TV on or off or adjust the volume.
- Program the cable box or satellite box remote control to operate the TV. Refer to the cable box or satellite box user manual for the SAMSUNG TV code.
The TV settings are lost after 5 minutes.
- The TV is in the Retail Mode. Change the Usage Mode in the System Manager Menu to Home Mode (
Settings > General > System Manager > Usage Mode > Home Mode).
Intermittent Wi-Fi
- Make sure the TV has a network connection (
Settings > General > Network > Network Status). - Make sure the Wi-Fi password is entered correctly.
- Check the distance between the TV and the modem or access point. The distance should not exceed 50 ft (15.2 m).
- Reduce interference by not using or turning off wireless devices. Also, verify that there are no obstacles between the TV and the modem or access point. (The Wi-Fi strength can be decreased by appliances, cordless phones, stone walls/fireplaces, etc.)

Wireless access point
Wireless repeater
- Contact your Internet Service Provider (ISP) and ask them to reset your network circuit to re-register the MAC addresses of your new modem or access point and the TV.
Video Apps problems (Youtube etc) - Change the DNS to 8.8.8.8. Select
Settings > General > Network > Network Status > IP Settings > DNS Setting > Enter manually > DNS Server > enter 8.8.8.8 > OK. - Reset by selecting
> Settings > Support > Self Diagnosis > Reset Smart Hub
What is Remote Support?
Samsung Remote Support service offers you one-on-one support with a Samsung Technician who can remotely:
- Diagnose your TV
- Adjust the TV settings for you
- Perform a factory reset on your TV
- Install recommended firmware updates
How does Remote Support work?
You can easily get a Samsung Remote Support service for your TV.
- Call the Samsung service center and ask for remote support.
- Open the menu on your TV, and then go to the Support section
Settings > Support) - Select Remote Management, then read and agree to the service agreements. When the PIN screen appears, provide the PIN number to the technician.
- The technician will then access your TV.
Eco Sensor and screen brightness

Eco Sensor adjusts the brightness of the TV automatically. This feature measures the light in your room and optimizes the brightness of the TV automatically to reduce power consumption. If you want to turn this off, go to
> Settings > General > Eco Solution > Ambient Light Detection.
- If the screen is too dark while you are watching TV in a dark environment, it may be due to the Ambient Light Detection function.
- The eco sensor is located at the bottom of the TV. Do not block the sensor with any object. This can decrease picture brightness.
Caring for the TV
- If a sticker was attached to the TV screen, some debris can remain after you remove the sticker. Please clean the debris off before watching TV.

- The exterior and screen of the TV can get scratched during cleaning. Be sure to wipe the exterior and screen carefully using a soft cloth to prevent scratches.
- Do not spray water or any liquid directly onto the TV. Any liquid that goes into the product may cause a failure, fire, or electric shock.
- To clean the screen, turn off the TV, then gently wipe away smudges and fingerprints on the panel with a micro-fiber cloth. Clean the body or panel of the TV with a micro-fiber cloth dampened with a small amount of water. After that, remove the moisture with a dry cloth. While cleaning, do not apply strong force to the surface of the panel because it can damage the panel. Never use flammable liquids (benzene, thinner, etc.) or a cleaning agent. For stubborn smudges, spray a small amount of screen cleaner on a micro-fiber cloth, and then use the cloth to wipe away the smudges.
Specifications and Other Information
Specifications
| Model Name | QN49Q70R | QN55Q70R |
| Display Resolution | 3840 x 2160 | 3840 x 2160 |
| Screen Size Diagonal Measured Diagonally | 49˝ Class 48.5 inches | 54.6 inches 54.6 inches |
| Sound (Output) | 40 W | 40 W |
| Dimensions (W x H x D) Body With stand | 43.1 x 24.9 x 2.5 inches (1094.8 x 632.9 x 62.8 mm) 43.1 x 27.9 x 9.8 inches (1094.8 x 707.6 x 248.3 mm) | 48.4 x 27.9 x 2.4 inches (1230.6 x 708.1 x 61.9 mm) 48.4 x 30.7 x 9.8 inches (1230.6 x 780.2 x 248.3 mm) |
| Weight Without Stand With Stand | 30.0 lbs (13.6 kg) 31.1 lbs (14.1 kg) | 39.7 lbs (18.0 kg) 40.8 lbs (18.5 kg) |
| Model Name | QN65Q70R | QN75Q70R |
| Display Resolution | 3840 x 2160 | 3840 x 2160 |
| Screen Size Diagonal Measured Diagonally | 65˝ Class 64.5 inches | 75˝ Class 74.5 inches |
| Sound (Output) | 40 W | 40 W |
| Dimensions (W x H x D) Body
With stand | 57.1 x 32.7 x 2.4 inches (1449.5 x 831.2 x 61.9 mm) 57.1 x 35.8 x 11.3 inches (1449.5 x 910.4 x 285.8 mm) | 66.0 x 37.8 x 2.4 inches (1675.2 x 960.9 x 62.0 mm) 66.0 x 41.3 x 14.2 inches (1675.2 x 1048.2 x 359.8 mm) |
| Weight Without Stand With Stand | 53.6 lbs (24.3 kg) 54.9 lbs (24.9 kg) | 78.7 lbs (35.7 kg) 80.7 lbs (36.6 kg) |
| Model Name | QN82Q70R | QN85Q70R |
| Display Resolution | 3840 x 2160 | 3840 x 2160 |
| Screen Size Diagonal Measured Diagonally | 82˝ Class 81.5 inches | 85˝ Class 84.5 inches |
| Sound (Output) | 40 W | 40 W |
| Dimensions (W x H x D)BodyWith stand | 72.2 x 41.4 x 2.6 inches (1834.6 x 1051.4 x 66.1 mm) 72.2 x 45.1 x 15.2 inches (1834.6 x 1146.0 x 387.3 mm) | 74.8 x 42.9 x 2.6 inches (1900.7 x 1089.1 x 66.5 mm) 74.8 x 46.7 x 15.2 inches (1900.7 x 1185.2 x 387.3 mm) |
| Weight Without Stand With Stand | 95.5 lbs (43.3 kg) 98.1 lbs (44.5 kg) | 104.1 lbs (4 7. 2 kg) 106.7 lbs (48.4 kg) |
Environmental Considerations
| Operating Temperature Operating Humidity Storage Temperature Storage Humidity | 50°F to 104°F (10°C to 40°C) 10% to 80%, non-condensing -4°F to 113°F (-20°C to 45°C) 5% to 95%, non-condensing |
Notes
- Design and specifications are subject to change without prior notice.
- This device is a Class B digital apparatus.
- For information about the power supply, and more information about power consumption, refer to the information on the label attached to the product.
– On most models, the label is attached to the back of the TV. (On some models, the label is inside the cover terminal.) - Your TV and its accessories may look different than the product images presented in this manual, depending on the model.
- All drawings are not necessarily to scale. Some dimensions are subject to change without prior notice. Refer to the dimensions before installing your TV. Not responsible for typographical or printed errors.
- To connect a LAN cable, use a CAT 7 (*STP type) cable for the connection.
* Shielded Twisted Pair
© 2019 Samsung Electronics America, Inc
Dispose of unwanted electronics through an approved recycler.
To find the nearest recycling location, go to our website:
www.samsung.com/recycling Or call 1‐800‐SAMSUNG
Decreasing power consumption
When you shut the TV off, it enters Standby mode. In Standby mode, it continues to draw a small amount of power. To decrease power consumption, unplug the power cord when you don’t intend to use the TV for a long time.
Dimensions
Back panel detail / Rearview
• The displayed image may differ from your TV, depending on the model.
| Model name | 1 | 2 | 3 |
| QN49Q70R | 5.4 | 1 7. 6 | 11.5 |
| QN55Q70R | 8.4 | 20.5 | 11.4 |
| QN65Q70R | 8.9 | 20.7 | 11.9 |
| QN75Q70R | 10.1 | 14.5 | 11.9 |
| QN82Q70R | 8.5 | 24.3 | 1 7.1 |
| QN85Q70R | 8.5 | 25.5 | 18.4 |
Licenses
The terms HDMI and HDMI High-Definition Multimedia Interface, and the HDMI Logo are trademarks or registered trademarks of HDMI Licensing LLC in the United States and other countries.
LIMITED WARRANTY TO ORIGINAL PURCHASER
This SAMSUNG brand product, as supplied and distributed by SAMSUNG and delivered new, in the original carton to the original consumer purchaser, is warranted by SAMSUNG against manufacturing defects in materials and workmanship for a period of:
| Categories | Parts | Labor | Size | Service |
| LCD/LED TV | 1 Year | 1 Year | 42″ and Larger | Carry-In or In Home |
| 40″ and Smaller | Carry-In |
• For commercial use, the warranty is 90 Days Parts and Labor.
This limited warranty begins on the original date of purchase and is valid only on products purchased and used in the United States. To receive warranty service, the purchaser must contact SAMSUNG for problem determination and service procedures.
Warranty service can only be performed by a SAMSUNG authorized service center. The original dated bill of sale must be presented upon request as proof of purchase to SAMSUNG or SAMSUNG’s authorized service center.
SAMSUNG will repair or replace this product, at our option and at no charge as stipulated herein, with new or reconditioned parts or products if found to be defective during the limited warranty period specified above. All replaced parts and products become the property of SAMSUNG and must be returned to SAMSUNG. Replacement parts and products assume the remaining original warranty, or ninety (90) days, whichever is longer.
Certain products are eligible for In-home service at Samsung’s discretion. To receive in-home service, the product must be unobstructed and accessible to service personnel. If during in-home service, repair cannot be completed, it may be necessary to remove, repair and return the product. If in-home service is unavailable, SAMSUNG may elect, at our option, to provide for transportation of our choice to and from a SAMSUNG authorized service center. Otherwise, transportation to and from the SAMSUNG authorized service center is the responsibility of the purchaser.
This limited warranty covers manufacturing defects in materials and workmanship encountered in normal, and except to the extent otherwise expressly provided for in this statement, noncommercial use of this product, and shall not apply to the following, including, but not limited to: damage which occurs in shipment; delivery and installation; applications and uses for which this product was not intended; altered product or serial numbers; cosmetic damage or exterior finishes; accidents, abuse, neglect, fire, water, lightning or other acts of nature; use of products, equipment, systems, utilities, services, parts, supplies, accessories, applications, installations, repairs, external wiring or connectors not supplied or authorized by SAMSUNG which damage this product or result in service problems; incorrect electrical line voltage, fluctuations and surges; customer adjustments and failure to follow operating instructions, cleaning, maintenance and environmental instructions that are covered and prescribed in the instruction book; reception problems and distortion related to noise, echo, interference or other signal transmission and delivery problems; or brightness related to normal aging or any other issues if the TV is used for commercial or non-normal consumer use. SAMSUNG does not warrant the uninterrupted or error-free operation of the product.
THERE ARE NO EXPRESS WARRANTIES OTHER THAN THOSE LISTED AND DESCRIBED ABOVE, AND NO WARRANTIES WHETHER EXPRESS OR IMPLIED, INCLUDING, BUT NOT LIMITED TO, ANY IMPLIED WARRANTIES OF MERCHANTABILITY OR FITNESS FOR A PARTICULAR PURPOSE, SHALL APPLY AFTER THE EXPRESS WARRANTY PERIODS STATED ABOVE, AND NO OTHER EXPRESS WARRANTY OR GUARANTY GIVEN BY ANY PERSON, FIRM OR CORPORATION WITH RESPECT TO THIS PRODUCT SHALL BE BINDING ON SAMSUNG. SAMSUNG SHALL NOT BE LIABLE FOR LOSS OF REVENUE OR PROFITS, FAILURE TO REALIZE SAVINGS OR OTHER BENEFITS, OR ANY OTHER SPECIAL, INCIDENTAL OR CONSEQUENTIAL DAMAGES CAUSED BY THE USE, MISUSE OR INABILITY TO USE THIS PRODUCT, REGARDLESS OF THE LEGAL THEORY ON WHICH THE CLAIM IS BASED, AND EVEN IF SAMSUNG HAS BEEN ADVISED OF THE POSSIBILITY OF SUCH DAMAGES. NOR SHALL RECOVERY OF ANY KIND AGAINST SAMSUNG BE GREATER IN AMOUNT THAN THE PURCHASE PRICE OF THE PRODUCT SOLD BY SAMSUNG AND CAUSING THE ALLEGED DAMAGE. WITHOUT LIMITING THE FOREGOING, THE PURCHASER ASSUMES ALL RISK AND LIABILITY FOR LOSS, DAMAGE, OR INJURY TO THE PURCHASER AND PURCHASER’S PROPERTY AND TO OTHERS AND THEIR PROPERTY ARISING OUT OF THE USE, MISUSE ORI INABILITY TO USE THIS PRODUCT SOLD BY SAMSUNG NOT CAUSED DIRECTLY BY THE NEGLIGENCE OF SAMSUNG. THIS LIMITED WARRANTY SHALL NOT EXTEND TO ANYONE OTHER THAN THE ORIGINAL PURCHASER OF THIS PRODUCT, IS NONTRANSFERABLE, AND STATES YOUR EXCLUSIVE REMEDY.
Some states do not allow limitations on how long an implied warranty lasts or the exclusion or limitation of incidental or consequential damages, so the above limitations or exclusions may not apply to you. This warranty gives you specific legal rights, and you may also have other rights which vary from state to state.
To obtain warranty service, please contact SAMSUNG at:
Samsung Electronics America, Inc.
85 Challenger Road
Ridgefield Park, NJ 07660-2112
1-800-SAMSUNG (726-7864) – www.samsung.com
The benefits of this Limited Warranty extend only to the original purchaser of Samsung products from an authorized Samsung reseller.
THIS LIMITED WARRANTY SHALL NOT APPLY TO ANY SAMSUNG PRODUCTS PURCHASED FROM UNAUTHORIZED RESELLERS OR RETAILERS, EXCEPT IN STATES WHERE SUCH RESTRICTION MAY BE PROHIBITED.
Fora list of Samsung authorized retailers, please go to: http://www.samsung.com/us/peaceofmind/authorized_resellers.html

Contact SAMSUNG WORLDWIDE
If you have any questions or comments relating to Samsung products, please contact the Samsung service center.
| Country | Samsung Service Center | Web Site | Address |
| CANADA | 1-800-SAMSUNG (726-7864) | www.samsung.com/ca/support (English) www.samsung.com/ca_fr/support (French) | Samsung Electronics Canada Inc. 2050 Derry Road West Mississauga, Ontario L5N 0B9 Canada |
| U.S.A | 1-800-SAMSUNG (726-7864) | www.samsung.com/us/support | Samsung Electronics America, Inc. 85 Challenger Road Ridgefield Park, NJ 07660 |
Accessibility contact information in U.S.A.: [email protected]
Scan the QR code to view our helpful how-to videos
Scan this QR code with your smartphone to see helpful videos.
If you experience issues, please do not take the TV back to the store.
In the United States of America, call us at 1-800-SAMSUNG (1-800-726-7864) or visit us at www.samsung.com or www.samsung.com/spsn for support and warranty service.
For more information, see “Troubleshooting” in this manual.

BN68-09450G-00
© 2019 Samsung Electronics Co., Ltd. All rights reserved.
FAQS
This makes sense to me and anyone whose had to throw away a tv because an “act of god” allowed a jellybean to crack my TV… Anyway, for any future ppl wanting to protect TV screen: best idea so far is to buy piece of acrylic (or plexiglass) and cut to fit. Also clear PVC sheets can be purchased at specified sizes.
Yes it has 1 digital optical outlet
The Q70A TV is not recommended to use on an outdoor patio, as it is not IP rated for outdoor use; however, we recommend checking out The Terrace TV from Samsung! The Terrace TV is our IP55 rated outdoor QLED TV which is perfect for partial shade environments. Additionally, you can pair The Terrace TV with The Terrace Soundbar, which is also IP55 rated for outdoor use.
Mine was shipped through Amazon and was shipped in the TV box itself. So there was no TV box in a shipping box. The box is sturdy though and arrived with no problems or damage.
The box is approx. 55”L x 33”H x 6” W
Yes
Samsung specifications state: BT4.2
World Wide Stereo is 42 years old and a proud authorized Samsung dealer.
The Direct TV app has been rebranded as the ATT TV app. The ATT TV app is available to download in the built-in App Store. From there, you can use your subscription to access AT&T TV or AT&T TV Now.
120hertz or 120fps.. 240 motion rate is actually a processor that upscales the refresh rate in certain instances.. Google it! You will find troves of information about the difference between motion rate and actual fps or hertz..
The Q70A features HDR10+ for stunning colors and exceptional, revealing details in the brightest and darkest scenes. HDR10+ format is an exciting scene-based dynamic tone-mapping technology. It automatically matches the dynamic range of the content to the TV on a scene-by-scene basis to maximize the capabilities of the TV, providing the best possible picture.
The addition of the HW-A650 soundbar would be a great addition to your Q70A TV. With a dedicated built-in center speaker, dialogue is enhanced so you hear every word. Please know that our Q-Series Soundbars (such as the HW-Q800A) feature Q-Symphony which will synchronize with the speakers of your Q-Series TV (Q70A) for an immersive 3D sound experience.
Is awesome detects pc automatic there is game mode for fast FPS
NO, fire tv is a amazon streaming device that can be attached to Samsung TV. You can recieve Amazon prime on Samsung as it is built in to it. There are other apps available also.
Because HDMI 2.1 is a complicated spec, we hope that focusing on TV features will be more helpful to you when deciding on the best model for your usage scenario. The Q70A has 4 HDMI ports, all of which support Auto Low Latency Mode (ALLM), Dynamic Metadata (HDR10+), and Variable Refresh Rate (VRR). High Frame Rate (HFR) 4K@120Hz is supported in “HDMI In 4”. The “HDMI In 3” port further supports eARC.
4
References
Samsung US | Mobile | TV | Home Electronics | Home Appliances | Samsung US
P65Warnings.ca.gov
Samsung US | Mobile | TV | Home Electronics | Home Appliances | Samsung US
Samsung Canada | Mobilité | Téléviseurs | Électroménagers
Samsung Canada | Mobile | TV | Home Appliances
Environment | Corporate Citizenship | Samsung Electronics | About Us | Samsung
Samsung Care - YouTube
Samsung US | Mobile | TV | Home Electronics | Home Appliances | Samsung US































