

Owner’s Manual
REFRIGERATOR
Read this owner’s manual thoroughly before operating the appliance and keep it handy for reference at all times.
LRONC0705V

P/No. : MFL69887015_Rev.02
www.lg.com
Copyright © 2020 – 2021 LG Electronics Inc. All Rights Reserved

IMPORTANT SAFETY INSTRUCTIONS
READ ALL INSTRUCTIONS BEFORE USE
Safety Messages
Your safety and the safety of others are very important.
We have provided many important safety messages in this manual an d on your appliance. Always read and follow all safety messages.
This symbol alerts you to potential hazards that can kill or injure you and others. All safety messages will follow the safety alert symbol and either the word WARNING or CAUTION. These words mean: You may be killed or seriously injured if you do not follow instructions.
|
All safety messages will tell you what the potential hazard is, tell you how to reduce the chance of injury, and tell you what may happen if the instructions are not followed.
WARNING
WARNING
- To reduce the risk of explosion, fire, death, electric shock, scalding or injury to persons when using this product, follow basic precautions, including the following:
Installation
- To reduce the risk of injury to persons, adhere to all industry recommended safety procedures including the use of long-sleeved gloves and safety glasses.
- Never attempt to operate this appliance if it is damaged, malfunctioning, partially disassembled, or has missing or broken parts, including a damaged cord or plug.
- Only connect this product to a dedicated grounded electrical outlet rated for use with this product (115 V, 60 Hz, AC only). It is the user s responsibility to replace a standard 2-prong wall outlet with a standard 3-prong wall outlet.
- Do not use an outlet that can be turned off with a switch. Do not use an extension cord.
- The appliance must be positioned for easy access to a power source.
- When moving the refrigerator, be careful not to roll over or damage the power cord.
- Contact an authorized service center when installing or relocating the refrigerator.
- Do not, under any circumstances, cut or remove the third (ground) prong from the power cord.
- Keep packing materials out of the reach of children. Packaging material can be dangerous for children. There is a risk of suffocation.
- Do not install the refrigerator in a damp or dusty place where insulation on electrical parts may deteriorate.
- Do not place the refrigerator in direct sunlight or expose it to the heat from heating appliances such as stoves or heaters.
- Do not bend or pinch the power cord excessively or place heavy objects on it.
Operation
- This appliance is intended to be used in household and similar applications such as:
– staff kitchen areas in shops, offices and other working environments;
– farm houses and by clients in hotels, motels and other residential type environments;
– bed and breakfast type environments;
– catering and similar non-retail applications. - This product is not to be used for special purposes such as the storage of medicine or test materials or for use on ships, etc.
- DO NOT allow children to climb, stand, or hang on the refrigerator doors or on the shelves in the refrigerator. They could damage the refrigerator and seriously injure themselves.
- Do not allow children to climb into the refrigerator. They could be trapped and suffocated.
- Children should be supervised to ensure that they do not play with the refrigerator.
- Keep fingers out of pinch point areas; clearances between the doors and cabinets are necessarily small. Be careful closing doors when children are nearby.
- Do not touch frozen food or the metal parts in the freezer compartment with wet or damp hands. Doing so may cause frostbite.
- Do not refreeze frozen food that has thawed completely. Doing so may result in a serious health hazard.
- Do not use an adapter plug or plug the power plug into a multi-outlet extension cord.
- If the supply cord is damaged, it must be replaced by the manufacturer or its service agent or a similarly qualified person in order to avoid a hazard.
- Do not operate the refrigerator or touch the power cord with wet hands.
- Do not modify or extend the power cord.
- Do not use an uncertified power outlet. Do not plug appliance into a damaged wall outlet.
- Do not put hands, feet or other objects into the air vents or bottom of the refrigerator. Doing so could result in personal injury or electric shock.
- In the event of a gas leak (propane/LPG), ensure the area is adequately ventilated and contact an authorized service center before resuming use. Do not touch the refrigerator or power cord of the refrigerator.
- Disconnect the power cord immediately and contact an authorized service center if there is a strange noise, odor, or smoke coming from the appliance.
- Do not use any fuse (such as copper, steel wire, etc.) other than a standard fuse.
- Do not place or use an electrical appliance inside the refrigerator, unless it is of a type recommended by the manufacturer.
- Do not put animals inside the appliance.
- Do not place heavy or fragile objects, liquid filled containers, combustible substances, or flammable objects (such as candles and lamps) on the appliance.
- If connected to a circuit protected by fuses, use time delay fuse.
- Keep ventilation openings, in the appliance enclosure or in the built-in structure, clear of obstruction.
- Do not use mechanical devices or other means to accelerate the defrosting process, other than those recommended by the manufacturer.
- Do not use electrical appliances inside the food storage compartments of the appliance, unless they are of the type recommended by the manufacturer.
- Do not store explosive substances such as aerosol cans with a flammable propellant in this appliance.
- Do not damage the refrigerant circuit.
Maintenance
- Do not use a hair dryer to dry the inside of the refrigerator.
- Do not light a candle to remove odors in the refrigerator.
- In the event of a refrigerant leak, move flammable objects away from the refrigerator. Ensure the area is adequately ventilated and contact an authorized service center.
- Keep flammable materials and vapors, such as gasoline, away from the refrigerator.
- This appliance is not intended for use by persons (including children) with reduced physical, sensory or mental capabilities, or lack of experience and knowledge, unless they have been given supervision or instruction concerning use of the appliance by a person responsible for their safety.
- Unplug the power plug before cleaning or repairing the refrigerator.
- The refrigerator lights is interior LED lighting, and service should be performed by a qualified technician.
- Unplug the power plug immediately in the event of a blackout or thunderstorm.
- Turn the power off if water or dust penetrates into the refrigerator. Call a service agent.
- Do not store glass containers or soda in the freezer compartment. Contents may expand when frozen, break the container and cause injury.
- Do not store, disassemble or repair the appliance yourself or allow unqualified personnel to do so.
Disposal
- Junked or abandoned refrigerators are dangerous, even if they are sitting for only a few days. When disposing of the refrigerator, remove the packing materials from the door or take off the doors but leave the shelves in place so that children may not easily climb inside.
- If disposing of a refrigerator, make sure the refrigerant and insulation foam are removed for proper disposal by a qualified servicer. If you release the refrigerant or throw away the insulation foam, you may be fined or imprisoned in accordance with the relevant environmental law. Insulation foam contains flammable blowing gas.
- When discarding the appliance, remove the door gasket while leaving the shelves and bins in place, and keep children away from the appliance.
Grounding Instructions
- Improper connection of the equipment-grounding conductor can result in a risk of electric shock. Check with a qualified electrician or service personnel if you are in doubt whether the appliance is properly grounded. Do not modify the plug provided with the appliance; if it will not fit the outlet, have a proper outlet installed by a qualified electrician.
- Have a certified electrician check the wall outlet and wiring for proper grounding.
- Never unplug the appliance by pulling on the power cord. Always grip the plug firmly and pull straight out from the outlet. Failure to do so may damage the power cord, resulting in a risk of fire and electric shock.
Risk of Fire and Flammable Materials
This appliance contains a small amount of isobutane refrigerant (R600a), which is combustible. When transporting and installing the appliance, care should be taken to ensure that no parts of the refrigerating circuit are damaged. Refrigerant squirting out of the pipes could ignite or cause an eye injury. If a leak is detected, avoid any naked flames or potential sources of ignition and air the room in which the appliance is standing for several minutes.
In order to avoid the creation of a flammable gas air mixture if a leak in the refrigerating circuit occurs, the size of the room in which the appliance may be sited depends on the amount of refrigerant used. The room must be 10.8 square feet (1 square meter) in size for every 8g of R600a refrigerant inside the appliance. The amount of refrigerant in your particular appliance is shown on the identification plate inside the appliance. Never start up an appliance showing any signs of damage. If in doubt, consult your dealer.
CAUTION
CAUTION
- To reduce the risk of minor or moderate injury to persons, malfunction, or damage to the product or property when using this product, follow basic precautions, including the following:
Installation
- Do not install the refrigerator where there may be a danger of the unit falling.
- The refrigerator must be properly installed in accordance with the Installation Instructions.
Operation
- Do not use aerosols near the refrigerator.
- This appliance is intended to be used only in domestic and similar applications.
- Do not strike or apply excessive force to any glass surface. Do not touch glass surfaces if they are cracked or broken.
- Do not overfill or pack items too tightly into door bins. Doing so may cause damage to the bin or personal injury if items are removed with excessive force.
Maintenance
- Do not use strong detergents like wax or thinners for cleaning. Clean with a soft cloth.
- Remove foreign objects (such as dust and water) off the prongs of the power plug and contact areas. Do not use a wet or damp cloth when cleaning the plug.
- Do not spray water directly on the inside or outside of the refrigerator.
- Do not clean glass shelves or covers with warm water when they are cold. They may break if exposed to sudden temperature changes.
SAVE THESE INSTRUCTIONS
REQUIREMENTS FOR GROUND CONNECTION
IMPORTANT: Attentively read the following.
TO CONNECT ELECTRICITY
|
ELECTRICAL SHOCK HAZARD FOR YOUR PERSONAL SAFETY, this appliance must be properly grounded. Have a qualified electrician check your wall outlet to ensure that the plug is grounded properly. |

- 3 prong grounding type wall receptacle
- Ensure proper ground exists before use
- 3 prong grounding plug
RECOMMENDED GROUNDING METHOD
Your refrigerator must always be plugged to its own outlet which is adequately grounded. The energy current should only be 115 V ~ 60 Hz, AC or 127 V ~ 60 Hz, AC (according to the National rating) and fused at 10 A. This provides the best performance and prevents an overload which could cause a fire from the overheating of the cables. It is recommended that a separate circuit be used for this appliance, as well as a receptacle that cannot be disconnected with a switch.
Do not use an extension cable.
It is recommended use a separate circuit for this product as well as receptacle which can not be disconnected with a switch. Do not use extension cords or adapters ungrounded.
It is your responsibility and obligation to replace two-prong outlets with that of an adequately grounded three-prong outlet.
Do not, under any circumstance, cut or extract the third prong from the plug.
USE OF EXTENSION CABLES
We do not recommend the use of extension cables.
However, if you still choose to utilize an extension cable, it is absolutely necessary that it is listed in the UL (in the United States) or CSA (in Canada), that it supports three-pronged plugs and that the electrical current support a minimum of 10 A and 115 V.
The use of an extension cable will increase the amount of space needed behind the refrigerator.
|
REPLACING ELECTRICAL CABLE If the power cord is damaged, it must be replaced by our service center or qualified LG technician to avoid any risk. |
Do not extend or modify the power cord length, damage the power cord may cause electric shock or damage the unit.
PRODUCT SPECIFICATIONS
The appearance and specifications listed in this manual may vary due to constant product improvements.
Electrical requirements: 115 V, 60 Hz
| Model | LRONC0705V |
| Net weight | 75 lb (34 kg) |
| THIS REFRIGERATOR IS MANUFACTURED WITH GREAT CARE AND UTILIZES THE LATEST IN TECHNOLOGY. WE ARE CONFIDENT THAT YOU WILL BE FULLY SATISFIED WITH ITS PERFORMANCE AND RELIABILITY. BEFORE USING YOUR REFRIGERATOR, PLEASE READ THIS MANUAL CAREFULLY. IT PROVIDES EXACT INSTRUCTIONS FOR INSTALLATION, OPERATION, AND MAINTENANCE, AND ALSO SUPPLIES SOME USEFUL HINTS. |
INSTALLATION
- Select a good location.
Place your refrigerator where it is easy to use. - Avoid placing the unit near heat sources, direct sunlight or moisture.
- To ensure proper air circulation around the refrigerator, maintain sufficient space on both the sides as well as top and maintain at least 2 inches (50 mm) from the rear wall.
- To avoid vibration, the unit must be level. If required, adjust the leveling screws to compensate for unevenness of the floor. The front should be slightly higher than the rear to aid in door closing.
Leveling screws can be turned easily by tipping the cabinet slightly.
Turn the leveling screws clockwise(
) to raise the unit, counterclockwise(
) to lower it (if stand base is not used). - Don’t install this appliance in areas where the temperature gets below 55 °F (13 °C). Doing so may cause a loss in cooling performance.
NEXT
- Clean your refrigerator thoroughly and wipe off all dust accumulated during shipping.
- Install accessories such as shelves, bins, and ice cube tray in their proper places. They are packed together to prevent possible damage during shipment.
- Connect the power supply cord (or plug) to the outlet. Don’t double up with other appliances on the same outlet.
- Prior to storing food, leave your refrigerator on for 2 or 3 hours.
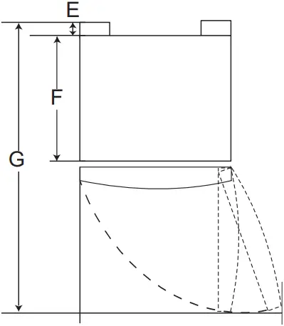
Dimensions and Clearances
- Check the dimensions of the appliance and the installation path to ensure there is sufficient room to move the refrigerator through doors or narrow openings.
- The installation location chosen for the refrigerator should allow space behind the unit for connections and air ow and space in front to open the doors.
- Too small of a distance from adjacent items may result in reduced freezing capability and increased electricity consumption charges. Allow least 2 inches (50 mm) between the back of the refrigerator and the wall.

– | Dimension/Clearance | LRONC0705V |
A | Depth without Handle | 21 7/8” (555 mm) |
B | Width | 20 5/8” (525 mm) |
C | Height to Top of Case | 50 7/8” (1292 mm) |
D | Height to Top of Hinge | 51” (1295 mm) |
E | Back Clearance | 2” (50 mm) |
F | Depth without Door | 18 5/8” (473 mm) |
G | Depth (Total with Door Open 90°) | 39 5/8” (1008 mm) |
Ambient Temperature
Install this appliance in an area where the temperature is between 55 °F (13 °C) and 110 °F (43 °C).
If the temperature around the appliance is too low or high, cooling ability may be adversely affected.
FEATURE CHART

- Water Dispenser (Optional)
- Temperature Control Knob/ Defrost Button
- Door Bin
- Levelling Screw
- vegetable Box
- Shelves
- Lamp Cover
- REFRIGERATOR ROOM
Fresh Zone For Fresh Meat - FREEZER ROOM
Ice Tray

Back View
- Drip Tray

– This guide covers several different models. The refrigerator you have purchased may have some or all of the features shown above.
– The positions of bins, shelves and drawers shown above is the most efficient for energy saving.
| SUGGESTION FOR ENERGY SAVING – Do not keep the door open for a long time. Close the door as soon as you can. |
OPERATION
STARTING
Turn the controls to the COLDER position before using the appliance for the first time. Wait 2-3 hours for the temperature to stabilize before storing food. If the appliance is unplugged, wait 5 minutes before plugging it in again to avoid stress to the compressor.
Compressor will start operating 7 to 10 minutes after connecting the power cord.
TEMPERATURE CONTROL

Temperature Control
- Default
- General setting
- For making ice
- Only for quick freezing
- The default setting for the refrigerator temperature control is COLDER.
- Adjust the temperature control to COLDEST for colder temperatures or to WARM for warmer temperatures.
- Only set the temperature control between COLDEST and OVER FREEZING if you want to quick freeze foods. When quick freezing is finished, set the control back to the COLDER position. Leaving the control set between COLDEST and OVER FREEZING for a long time can freeze items in the fresh food compartment.
MAKING ICE


- To make ice cubes, fill the ice cube tray with water to slightly below the rim and place it in the freezer.
- Set the temperature control to the COLDEST position.
- To save energy, remember to reset the temperature control to COLDER once the ice is made.
- To remove ice cubes, hold the tray at both ends and twist gently.
![]()
- To remove ice cubes easily, run water over the tray before twisting.
DEFROSTING

- It is necessary to regularly defrost your refrigerator in order to ensure efficient operation. The frost on the surface of the evaporator should not exceed 1/4 inches (6 mm) before defrosting.
- To defrost, press the defrost button (blue butt on).
- Remove food from around the evaporator before starting the defrosting operation.
Once defrosting is complete, the defrost button will return to its normal position automatically. If the frost on the surface of the evaporator exceeds 1/4 inch (6 mm), check and empty the drip tray after defrosting.
1. Open with a screwdriver.
2. Remove and empty the drip tray, dry it off and reassemble it.
WATER DISPENSER (OPTIONAL)

- Install the water tank before filling it with water. Installing the tank while it is filled with water can result in leaking if the valve is pressed.
- Remove the water tank for cleaning or when not in use.
Filling the Water Tank
1. Open the cover cap and pour water into the water tank.


2. Close the cover cap.
Caution Do not put liquids other than water in the water tank. Do not use hot water. |

- Drinking
- Press the dispenser pad with a cup..
- The water is released when the dispenser pad is pressed. The pad returns to its original position when the cup is removed and the water stops its flow.
SUGGESTIONS FOR FOOD STORAGE
STORING FOOD
- Store fresh food in the refrigerator compartment. How food is frozen and thawed is an important factor in maintaining its freshness and flavor.
- Do not store food which goes bad easily at low temperatures, such as bananas, pineapples, and melons.
- Allow hot food to cool prior to storing. Placing hot food in the refrigerator could spoil other food, and lead to higher electric bills.
- When storing food, cover it with plastic wrap or store in a container with a lid. This prevents moisture from evaporating, and helps food to keep its taste and nutrients.
- Do not open the door frequently. Opening the door lets warm air enter the refrigerator, and causes temperatures to rise.
- Opening the door for long periods can cause a significant rise in the temperature inside the appliance.
- If the refrigerator will not be in use for a long period, switch it off and allow it to defrost. Clean the interior and allow it to dry. Prop the door open to prevent mold from growing inside the appliance.
- Store raw meat and sh in suitable containers in the refrigerator, so that they are not in contact with or can drip onto other food.
FREEZER COMPARTMENT
- Do not store bottles in the freezer compartment – they may break when frozen.
- Do not refreeze food that has been thawed. This causes loss of taste and nutrition.
- The freezer compartment is designed for making ice and for short-term storage of already frozen food. The temperature in the compartment may not get cold enough to freeze fresh food or to store foods such as ice cream safely.
REFRIGERATOR COMPARTMENT
- Avoid placing moist food on deep interior refrigerator shelves, it could freeze upon direct contact with chilled air. To avoid this it is better to store food in a covered container.
- Only set the temperature control between COLDEST and OVER FREEZING if you want to quick freeze foods. When quick freezing is finished, set the control back to the COLDER position. Leaving the control set between COLDEST and OVER FREEZING for a long time can freeze items in the fresh food compartment.
- Always clean food prior to refrigeration. Vegetables and fruits should be washed and patted dry, and packed food should be wiped clean, to prevent adjacent food from spoiling.
- When storing eggs in their storage rack, ensure that they are fresh, and always store them in an upright position to keep them fresh longer.
CLEANING
It is important that your refrigerator be kept clean to prevent undesirable odors. Spilled food should be wiped up immediately, since it may acidify and stain plastic surfaces if allowed to sit.
Never use metal scouring pads, brushes, coarse abrasive cleaners or strong alkaline solutions on any surface.
Do not touch surfaces in the freezer with wet or damp hands. Damp objects will stick to very cold surfaces.
EXTERIOR – Use a lukewarm solution of mild soap and water to clean the durable finish of your refrigerator. Wipe with a clean, damp cloth and then dry.
For products with a stainless steel exterior, use a clean sponge or soft cloth and a mild detergent in warm water. Do not use abrasive or harsh cleaners. Dry thoroughly with a soft cloth. Do not use appliance wax, bleach, or other products containing chlorine on stainless steel.
INTERIOR – Regular cleaning of the interior parts is recommended. Use a lukewarm solution of mild soap and water to clean the interior surfaces of your refrigerator. Wipe with a clean, damp cloth and then dry.
INTERIOR PARTS – Wash compartment shelves, door bins, storage trays and magnetic door seals. Clean interior parts using a lukewarm solution of mild soap and water. Wipe with a clean damp cloth and then dry.
WARNING Always unplug the power cord prior to cleaning in the vicinity of electrical parts such as lamps, switches or controls. Wipe up excess moisture with a sponge or cloth to prevent water or liquid from getting into any electrical parts and causing electric shock. Do not use flammable or toxic cleaning liquids.
|
WATER DISPENSER (OPTIONAL)
Grille –
Wipe with a wet cloth, and dry with a dry cloth.
Filling the Water Tank
1. Filling with Water
It is not necessary to remove the water tank to fill it. Open the cover cap on the tank and pour the water in as shown.
![]()
– To prevent spills, make sure to close the cover cap before closing the refrigerator door.
– Do not fill the water tank with liquids containing sugar or with carbonated drinks.
2. Disassembly
Grip the tank from the side and bottom and lift it to remove it.
![]()
Make sure the water tank is empty before disassembling it.
3. Assembly
To reassemble the water tank, insert the valve assembly in the opening on the door as shown. Once the valve assembly is in place, push the tank down until it is properly aligned.

fig. 1 fig. 2

fig. 3 fig. 4
Cleaning the Water Tank
1. Remove the tank cover.

2. Clean the inside and outside of the water tank with a mild detergent and rinse thoroughly under running water. Dry the water tank with a soft cloth.

3. Clean the inside and outside of the cap with a mild detergent and rinse thoroughly under running water. Dry the cap with a soft cloth.

Caution
|
GENERAL INFORMATION
VACATION TIME
During average length vacations, you will probably find it best to leave the refrigerator in operation.
Place freezable items in freezer for longer life.
When you plan to be away for an extended period, remove all food, disconnect the power cord, clean the interior thoroughly, and leave each door OPEN to prevent odor formation.
POWER FAILURE
Most power failures are corrected in an hour or two and will not affect your refrigerator temperatures.
However, you should minimize the number of door openings while the power is off. During power failures of longer duration, place a block of dry ice on top of your frozen packages.
| This appliance is intended to be used in household and similar applications such as: – Staff kitchen areas in shops, offices and other working environments. – Farm houses and by clients in hotels, motels and other residential type environments. – Bed and breakfast type environments. – Catering and similar non-retail applications. |
IF YOU MOVE
Remove or securely fasten down all loose items inside the refrigerator.
To avoid damaging the leveling screw(s), turn them all the way into the base.

ANTI-CONDENSATION PIPE
The outside wall of the refrigerator cabinet may sometimes get warm, especially just after installation.
Don’t be alarmed.
This is due to the anti-condensation pipe, which pumps hot refrigerant to prevent “sweating” on the outer cabinet wall.
- ANTI-CONDENSATION PIPE
LED REPLACEMENT
This product uses LED lighting which cannot be replaced by the user.
Please contact an LG Customer Information Center to have the lighting replaced.
IMPORTANT WARNINGS
DO NOT USE AN EXTENSION CORD
Use this appliance on a dedicated circuit; that is, an outlet that is the only outlet on the circuit.
Overloading a circuit causes low voltage, malfunction, possible damage to the equipment, and poor cooling capacity.
Check your local electric code or consult a qualified electrician if you have questions.
POWER CORD ACCESSIBILITY
The refrigerator should be so positioned that the supply plug is accessible for quick disconnection if an accident happens.
POWER CORD REPLACEMENT
If the power cord is damaged, it must be replaced by the manufacturer or a similarly qualified person in order to avoid a hazard.
ABOUT GROUNDING (EARTHING)
In the event of an electric short circuit, grounding (earthing) reduces the risk of electric shock by providing an escape wire for the electric current.
In order to prevent possible electric shock, this appliance must be grounded.
Improper use of the grounding plug can result in an electric shock. Consult a qualified electrician or service person if the grounding instructions are not completely understood, or if you have doubts on whether the appliance is properly grounded.

DO NOT MODIFY OR EXTEND THE POWER CORD LENGTH
Doing so will cause electric shock or fire.
APPLIANCE DISPOSAL An empty refrigerator can be a dangerous attraction to children. Remove either gaskets, latches, lids or the entire door from your unused appliance, or take some other action to make it harmless. | This appliance must be grounded (earthed). DON’T WAIT! DO IT NOW! |
| Do not store inflammable materials, explosives or chemicals in the refrigerator. | |
| Do not store explosive substances such as aerosol cans with a flammable propellant in this appliance. | |
WARNING This appliance is not intended for use by person (including children) with reduced physical, sensory or mental capabilities, or lack of experience and knowledge, unless they have been given supervision or instruction concerning use of the appliance by a person responsible for their safety. | |
REFRIGERANT DISPOSAL This appliance contains fluid (refrigerant, lubricant) and is made of parts and materials which are reusable and/or recyclable. All the important materials should be sent to a waste collection center and can be reused after rework (recycling). Contact your local waste management service for more details. Junked or abandoned refrigerators are dangerous, even if they are sitting for only a few days. When disposing of the refrigerator, remove the packing materials from the door or take off the doors but leave the shelves in place so that children may not easily climb inside. | |
BEFORE CALLING FOR SERVICE
SERVICE CALLS CAN OFTEN BE AVOIDED.
IF YOU FEEL YOUR REFRIGERATOR IS NOT OPERATING PROPERLY, CHECK THESE POSSIBLE CAUSES FIRST :
| PROBLEM | POSSIBLE CAUSES |
| REFRIGERATOR DOES NOT OPERATE |
|
| REFRIGERATOR COMPARTMENT TEMPERATURE TOO WARM |
|
| ABNORMAL NOISE(S) |
|
| REFRIGERATOR HAS ODOR |
|
| DEW FORMS ON THE CABINET SURFACE |
|
| REFRIGERATOR IS NOT COOLING OR HAS NO POWER |
|
EARTH/GROUNDING CONSTRUCTION (OPTIONAL)

A grounding/earth wire may be installed to prevent electric shock in case of electricity leakage.
How to connect the earth wire:
- Connect the earth wire’s metal ring end to the earth screw on the back of the refrigerator.
- Peel off the cable sheath/insulation at the other end of the earth wire. Attach the peeled wire to a metal screw/nail and then drive it through the wall or ground.
Do not connect the earth wire to the following locations.
- Gas pipe
It could produce sparks which lead to fire and explosion. - Telephone earth wire and lightning rod
It is dangerous during lightning. - Water pipe and water tap
The earth wire connection will not work when the middle of the water pipe is made of plastic. If it is connected to a metal water pipe, it could cause someone to be electrocuted.
When installing the product in a humid or wet location, you must install the earth wire.
Ex) • Unfloored or dirt floored room (Room with dirt and no floor), concrete floor
• Location where it can get wet such as near the sink
• Location where water can leak or is humid such as basement
• Other wet or humid location
Especially in locations that are frequently wet such as near a restaurant sink, you are obligated by the law to install a circuit breaker in addition to the earth wire.
After consulting with your retailer or electrician, you must install an earth wire installation (Type 3 earth construction). Please note that such an installation could incur extra fees.
LIMITED WARRANTY
USA
TERMS AND CONDITIONS
ARBITRATION NOTICE: THIS LIMITED WARRANTY CONTAINS AN ARBITRATION PROVISION THAT REQUIRES YOU AND LG ELECTRONICS (“LG”) TO RESOLVE DISPUTES BY BINDING ARBITRATION INSTEAD OF IN COURT, UNLESS YOU CHOOSE TO OPT OUT. IN ARBITRATION, CLASS ACTIONS AND JURY TRIALS ARE NOT PERMITTED. PLEASE SEE THE SECTION TITLED “PROCEDURE FOR RESOLVING DISPUTES” BELOW.
Should your LG Refrigerator (“Product”) fail due to a defect in materials or workmanship under normal and proper use, during the warranty period set forth below, LG will, at its option, repair or replace the Product. This limited warranty is valid only to the original retail purchaser of the Product (“You”) and applies only when purchased lawfully and used within the United States including U.S. Territories.
WARRANTY PERIOD | |||
| Refrigerator/Freezer | Sealed System (Condenser, Dryer, Connecting Tube and Evaporator) | Compressor | |
| One (1) year from the date of original retail purchase | Five (5) years from the date of original retail purchase | Five (5) years from the date of original retail purchase | Linear / Inverter Compressor Only : Parts Only for years 6-10 from the date of original retail purchase (Consumer will be charged for labor) |
| Parts and Labor (internal/functional parts only) | Parts and Labor | Parts and Labor | |
- Replacement Products and parts are warranted for the remaining portion of the original warranty period or ninety (90) days, whichever is greater.
- Replacement Products and parts may be new, reconditioned, refurbished, or otherwise factory remanufactured.
- Replaced Product or part(s) will be the property of LG.
- Proof of original retail purchase specifying the Product model and date of purchase is required to obtain warranty service under this limited warranty.
- Warranty start date will be ninety (90) days from manufacture date absent valid proof of purchase.
EXCEPT TO THE EXTENT PROHIBITED BY APPLICABLE LAW, ANY IMPLIED WARRANTY OF MERCHANTABILITY OR FITNESS FOR A PARTICULAR PURPOSE ON THE PRODUCT IS LIMITED IN DURATION TO THE DURATION OF THE ABOVE LIMITED WARRANTY. UNDER NO CIRCUMSTANCES SHALL LG OR ITS U.S. DISTRIBUTORS/DEALERS BE LIABLE FOR ANY INDIRECT, INCIDENTAL, CONSEQUENTIAL, SPECIAL, OR PUNITIVE DAMAGES, INCLUDING, WITHOUT LIMITATION, LOST GOODWILL, LOST REVENUES OR PROFITS, WORK STOPPAGE, IMPAIRMENT OF OTHER GOODS, COST OF REMOVAL AND REINSTALLATION OF THE PRODUCT, LOSS OF USE, OR ANY OTHER DAMAGES WHETHER BASED IN CONTRACT, TORT, OR OTHERWISE. LG’S TOTAL LIABILITY, IF ANY, SHALL NOT EXCEED THE PURCHASE PRICE PAID BY YOU FOR THE PRODUCT.
SOME STATES DO NOT ALLOW THE EXCLUSION OR LIMITATION OF INCIDENTAL OR CONSEQUENTIAL DAMAGES OR LIMITATIONS ON HOW LONG AN IMPLIED WARRANTY LASTS, SO THE ABOVE EXCLUSIONS OR LIMITATIONS MAY NOT APPLY TO YOU. THIS LIMITED WARRANTY GIVES YOU SPECIFIC LEGAL RIGHTS AND YOU MAY ALSO HAVE OTHER RIGHTS THAT VARY FROM STATE TO STATE.
THIS LIMITED WARRANTY DOES NOT COVER:
- Service trips to deliver, pick up, or install, educate how to operate, correct wiring, or correct unauthorized repairs.
- Damage or failure of the Product to perform during power failures and interrupted or inadequate electrical service.
- Damage or failure of the Product caused by leaky or broken water pipes, frozen water pipes, restricted drain lines, inadequate or interrupted water supply or inadequate supply of air.
- Damage or failure of the Product resulting from operating the Product in a corrosive atmosphere or contrary to the Product owner’s manual.
- Damage or failure of the Product caused by accidents, pests and vermin, lightning, wind, fire, floods, acts of nature, or any other causes beyond the control of LG.
- Damage or failure of the Product caused by unauthorized modification or alteration, or if the Product is used for other than the intended purpose, or any water leakage where the Product was not properly installed.
- Damage or failure of the Product caused by incorrect electrical current, voltage, or plumbing codes.
- Damage or failure of the Product caused by transportation, storage, and/or handling, including scratches, dents, chips, and/or other damage to the finish of the Product, unless such damage is reported within one (1) week of delivery.
- Damage or missing items to any display, open box, or discounted Product.
- Refurbished Product or any Product sold “As Is”, “Where Is”, “With all Faults”, or similar disclaimer.
- Products with original serial numbers that have been removed, altered, or cannot be readily determined.
- Increases in utility costs and additional utility expenses.
- Any noises associated with normal operation.
- Products used for other than normal and proper household use (e.g., commercial or industrial use, offices, and recreational facilities or vehicles) or contrary to the Product owner’s manual.
- Costs associated with removal and reinstallation of the Product for repairs.
- Replacement of light bulbs, filters, or any consumable parts.
- The removal and reinstallation of the Product if it is installed in an inaccessible location or is not installed in accordance with the Product owner’s manual.
- Damage or failure of the Product resulting from misuse, abuse, improper installation, repair, or maintenance. Improper repair includes the use of parts not authorized by LG. Improper installation or maintenance includes installation or maintenance contrary to the Product owner’s manual.
- Damage or failure of the Product caused by the use of parts, components, accessories (e.g., water filters, etc.), consumable cleaning products, any other products, or services that are not authorized by LG.
- Shelves, door bins, drawers, handle and accessories, except for internal/functional parts covered under this limited warranty.
The cost of repair or replacement under these excluded circumstances shall be borne by You.
TO OBTAIN WARRANTY SERVICE AND ADDITIONAL INFORMATION
Call 1-800-243-0000 and select the appropriate option from the menu.
Or visit our website at http://www.lg.com
Or by mail: LG Electronics Customer Service P.O. Box 240007 Huntsville, AL 35813 ATTN: CIC
PROCEDURE FOR RESOLVING DISPUTES:
ALL DISPUTES BETWEEN YOU AND LG ARISING OUT OF OR RELATING IN ANY WAY TO THIS LIMITED WARRANTY OR THE PRODUCT SHALL BE RESOLVED EXCLUSIVELY THROUGH BINDING ARBITRATION, AND NOT IN A COURT OF GENERAL JURISDICTION. BINDING ARBITRATION MEANS THAT YOU AND LG ARE EACH WAIVING THE RIGHT TO A JURY TRIAL AND TO BRING OR PARTICIPATE IN A CLASS ACTION.
Definitions. For the purposes of this section, references to “LG” mean LG Electronics U.S.A., Inc., its parents, subsidiaries and affiliates, and each of their officers, directors, employees, agents, beneficiaries, predecessors in interest, successors, assigns and suppliers; references to “dispute” or “claim” shall include any dispute, claim or controversy of any kind whatsoever (whether based in contract, tort, statute, regulation, ordinance, fraud, misrepresentation or any other legal or equitable theory) arising out of or relating in any way to the sale, condition or performance of the product or this Limited Warranty.
Notice of Dispute. In the event you intend to commence an arbitration proceeding, you must first notify LG in writing at least 30 days in advance of initiating the arbitration by sending a letter to LG at LG Electronics, USA, Inc. Attn: Legal Department- Arbitration 111 Sylvan Avenue, Englewood Cliffs, NJ 07632. You and LG agree to engage in good faith discussions in an attempt to amicably resolve your claim. The notice must provide your name, address, and telephone number; identify the product that is the subject of the claim; and describe the nature of the claim and the relief being sought. If you and LG are unable to resolve the dispute within 30 days, either party may proceed to file a claim for arbitration.
Agreement to Binding Arbitration and Class Action Waiver. Upon failure to resolve the dispute during the 30 day period after sending written notice to LG, you and LG agree to resolve any claims between us only by binding arbitration on an individual basis, unless you opt out as provided below. Any dispute between you and LG shall not be combined or consolidated with a dispute involving any other person’s or entity’s product or claim. More specifically, without limitation of the foregoing, any dispute between you and LG shall not under any circumstances proceed as part of a class or representative action. Instead of arbitration, either party may bring an individual action in small claims court, but that small claims court action may not be brought on a class or representative basis.
Arbitration Rules and Procedures. To begin arbitration of a claim, either you or LG must make a written demand for arbitration. The arbitration will be administered by the American Arbitration Association (“AAA”) and will be conducted before a single arbitrator under the AAA’s Consumer Arbitration Rules that are in effect at the time the arbitration is initiated (referred to as the “AAA Rules”) and under the procedures set forth in this section. The AAA Rules are available online at www.adr.org/consumer. Send a copy of your written demand for arbitration, as well as a copy of this provision, to the AAA in the manner described in the AAA Rules. You must also send a copy of your written demand to LG at LG Electronics, USA, Inc. Attn: Legal Department- Arbitration 111 Sylvan Avenue, Englewood Cliffs, NJ 07632. If there is a conflict between the AAA Rules and the rules set forth in this section, the rules set forth in this section will govern. This arbitration provision is governed by the Federal Arbitration Act. Judgment may be entered on the arbitrator’s award in any court of competent jurisdiction. All issues are for the arbitrator to decide, except that issues relating to the scope and enforceability of the arbitration provision and to the arbitrability of the dispute are for the court to decide. The arbitrator is bound by the terms of this provision.
Governing Law. The law of the state of your residence shall govern this Limited Warranty and any disputes between us except to the extent that such law is preempted by or inconsistent with applicable federal law.
Fees/Costs. You do not need to pay any fee to begin an arbitration. Upon receipt of your written demand for arbitration, LG will promptly pay all arbitration filing fees to the AAA unless you seek more than $25,000 in damages, in which case the payment of these fees will be governed by the AAA Rules. Except as otherwise provided for herein, LG will pay all AAA filing, administration and arbitrator fees for any arbitration initiated in accordance with the AAA Rules and this arbitration provision. If you prevail in the arbitration, LG will pay your attorneys’ fees and expenses as long as they are reasonable, by considering factors including, but not limited to, the purchase amount and claim amount. Notwithstanding the foregoing, if applicable law allows for an award of reasonable attorneys’ fees and expenses, an arbitrator can award them to the same extent that a court would. If the arbitrator finds either the substance of your claim or the relief sought in the demand is frivolous or brought for an improper purpose (as measured by the standards set forth in Federal Rule of Civil Procedure 11(b)), then the payment of all arbitration fees will be governed by the AAA Rules. In such a situation, you agree to reimburse LG for all monies previously disbursed by it that are otherwise your obligation to pay under the AAA Rules. Except as otherwise provided for, LG waives any rights it may have to seek attorneys’ fees and expenses from you if LG prevails in the arbitration.
Hearings and Location. If your claim is for $25,000 or less, you may choose to have the arbitration conducted solely on the basis of (1) documents submitted to the arbitrator, (2) through a telephonic hearing, or (3) by an in-person hearing as established by the AAA Rules. If your claim exceeds $25,000, the right to a hearing will be determined by the AAA Rules. Any in-person arbitration hearings will be held at a location within the federal judicial district in which you reside unless we both agree to another location or we agree to a telephonic arbitration.
Opt Out. You may opt out of this dispute resolution procedure. If you opt out, neither you nor LG can require the other to participate in an arbitration proceeding. To opt out, you must send notice to LG no later than 30 calendar days from the date of the first consumer purchaser’s purchase of the product by either: (i) sending an e-mail to [email protected], with the subject line: “Arbitration Opt Out” or (ii) calling 1800-980-2973. You must include in the opt out e-mail or provide by telephone: (a) your name and address; (b) the date on which the product was purchased; (c) the product model name or model number; and (d) the serial number (the serial number can be found (i) on the product; or (ii) online by accessing https://www.lg.com/us/support/repair-service/schedule-repair-continued and clicking on “Find My Model & Serial Number”).
You may only opt out of the dispute resolution procedure in the manner described above (that is, by e-mail or telephone); no other form of notice will be effective to opt out of this dispute resolution procedure. Opting out of this dispute resolution procedure will not affect the coverage of the Limited Warranty in any way, and you will continue to enjoy the full benefits of the Limited Warranty. If you keep this product and do not opt out, then you accept all terms and conditions of the arbitration provision described above.
Canada
TERMS AND CONDITIONS
ARBITRATION NOTICE: THIS LIMITED WARRANTY CONTAINS AN ARBITRATION PROVISION THAT REQUIRES YOU AND LG TO RESOLVE DISPUTES BY BINDING ARBITRATION INSTEAD OF IN COURT, UNLESS THE LAWS OF YOUR PROVINCE OR TERRITORY DO NOT PERMIT THAT, OR, IN OTHER JURISDICTIONS, IF YOU CHOOSE TO OPT OUT. IN ARBITRATION, CLASS ACTIONS AND JURY TRIALS ARE NOT PERMITTED. PLEASE SEE THE SECTION TITLED “PROCEDURE FOR RESOLVING DISPUTES” BELOW.
Should your LG Refrigerator (“Product”) fail due to a defect in materials or workmanship under normal and proper use, during the warranty period set forth below, LG Electronics Canada, Inc. (“LGECI”) will, at its option, repair or replace the Product upon receipt of proof of the original retail purchase. This limited warranty is valid only to the original retail purchaser of the Product and applies only to a Product distributed, purchased and used within Canada, as determined at the sole discretion of LGECI.
WARRANTY PERIOD (Note: If the original date of purchase cannot be verified, the warranty will begin sixty (60) days from the date of manufacture) | |||
| Refrigerator | Sealed System (Condenser, Dryer, Connecting Tube and Evaporator) | Linear / Inverter Compressor | |
| One (1) year from the date of original retail purchase | One (1) year from the date of original retail purchase | Seven (7) years from the date of original retail purchase | Ten (10) years from the date of original retail purchase |
| Parts and Labor (internal/functional parts only) | Parts and Labor | Parts only (Consumer will be charged for labor) | Part only (Consumer will be charged for labor) |
- Replacement products and parts are warranted for the remaining portion of the original warranty period or ninety (90) days, whichever is greater.
- Replacement products and parts may be new, reconditioned, refurbished, or otherwise factory remanufactured, all at the sole discretion of LGECI.
- Proof of original retail purchase specifying the Product model and date of purchase is required to obtain warranty service under this Limited Warranty.
LGECI’S SOLE LIABILITY IS LIMITED TO THE LIMITED WARRANTY SET OUT ABOVE. EXCEPT AS EXPRESSLY PROVIDED ABOVE, LGECI MAKES NO, AND HEREBY DISCLAIMS, ALL OTHER WARRANTIES AND CONDITIONS RESPECTING THE PRODUCT, WHETHER EXPRESS OR IMPLIED, INCLUDING BUT NOT LIMITED TO, ANY IMPLIED WARRANTY OR CONDITION OF MERCHANTABILITY OR FITNESS FOR A PARTICULAR PURPOSE, AND NO REPRESENTATIONS SHALL BE BINDING ON LGECI. LGECI DOES NOT AUTHORIZE ANY PERSON TO CREATE OR ASSUME FOR IT ANY OTHER WARRANTY OBLIGATION OR LIABILITY IN CONNECTION WITH THE PRODUCT. TO THE EXTENT THAT ANY WARRANTY OR CONDITION IS IMPLIED BY LAW, IT IS LIMITED TO THE WARRANTY PERIOD SET OUT ABOVE. UNDER NO CIRCUMSTANCES SHALL LGECI, THE MANUFACTURER OR DISTRIBUTOR OF THE PRODUCT, BE LIABLE FOR ANY INCIDENTAL, CONSEQUENTIAL, SPECIAL, DIRECT, INDIRECT, PUNITIVE OR EXEMPLARY DAMAGES, INCLUDING, WITHOUT LIMITATION, LOSS OF GOODWILL, LOST PROFITS, LOSS OF ANTICIPATED PROFITS, LOST REVENUE, LOSS OF USE, OR ANY OTHER DAMAGE, WHETHER ARISING DIRECTLY OR INDIRECTLY FROM ANY CONTRACTUAL BREACH, FUNDAMENTAL BREACH, TORT OR OTHERWISE, OR FROM ANY ACTS OR OMISSIONS. LGECI’S TOTAL LIABILITY, IF ANY, SHALL NOT EXCEED THE PURCHASE PRICE PAID BY YOU FOR THE PRODUCT.
This Limited Warranty gives you specific legal rights. You may also have other rights that vary from province to province depending on applicable provincial laws. Any term of this Limited Warranty that negates or varies any implied condition or warranty under provincial law is severable where it conflicts with such provincial law without affecting the remainder of this warranty’s terms.
THIS LIMITED WARRANTY DOES NOT COVER:
- Service trips to i) deliver, pick up, or install or; educate on how to operate the Product; ii) correct wiring or plumbing; or iii) correct unauthorized repairs or installations of the Product;
- Damage or failure of the Product to perform during power failures and interrupted or inadequate electrical service;
- Damage or failure caused by leaky or broken water pipes, frozen water pipes, restricted drain lines, inadequate or interrupted water supply or inadequate supply of air;
- Damage or failure resulting from operating the Product in a corrosive atmosphere or contrary to the instructions outlined in the Product’s owner’s manual;
- Damage or failure to the Product caused by accidents, pests and vermin, lightning, wind, fire, floods, acts of God, or any other causes beyond the control of LGECI or the manufacturer;
- Damage or failure resulting from misuse, abuse, improper installation, repair, or maintenance of the Product. Improper repair includes use of parts not authorized or specified by LGECI. Improper installation or maintenance includes installation or maintenance contrary to the Product’s owner’s manual;.
- Damage or failure caused by unauthorized modification or alteration of the Product, or if used for other than the intended household purpose/use of the Product, or damage or failure resulting from any water leakage due to improper installation of the Product;
- Damage or failure caused by incorrect electrical current, voltage or plumbing codes;
- Damage or failure caused by use that is other than normal household use, including, without limitation, commercial or industrial use, including use in commercial offices or recreational facilities, or as otherwise outlined in the Product’s owner’s manual;
- Damage or failure caused by the use of any accessories, components or cleaning products, including, without limitation, water filters, that are not approved/authorized by LGECI;
- Replacement of the water filter cartridge due to water pressure that is outside the specified operating range or due to excessive sediment in the water supply;
- Damage or failure caused by transportation and handling, including scratches, dents, chips and/or other damage to the finish of the Product, unless such damage results from defects in materials or workmanship and is reported to LGECI within one (1) week of delivery of the Products;
- Damage or missing items to any display, open box, refurbished or discounted Product;
- Refurbished Product or any Product sold “As Is”, “Where Is”, “With all Faults”, or any similar disclaimer;
- Products with original serial numbers that have been removed, altered or cannot be readily determined at the discretion of LGECI;
- Increases in utility costs and additional utility expenses in any way associated with the Product;
- Any noises associated with normal operation of the Product;
- Replacement of light bulbs, filters, fuses or any other consumable parts;
- Replacement of any part that was not originally included with the Product;
- Costs associated with removal and/or reinstallation of the Product for repairs; and
- Shelves, door bins, drawers, handle and accessories to the Product, except for internal/functional parts covered under this Limited Warranty.
- Coverage for “in Home” repairs, for products in-warranty, will be provided if the Product is within a 150 km radius from the nearest authorized service center (ASC), as determined by LG Canada. If your Product is located outside a 150 km radius from a ASC, as determined by LG Canada, it will be your responsibility to bring the Product, at your sole expense, to the ASC for in-warranty repair.
All costs and expenses associated with the above excluded circumstances, listed under the heading, This Limited Warranty Does Not Cover, shall be borne by the consumer.
TO OBTAIN WARRANTY SERVICE AND ADDITIONAL INFORMATION, PLEASE CALL OR VISIT OUR WEBSITE:
Call 1-888-542-2623 (7 A.M. to 12 A.M., 365 days a year) and select the appropriate option from the menu, or visit our website at http://www.lg.com
PROCEDURE FOR RESOLVING DISPUTES:
EXCEPT WHERE PROHIBITED AT LAW, ALL DISPUTES BETWEEN YOU AND LG ARISING OUT OF OR RELATING IN ANY WAY TO THIS LIMITED WARRANTY OR THE PRODUCT SHALL BE RESOLVED EXCLUSIVELY THROUGH BINDING ARBITRATION, AND NOT IN A COURT OF GENERAL JURISDICTION. EXCEPT WHERE PROHIBITED AT LAW, YOU AND LG BOTH IRREVOCABLY AGREE TO WAIVE THE RIGHT TO A JURY TRIAL AND TO BRING OR PARTICIPATE IN A CLASS ACTION.
Definitions. For the purposes of this section, references to “LG” mean LG Electronics Canada, Inc., its parents, subsidiaries and affiliates, and each of their officers, directors, employees, agents, beneficiaries, predecessors in interest, successors, assigns and suppliers; references to “dispute” or “claim” shall include any dispute, claim or controversy of any kind whatsoever (whether based in contract, tort, statute, regulation, ordinance, fraud, misrepresentation or any other legal or equitable theory) arising out of or relating in any way to the sale, condition or performance of the product or this Limited Warranty.
Notice of Dispute. In the event you intend to commence an arbitration proceeding, you must first notify LG in writing at least 30 days in advance of initiating the arbitration by sending a letter to LGECI Legal Team at 20 Norelco Drive, North York, Ontario, Canada M9L 2X6 (the “Notice of Dispute”). You and LG agree to engage in good faith discussions in an attempt to amicably resolve your claim. The notice must provide your name, address, and telephone number; identify the product that is the subject of the claim; and describe the nature of the claim and the relief being sought. If you and LG are unable to resolve the dispute within 30 days of LG’s receipt of the Notice of Dispute, the dispute shall be resolved by binding arbitration in accordance with the procedure set out herein. You and LG both agree that, during the arbitration proceeding, the terms (including any amount) of any settlement offer made by either you or LG will not be disclosed to the arbitrator until the arbitrator determines the dispute.
Agreement to Binding Arbitration and Class Action Waiver. Upon failure to resolve the dispute during the 30 day period after LG’s receipt of the Notice of Dispute, you and LG agree to resolve any claims between you and LG only by binding arbitration on an individual basis, unless you opt out as provided below, or you reside in a jurisdiction that prevents full application of this clause in the circumstances of the claims at issue (in which case if you are a consumer, this clause will only apply if you expressly agree to the arbitration). To the extent permitted by applicable law, any dispute between you and LG shall not be combined or consolidated with a dispute involving any other person’s or entity’s product or claim. More specifically, without limitation of the foregoing, except to the extent such a prohibition is not permitted at law, any dispute between you and LG shall not under any circumstances proceed as part of a class or representative action. Instead of arbitration, either party may bring an individual action in small claims court, but that small claims court action may not be brought on a class or representative basis except to the extent this prohibition is not permitted at law in your province or territory of jurisdiction as it relates to the claims at issue between you and LG.
Arbitration Rules and Procedures. To begin arbitration of a claim, either you or LG must make a written demand for arbitration. The arbitration will be private and confidential, and conducted on a simplified and expedited basis before a single arbitrator chosen by the parties under the provincial or territorial commercial arbitration law and rules of the province or territory of your residence. You must also send a copy of your written demand to LG at LG Electronics, Canada, Inc., Attn: Legal Department- Arbitration, 20 Norelco Drive, North York, Ontario M9L 2X6. This arbitration provision is governed by your applicable provincial or territorial commercial arbitration legislation. Judgment may be entered on the arbitrator’s award in any court of competent jurisdiction. All issues are for the arbitrator to decide, except that, issues relating to the scope and enforceability of the arbitration provision and to the arbitrability of the dispute are for the court to decide. The arbitrator is bound by the terms of this provision.
Governing Law. The law of the province or territory of your purchase shall govern this Limited Warranty and any disputes between you and LG except to the extent that such law is preempted by or inconsistent with applicable federal or provincial/territorial law. Should arbitration not be permitted for any claim, action, dispute or controversy between you and LG, you and LG attorn to the exclusive jurisdiction of the courts of the province or territory of your purchase for the resolution of the claim, action, dispute or controversy between you and LG.
Fees/Costs. You do not need to pay any fee to begin an arbitration. Upon receipt of your written demand for arbitration, LG will promptly pay all arbitration filing fees unless you seek more than $25,000 in damages, in which case the payment of these fees will be governed by the applicable arbitration rules. Except as otherwise provided for herein, LG will pay all filing, administration and arbitrator fees for any arbitration initiated in accordance with the applicable arbitration rules and this arbitration provision. If you prevail in the arbitration, LG will pay your attorneys’ fees and expenses as long as they are reasonable, by considering factors including, but not limited to, the purchase amount and claim amount. Notwithstanding the foregoing, if applicable law allows for an award of reasonable attorneys’ fees and expenses, an arbitrator can award them to the same extent that a court would. If the arbitrator finds either the substance of your claim or the relief sought in the demand is frivolous or brought for an improper purpose (as measured by the applicable laws), then the payment of all arbitration fees will be governed by the applicable arbitration rules. In such a situation, you agree to reimburse LG for all monies previously disbursed by it that are otherwise your obligation to pay under the applicable arbitration rules. Except as otherwise provided for, LG waives any rights it may have to seek attorneys’ fees and expenses from you if LG prevails in the arbitration.
Hearings and Location. If your claim is for $25,000 or less, you may choose to have the arbitration conducted solely (1) on the basis of documents submitted to the arbitrator, (2) through a telephonic hearing, or (3) by an in-person hearing as established by the applicable arbitration rules. If your claim exceeds $25,000, the right to a hearing will be determined by the applicable arbitration rules. Any in-person arbitration hearings will be held at the nearest, most mutually-convenient arbitration location available within the province or territory in which you reside unless you and LG both agree to another location or agree to a telephonic arbitration.
Severability and Waiver. If any portion of this Limited Warranty (including these arbitration procedures) is unenforceable, the remaining provisions will continue in full force and effect to the maximum extent permitted by applicable law. Should LG fail to enforce strict performance of any provision of this Limited Warranty (including these arbitration procedures), it does not mean that LG intends to waive or has waived any provision or part of this Limited Warranty.
Opt Out.You may opt out of this dispute resolution procedure. If you opt out, neither you nor LG can require the other to participate in an arbitration proceeding. To opt out, you must send notice to LG no later than 30 calendar days from the date of the first consumer purchaser’s purchase of the product by either (i) sending an e-mail to [email protected], with the subject line: “Arbitration Opt Out;” or (ii) calling 1800-980-2973. You must include in the opt out e-mail or provide by telephone: (a) your name and address; (b) the date on which the product was purchased; (c) the product model name or model number; and (d) the serial number (the serial number can be found (i) on the product; or (ii) online by accessing https://www.lg.com/ca_en/support/repair-service/schedule-repair and clicking on “Find My Model & Serial Number”).
In the event that you “Opt Out”, the law of the province or territory of your residence shall govern this Limited Warranty and any disputes between you and LG except to the extent that such law is preempted by or inconsistent with applicable federal or provincial/territorial law. Should arbitration not be permitted for any claim, action, dispute or controversy between you and LG, you and LG agree to attorn to the exclusive jurisdiction of the courts of the province or territory of your residence for the resolution of the claim, action, dispute or controversy between you and LG.
You may only opt out of the dispute resolution procedure in the manner described above (that is, by e-mail or telephone); no other form of notice will be effective to opt out of this dispute resolution procedure. Opting out of this dispute resolution procedure will not affect the coverage of the Limited Warranty in any way, and you will continue to enjoy the full benefits of the Limited Warranty. If you keep this product and do not opt out, then you accept all terms and conditions of the arbitration provision described above.
Conflict of Terms. In the event of a conflict or inconsistency between the terms of this Limited Warranty and the End User License Agreement (“EULA”) in regards to dispute resolution, the terms of this Limited Warranty shall control and govern the rights and obligations of the parties and shall take precedence over the EULA.

Once defrosting is complete, the defrost button will return to its normal position automatically. If the frost on the surface of the evaporator exceeds 1/4 inch (6 mm), check and empty the drip tray after defrosting.
Filling the Water Tank
WATER DISPENSER (OPTIONAL)
















