LG GR-L197WVS Fridge

EXPLODED VIEW
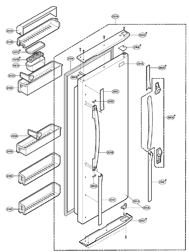
FREEZER DOOR PART: GR-P247, GR-P207, GR-L247, GR-L207, GR-L197

Ref No.: GR-L247, GR-L207, GR-L197, GR-B247, GR-B207, GR-B197 REFRIGERATOR DOOR PART
Optional part

FREEZER COMPARTMENT
Optional part

REFRIGERATOR COMPARTMENT
Optional part

ICE & WATER PART
Optional part

MACHINE COMPARTMENT
Optional part

DISPENSER PART



















