AQUATIC AV AQ-MP-5UBT-S Waterproof Media Player

Getting Started
Contents
- AQ-MP-5UBT-S Media Player
- Dummy Faceplate/Dust Cover
- AQ-USB-1 USB Input Socket
- Wiring Harness (AQ-UNH-2)
- DIN Cage and mounting screws
- User/Installation Manual
Connections (see Wiring Diagram 1.4)
- 12-pin Watertight Harness
The 12-pin harness supplies power and ground connections to the Media Player and four (4) speaker channel output connections from the Media Player (see also 1.3 below).
Do not cut or modify the 12-pin harness on the Locker side or warranty will be void. - FM/AM Radio Antenna Jack
Allows connection of FM/AM radio antenna. For best FM/AM performance make sure the antenna is extended to the highest achievable position. - Auxiliary Outputs
Allows external amplifiers to be connected to power additional speakers. - Auxiliary Inputs
Allows an additional RCA input, from a standalone unit or another stereo source. - 8-pin DIN Cable
Allows connection of the wired Remote Control (AQ-WR-5F sold separately). - Subwoofer Output
Allows powered (active) subwoofer to be connected via RCA connector. - 12V DC External Trigger (x2)
Allows for external lighting or relays to be triggered (350mA max load). - USB Input
USB for connection of Apple devices and USB flash drives. Charges USB devices when connected. - SiriusXM Satellite Radio Input
Allows the connection of the SiriusXM-Connect Vehicle Tuner (sold separately). - Bluetooth Antenna
Allows a Bluetooth device to wirelessly connect to the unit.
12-pin Harness Connection (see Wiring Diagram 1.4)
The AQ-MP-5UBT-S includes the universal harness AQ-UNH-2 in order to connect the stereo to power and speakers.
All open wire connections should be soldered and protected against water and dust for best long-term performance.
Wiring Diagram

Mounting Precautions
- A mounting template is included. Aquatic AV recommends using the ‘measure twice, cut once’ method!
- Once the mounting hole is complete, make sure the outside surface is clean and clear of debris. The Media Player has an external water/dust proof gasket, but this requires a clean and flat surface for best performance.
- The Media Player has four (4) front screws. Drive the screws using a screw driver. During final mounting apply equal pressure to all points for the best water/dust outer seal performance. Make sure screws are snug and do not over tighten.
- Review all outside surfaces of the Media Player to ensure a proper water/dust seal. This is important for long-term environmental protection performance for your digital media device.

Mounting the Media Player
The AQ-MP-5UBT-S is designed for a multi-environment application. For an easy system setup, mount the Media Player so the front controls will be easily accessible. In addition, observe the following precautions:
- Check clearances on both sides of a planned installation before drilling any holes or installing any screws.
- When routing RCA cables, keep them away from power cables and output speaker wires.
- Due to the design for a multi environment application, always support the back of the unit with the supplied back strap.

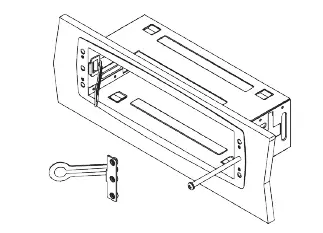
Slide mounting sleeve into DIN opening

Slide mounting brackets into position and tighten center bolts. Remove mounting bracket handles by bending backing brackets handles until they break off.
1.6.3 Slide Media Player into mounting sleeve. Secure Media Player using supplied hardware and mounting strap.
Power On
The AQ-MP-5UBT-S requires +12V DC to both the red and yellow wires. When both of these wires have power the AQ-MP-5UBT-S is always powered on. Ground is connected to the black wire.
Once all connections are made press the rotary knob and the stereo will turn ON.
In a spa application this requires the red and yellow wires to be jumped together and then con-nected to the +12VDC output of the power source. In this set up the AQ-MP-5UBT-S will always be on, with a very low current draw when idle.
In a boat, ATV or other application requiring power from a battery, the yellow wire (constant power) should be connected to the battery, and the red wire should be connected to the ignition or a switch.
For detailed instructions you can check out our online video:
‘How to wire your Aquatic AV stereo system’
http://www.aquaticav.com/support/videos
Location of Controls
Media Player Controls

- Front face release
- Preset/Search
- Fast Rewind/Forward
- Mode button
- Band/2-Zone
- LCD screen
- Menu/Info
- Function/XBS
- Play/Pause/Subwoofer
- ESC/Dimmer
- 12V Triggers
- Rotary Select Knob
Media Player Control Functions
| Button | AM/FM Mode | Aux In | Bluetooth | USB | SiriusXM® Satellite Radio | |
| Rotary Select Knob | Short Press | Mute | ||||
| Long Press | Power Off | |||||
| Short Press | When system is Off, this will power back On | |||||
| In MENU, FUNC: Select | ||||||
| Mode | Short Press | Enter mode select screen or switches to next source | ||||
| Long Press | No Function | |||||
| Rotary Knob Clockwise | Volume increases | |||||
| FUNC mode: Down / MENU: Next | ||||||
| Rotary Knob Counter Clockwise | Volume decreases | |||||
| FUNC mode: Up / MENU: Previous | ||||||
| Fast Forward |
Short Press | Scans to the next station | No Function | Changes to next song | Changes to next song | Next Station |
| Skip forward in Replay Mode | ||||||
| Long Press | Switches into manual seek mode | No Function | No Function | No Function | Rapid Channel | |
| Fast Forward | Fast Forward in Replay Mode | |||||
| Fast Rewind |
Short Press | Scans to the previous station | No Function | Changes to previous song | Changes to previous song | Previous Station |
| Skip Back in Replay Mode | ||||||
| Long Press | Switches into manual seek mode | No Function | No Function | No Function | Rapid Channel | |
| Fast Rewind | Fast Rewind in Replay Mode | |||||
| Play/Pause/ Subwoofer | Short Press | Toggles Mute On/Off | No Function | Toggles Play/Pause | Toggles Play/ Pause | Play/Pause SiriusXM |
| Long Press | Displays Subwoofer volume | |||||
| Band/2 Zone | Short Press | Switches between AM/FM Bands | No Function | No Function | No Function | SXM1, SXM2, SXM3 |
| Long Press | Toggles 2 Zone selection menu | |||||
| 12V Trigger | Short Press | Toggles 12V Trigger menu | ||||
| Func/XBS | Short Press | Toggles applicable functions for each mode | ||||
| Long Press | Toggles XBS ON/OFF | |||||
| ESC/DIM | Short Press | Returns you to the Previous Screen | ||||
| Long Press | Toggles between dimmer modes | |||||
| Preset/Search | Short Press | Displays your presets | No Function | Toggles Search feature* | Toggles Search feature* | Displays your presets |
| Long Press | Auto Store station preset | No Function | No Function | No Function | No Function | |
| Menu/Info | Short Press | Toggles system menu | ||||
| Long Press | Changes the information displayed on screen | No Function | Changes the information displayed on screen* | No Function | ||
iPod & iPhone only
- If your music player is connected via the Auxiliary input you will not be able to control track or receive track informa-tion.
- Turn off DSP to access control of Bass and Treble
Wired Remote Control AQ-WR-5F (sold separately)

Please note Aquatic AV does not recommend wired remote controls are used for spa or hot tub applications as use in such applications is not covered by warranty.
| Button | AM/FM Mode | Aux In | Bluetooth | USB | SiriusXM® Satellite Radio | |
| Rotary Select Knob | Short Press | Mute | ||||
| Long Press | Power Off | |||||
| Short Press | When system is Off, this will power back On | |||||
| In MENU, FUNC: Select | ||||||
| Mode | Short Press | Switches to next Source | ||||
| Long Press | No Function | |||||
| Rotary Knob Clockwise | Volume increases | |||||
| FUNC mode: Down / MENU: Next | ||||||
| Rotary Knob Counter Clockwise | Volume decreases | |||||
| FUNC mode: Up / MENU: Previous | ||||||
| Fast Forward |
Short Press | Scans to the next station | No Function | Changes to next song | Changes to next song | Next Station |
| Skip forward in Replay Mode | ||||||
| Long Press | Switches into manual seek mode | No Function | No Function | No Function | Rapid Channel | |
| Fast Forward | Fast Forward in Replay Mode | |||||
| Fast Rewind |
Short Press | Scans to the previous station | No Function | Changes to previous song | Changes to previous song | Previous Station |
| Fast Rewind | Skip Back in Replay Mode | |||||
| Long Press | Switches into manual seek mode | No Function | No Function | No Function | Rapid Channel | |
| Fast Rewind in Replay Mode | ||||||
| Play/Pause | Short Press | Toggles Mute On/Off | No Function | Toggles Play/Pause | Toggles Play/ Pause | Play/Pause SiriusXM |
| Long Press | Displays Subwoofer volume | |||||
| ESC | Short Press | Returns you to the Previous Screen | ||||
| Long Press | Toggles between dimmer modes | |||||
| Preset | Short Press | Displays your presets | No Function | Toggles Search feature* | Toggles Search feature* | Displays your presets |
| Long Press | Autosets presets | No Function | No Function | No Function | No Function | |
| Menu | Short Press | Toggles system menu | ||||
| Long Press | Changes the information displayed on screen | No Function | Changes the information displayed on screen | No Function | ||
Listening to Devices
Listening via Bluetooth
The Bluetooth menu is accessible via the in the ‘Menu/Info’ button and is used to connect or disconnect a Bluetooth device that has already been paired.
IAP (Information Apple Protocol) Bluetooth connectivity allows device information, such as song, playlist and album titles, to be streamed wirelessly and viewable on the AQ-MP-5UBT-S screen. This feature is available for Apple devices only.
Pair with Bluetooth Device
- Enable Bluetooth mode by pressing MODE and selecting Bluetooth.
- Switch on your Bluetooth device.
- Select ‘AQUATIC AV’ from the list of available devices to pair (no password is needed).
- A Bluetooth logo will illuminate on the Media Player LCD to verify Bluetooth is activated.
Listening via Bluetooth Device
- Bluetooth mode will be activated once a Bluetooth device is linked.
- Play the song from device and the sound will play through the Media Player.
- Press PLAY/PAUSE to play/pause the song.
- Press FAST REWIND/FORWARD buttons to play previous/next song file.
- Previous/next track and volume up/down can be controlled directly from your Bluetooth device or directly from the Media Player controls.
Listening via USB
Listening via USB (Apple Devices)
- Remove the faceplate and press the lever in the lower right corner of the unit to release the mechanism.
- Set the iPod/iPhone in the mechanism and adjust the clamps to hold it secure.
- Plug the iPod/iPhone cable into the USB input, and tuck the cable in so the faceplate can be reattached.
- Replace the faceplate. If the stereo was previously on it will come back on. If not press the Rotary Knob to power the unit on.
- Press the Mode button and select USB Mode.
Listening via USB Flash Drives
- Remove the faceplate and press the lever in the lower right corner of the unit to release the mechanism.
- Plug the USB drive in the USB port.
- Replace the faceplate. If the stereo was previously on it will come back on. If not press the Rotary knob to power it on.
- Press the Mode button and select USB Mode.
USB Search
- When using an iPhone, iPod or USB flash drive press SEARCH to enter USB searching mode.
- Once in searching mode the menu will display ‘Playlist’. Use the Rotary Knob to scroll through the search modes below:
- Playlist 2) Artist 3) Album 4) Song 5) Genre 6) Composer 7) Audio Book
- Press the Rotary Knob to select the desired search mode and continue in this manner to navigate the menu sub-folders.
- Use and FAST REWIND/FAST FORWARD to navigate through your menu page by page.
Device Charging
When specified USB devices are connected to the USB input the device battery will charge.
Listening via Auxiliary Input (3.5mm Jack)
- Remove the faceplate from the stereo.
- Connect your MP3 device to the 3.5mm connector.
- Re-attach the faceplate.
- Press the rotary knob to power the Media Player ON (if the faceplate was removed with the stereo still powered on, it will power on by itself).
- Press (MODE) on the Media Player or remote control to select ‘AUX IN-1’ mode.
Adjust Volume Level
- Turn the rotary knob clockwise increase the volume.
- Turn the rotary knob counter clockwise to reduce the volume.
Listening to SiriusXM® Satellite Radio
What is SiriusXM Satellite Radio?
Only SiriusXM® brings you more of what you love to listen to, all in one place. Get over 140 channels, including commercial-free music plus the best sports, news, talk, comedy and enter-tainment. Welcome to the world of satellite radio.
A SiriusXM-Connect Vehicle Tuner and subscription are required.
For more information,visit www.siriusxm.com
Activating SiriusXM Satellite Radio
The SiriusXM Radio ID is required for activation and can be found by tuning to Channel 0 as well as on the label found on the SiriusXM-Connect Vehicle tuner and its’ packaging. The Radio ID does not include the letters I,O,S or F. After installing your SiriusXM-Connect Vehicle Tuner and antenna, power on the Media Player, press the MODE button and select SiriusXM mode.
You should be able to hear the SiriusXM preview channel on Channel 1. If you cannot hear the preview channels, please check the installation instructions to make sure your SiriusXM-Connect tuner is properly installed.
After you can hear the Preview channel, tune to Channel 0 to find the Radio ID of your tuner.
In the USA, you can activate online or by calling SiriusXM Listener care:
- Visit www.siriusxm.com/activatenow
- Call SiriusXM Listener Care at 1- 866- 635- 2349
For Canadian Subscriptions, please contact:
- Visit www.siriusxm.ca/activatexm
- Call XM customer Care at 1- 877- 438- 9677
As part of the activation process, the SiriusXM satellites will send an activation message to your tuner. When your radio detects that the tuner has received the activation message, your radio will display: “Subscription Updated”.
Once subscribed, you can tune to channels in your subscription plan. Note, the activation process usually takes 10 to 15 minutes, but may take up to an hour. Your radio will need to be powered on and receiving the SiriusXM signal to receive the activation message.
Storing Channel Presets
- Select the channel you would like to store.
- Press the FUNC button, then select ‘Add Preset’ to select one of the 6 presets.
- When in the main screen, press BAND to select between SXM1, SXM2 & SXM3.
- Repeat steps above to store up to 18 total stations within SiriusXM mode.
Tuning to Channel Presets
- Press BAND to select the SXM1, SXM2 or SXM3.
- Press PRESET then use the encoder and rotate to the desired station.
Removing Channel Presets
- Press BAND to select the SXM1, SXM2 or SXM3.
- Press FUNC, then select ‘Remove Preset’.
- Select the desired preset to be removed.
REPLAY Playback
- Play/Pause: Using the Play/Pause button will allow the user to Play/Pause live audio.
- Skip Track Backward: Short press the Fast Rewind button.
- Skip Track Forward: Short press the Fast Forward button.
- Fast rewind: Press and hold the Fast Rewind button.
- Fast forward: Press and hold the Fast Forward button.
- Press FUNC then select ‘Jump to Live’ to resume back to live audio.
Parental Control
Parental Control allows you to prevent unauthorized access to selected channels you select. When enabled, the Parental Control feature requires you to enter a passcode to unlock any locked channels.
- Press FUNC then select ‘Parental Controls’.
- To select Parental Controls On/Off press the encoder to ‘Enter’.
- Using the Encoder rotate to select the default code “1111”.
- To lock channels press FUNC then select ‘Parental Controls’ then ‘Lock Channels’.
- Use the encoder to rotate to selected channels and press ‘Enter’.
- To remove channels from the lock list follow steps 1 to 5 above, but select Unlock instead of Lock.
- To change Pass Code, Press FUNC then select ‘Parental Controls’ then select ‘Change My Code’.
If you forget your passcode, press MENU, select SYSTEM, then select RESET. Understand that when you perform a RESET, all previously stored preset channels and audio settings in memory will be cleared. Once a RESET is performed, the Parental Control pass code will be reset to the default code (1111).
Reset / Restore Factory Defaults
- Short press MENU then select ‘SYSTEM’ using the rotary encoder.
- Select ‘RESET’ and press the rotary encoder to ‘Enter’.
- Select ‘SXM RESET’ and press the rotary encoder to ‘Enter’.
Direct Tune
Press FUNC then select ‘Direct Tune’, using the encoder. Rotate to select each number you would like to access (e.g. for channel 101; rotate first digit to 1 then press Enter, rotate second digit to 0 then press Enter, rotate last digit to 1 and press Enter. Channel 101 is now selected).
Channel Tune
Tuning to a specific channel can be done in three ways:
- Short press the FAST FORWARD button to go up to the next available station.
- Short press the FAST REWIND button to go down to the next available station.
- Press FUNC, CHANNEL then using the encoder, rotate counter clock wise to go down to the next available channel or clockwise to go up to the next available channel.
- Long press the FAST FORWARD button for Rapid Channel function.
- Long press the FAST REWIND button for Rapid Channel function.
Category Tune
- Press FUNC and select ‘Category’.
- Using the encoder rotate to select the category desired
- Press Enter, then select the channel desired.
Troubleshooting
| Message | Description |
| Check Antenna | The radio has detected a fault with the SiriusXM antenna. The antenna cable may be either discon- nected or damaged. Verify that the antenna cable is connected to the SiriusXM Connect Vehicle Tuner. Inspect the antenna cable for damage and kinks. Replace the antenna if the cable is damaged. SiriusXM products are available at your local car audio retailer or online at www.shop.siriusxm.com. |
| Check Tuner | The radio is having difficulty communicating with the SiriusXM Connect Vehicle Tuner. The tuner may be disconnected or damaged. Verify that the SiriusXM Connect Vehicle Tuner cable is securely connected to the radio. |
| No Signal | The SiriusXM Connect Vehicle Tuner is having difficulty receiving the SiriusXM satellite signal. Verify that your vehicle is outdoors with a clear view of the sky. Verify that the SiriusXM magnetic mount antenna is mounted on a metal surface on the outside the vehicle. Move the SiriusXM antenna away from any obstructions. Inspect the antenna cable for damage and kinks. Consult the SiriusXM Connect Vehicle tuner installation manual for more information on antenna installation. Replace the antenna if the cable is damaged. SiriusXM products are available at your local car audio retailer or online at www.shop.siriusxm.com. |
| Subscription Updated | The radio has detected a change in your SiriusXM subscription status. Press the ENTER button to clear the message. Visit www.siriusxm.com or call 866-635-2349 if you have questions about your subscription. |
| Channel Not Available | The channel that you have requested is not a valid SiriusXM channel or the channel that you were listening to is no longer available. You may also see this message briefly when first connecting a new SiriusXM Connect Vehicle tuner. Visit www.siriusxm.com for more information about the SiriusXM channel lineup. |
| Channel Not Subscribed | The channel that you have requested is not included in your SiriusXM subscription package or the channel that you were listening to is no longer included in your SiriusXM subscription package. Visit www.siriusxm.com or call 866-635-2349 if you have questions about your subscription package or would like to subscribe to this channel. |
| Channel Locked | The channel that you have requested is Locked by the radio Parental Control feature. See the section on Parental Control, page 16 for more information on the Parental Control feature and how to access locked channels. |
Listening to FM/AM Radio
Enter FM/AM Radio Mode
- Press MODE on the unit keypad and select RADIO mode.
- Press FAST REWIND/FAST FORWARD to seek another station.
- Press and hold either FAST REWIND/FAST FORWARD for manual tuning back or forward.
Saving Radio Channel to Memory
- Tune to the station you would like to be saved as a preset.
- Press the FUNC button to enter the Function menu.
- Select ‘Manually Save Preset’.
- Using the rotary knob you can choose which preset slot you would like to save the current station to.
- Upon successfully saving a preset, the preset number that was chosen will be shown in the left corner.
Listening to Saved Radio Memory
- Once the presets have been set either manually or using AS/PS press the ‘Preset’ button to display your presets.
Switching between US and European FM Modes
- When in ‘RADIO’ mode.
- Press the FUNC button to enter the Function menu.
- Scroll to ‘AREA’ then press the rotary knob.
- Use the Rotary Knob to scroll to the desired tuning Area and select by pressing the Ro-tarey Knob.
Settings Operation
From the ‘Audio Menu’ you are able to change the bass, treble, balance, and fader.
- To enter the ‘Audio Menu’ press the ‘AUDIO/MENU’ button.
- In the ‘Audio Menu’ press the ‘AUDIO/MENU’ to scroll through all options.
- To change the parameters use the rotary knob to adjust settings.
Clock Settings
From the clock settings menu you are able to adjust the time and switch the clock on or off.
- To change the time press MENU then use the rotary knob to navigate to SYSTEM settings then CLOCK SETTINGS. Use the rotary knob to adjust and set the time.
- To switch the clock on or off press MENU then use the rotary knob to navigate to SYSTEM settings then CLOCK PRIORITY. Use the rotary knob to select either ON or OFF.
Local/Distant Tuning
When ‘Local’ is turned on the Media Player seeks to only the radio channels with strong signal strength. When ‘Local’ is turned off the Media Player will seek to all radio channels it receives signal from.
- When in AM/FM mode press FUNC to access the ‘Local/Distant Tuning’ settings.
- Use the rotary knob to adjust settings.
Stereo/Mono
Change the output mode between stereo and mono. Some applications only accept a mono input.
- When in AM/FM mode press FUNC to access the ‘Stereo/Mono’ settings.
- Use the rotary knob to adjust settings.
FM Tuning Area
The FM tuning can be set to different areas, using the rotary knob to scroll through to select the desired tuning area.
There are seven different tuning areas: USA, EUR, LAT, ASIA, MIDDLE EAST, AUSTRALIA, RUSSIA.
- When in AM/FM mode press FUNC to access the ‘FM Tuning Area’ settings.
- Use the rotary knob to adjust settings.
Beep Tone
Beep tone plays when any button is pressed, it can be toggled on and off from this selection.
Day/Night Mode
Adjust the screen display for better visibility in day or night time operation.
To switch between Day and Night modes:
- Press MENU button to enter the SYSTEM menu.
- Use the Rotary Knob to locate and enter the ‘THEME’ option.
- Use the Rotary Knob to toggle between Day/Night mode.
- Short press the Rotary Knob to confirm changes.
Dimmer High/Low
Adjust the display brightness from 100% for normal operation to 30% brightness to reduce screen glare during night time operation.
System Reset
Restores all factory settings.
Additional Features
External 12V Triggers
Aquatic AV understands the need for more flexible remote applications. With the AQ-MP-5UBT-S Media Player Aquatic AV has provided two independent 12V ‘accessory’ trigger, activated from the RF wireless remote. These could activate any 12V based device like 12V lights or 12V motors. In any operational mode, press the (12V TRIGGER) key to activate. Press again to deactivate. Aquatic AV strongly recommend you speak to our technical service staff or your local Aquatic AV dealer if you are considering using this feature.
Load on External Trigger should not exceed 350mA.
Connecting Multiple Amplifiers or High Current Draw Lighting Systems

Wiring a Single Pull Single Throw (SPST) Relay
The SPST is necessary to protect the stereo in systems with multiple amplifiers. The AQ-MP-5UBT-S remote and trigger wire provide 350mV. While this enough to power a single amplifier, complex systems with multiple amplifiers will require a SPST relay.
Position 30: requires 12VDC from the main power source (12V battery, power supply etc). This should be the same power source that is powering your stereo.
Position 85: this is where you connect your ground from your power source (12V battery, power supply, etc.) This should be the same ground reference as your stereo.
Position 86: position 86 is triggered 12V, and is sent when your stereo is powered on.
For Aquatic AV stereos position 86 can be connected to either the blue remote wire in the harness or the brown 12V trigger on the rear of the unit. The differences are below:
Blue (recommended): The blue (remote wire) provides a 12VDC output when the stereo is pow-ered on. Meaning as soon as the stereo is powered on the blue wire sends 12VDC through the relay powering on the amplifier.
Brown: the brown (12V Trigger) provides 12VDC output when it is triggered via the lightning bolt icon on the faceplate or handheld remote. This setup is more advantageous is a more com-plex system with several zones, as it gives you control of when an amp is on or off.
Position 87: this is the 12VDC output that you will provide 12VDC to the remote turn on to the amplifiers in your system.
Specifications & Dimensions
Specifications
Media
- Supported media…………………………… Bluetooth / USB / MP3 / SiriusXM /FM/AM
- FM Frequency Range………………………. 87.5MHz – 107.9MHz(USA)/87.5MHz – 108MHz(EUR)
- AM Frequency Range………………………. 526.5KHz – 1606.5 KHz
- Bluetooth Operation Frequency range…….. 2402 – 2480MHz
- Bluetooth Output Power(MAX)<10dBm
- Supported media max. dimensions………. 107 x 184mm (WxH)
- Device charging…………………………….. via USB (front/internal and rear)
Inputs
- Auxiliary……………………………………… 1x 3.5mm stereo Jack socket, 1x stereo pair RCA
- USB…………………………………………… 1x front (internal), 1x rear (external – charging only)
Outputs
- Pre-Out………………………………………… 2x stereo pair RCA (4V)
- Subwoofer…………………………………… 1x RCA (4V)
- 12V Trigger………………………………….. 2x 12V triggers (350mA)
Power
- Output voltage @ 2 Ohm……………………. 4x 72W
- Output voltage @ 4 Ohm……………………. 4x 45W
- Operation voltage…………………………… 9.6V – 14.4V DC
- Max current draw…………………………… 7A
- Standby current draw……………………… 6mA
Multi-Environment Certifications
- Waterproof / Dustproof………………………. Yes – IP55
- Conformal PCB coating……………………. Yes
- UV protection……………………………….. 500 hours stable, ASTM D4329 compliant
- Salt/Fog protection……………………………. 500 hours stable, ASTM B117 compliant
- Stainless Steel mountings………………… Yes
Dimensions

Warranty Information
Aquatic AV offers a limited warranty of our products on the following terms:
- Length of warranty
2 years on audio systems, electronics, speakers, and accessories (receipt required). - Coverage
This warranty covers only the original purchaser of an Aquatic AV product purchased from an authorized Aquatic AV dealer. In order to receive service, the purchaser must provide Aquatic AV with a copy of the receipt stating the customer name, dealer name, product purchased and date of purchase. - Defective products
Products found to be defective during the warranty period will be repaired or replaced (with a product deemed to be equivalent) at Aquatic AV’s discretion. - What is not covered
Damage caused by accident, abuse, improper operations or theft. Any cost or expense related to the removal or reinstallation of product. Service performed by anyone other than an authorized Aquatic AV service center. Any product with the serial number or tamper labels defaced, altered, or removed. Subsequent damage to other components. Any product not purchased from an authorized Aquatic AV dealer. - Limit on implied warranties
Any implied warranties including warranties of fitness for use and merchantability are limited
in duration to the period of the express warranty set forth above. Some states do not allow limitations on the length of an implied warranty, so this limitation may not apply. No person is authorized to assume for Aquatic AV any other liability in connection with the sale of the product. - How to obtain service
You must obtain a return material authorization number (RMA) to return any product to Aquatic AV. You are responsible for shipping charges of returned products to Aquatic AV. Please record the model and serial number[s] of your equipment in the space provided below as your permanent record and will assist us with your factory warranty coverage. These numbers can be found on the rear of the stereo.
FCC Statement
FCC ID:
MADE IN CHINA
This device complies with Part 15 of the FCC Rules. Operation is subject to the following two conditions:
- This device may not cause harmful interference, and
- This device must accept any interference received, including interference that may cause undesired operation.
NOTE:
The equipment has been tested and found to comply with the limits for a Class B digital device, pursuant to Part 15 of the FCC Rules. These limits are designed to provide reasonable protection against harmful interference in a residential installation. This equipment generates, uses and can radiate radio frequency energy and, if not installed and used in accordance with the instructions, may cause harmful interference to radio communications. However, there is no guarantee that interference will not occur in a particular installation.
If this equipment does cause harmful interference to radio or television reception, which can be determined by turning the equipment off and on, the user is encouraged to try to correct the interference by one or more of the following measures:
- Reorient or relocate the receiving antenna.
- Increase the separation between the equipment and receiver.
- Consult the dealer or an experienced radio/TV technician for help.
The manufacturer is not responsible for any radio or TV interference caused by unauthorized modifications to this equipment. Such modifications could void the user authority to operate the equipment.




















