BCF PLU628702 XTM 110W Fixed Solar Panel

SAFETY/ WARNING
- Before using the XTM solar panels ensure the instructions have been read and understood.
- The solar panels are not intended for use by young children or infirm persons. Please keep away from pets.
- Always wear the appropriate Personal Protective Equipment (PPE) when working near batteries.
- This includes qloves and eye protection.
- Ensure battery is being charged in a well-ventilated area. Explosive gases may escape from the battery during charqing. Never charge a battery in a closed off space or in an area without ventilation.
- Never smoke, use an open flame or create sparks near a battery or charger whilst charging as gases may cause explosion. Please keep burning cigarettes, flames or other ignition sources away from the charging battery at all times.
- Do NOT attempt to use the solar panels if the cables or plugs are damaged. These units do not contain serviceable parts. To avoid a hazard ensure that any damage to the unit, cable or plugs are replaced by a qualified technician.
- Do NOT disassemble the solar panels. The warranty will be void if this instruction is ignored.
- Do NOT place the solar panels on fabric/leather/vinyl seats.on the battery or balanced in the engine bay.
- If the battery is still connected in the vehicle, ensure vehicle ignition is switched off before charging the battery.
- Never charge a frozen battery, non-rechargeable or dry cell battery.
- The XTM solar panels may have sharp edges-please handle with care.
- Do NOT bend or scratch solar panels.
- Do NOT walk, sit or place heavy items onto the solar panels
- Do NOT use a high pressure hose to clean the solar panels. Use a clean microfiber cloth to clean solar panels surfaces.
FIRST AID & BATTERIES
- For advice, contact the Poisons Information Centre in Australia (PH:13 1126)
- If battery acid makes contact with the skin or clothing. wash immediately with soap and water
- If battery acid makes contact with the eyes, hold eyelids apart and flush the eye continuously with fresh running water tor at least 15 minutes or until the Poisons information centre advises you to stop.
- If battery acid is swallowed, do not induce vomiting. Drink a glass of water and seek medical assistance.
SPECIFICATION
- SOLAR TECHNOLOGY: High Efficiency Monocrystalline
- POWER OUTPUT: 110 Watt Max 20.5V
- TESTING CONDITION: AM1.5. 1000W/m2 25°C
- OPERATE TEMPERATURE: 40°C to +85°C
- ACCESSORIES: 90cm Cable
- DIMENSION: 820x705x35mm
CAUTION:
- Use and store the product in a dry and well-ventilated location.
- Do not use near-flammable liquids or explosives.
- Stop use immediately if any wires become loose or electronic components are exposed.
UNIVERSAL SOLAR PANEL MOUNT KIT
- This universal solar panel mount kit is a set of mounting brackets that help to secure a solar panel to the desired surface such as on a vehicle, boat or roof.
- This universal solar panel mount kit can raise a solar panel to allow increased airflow which can help reduce the solar panel temperature and solar power loss.
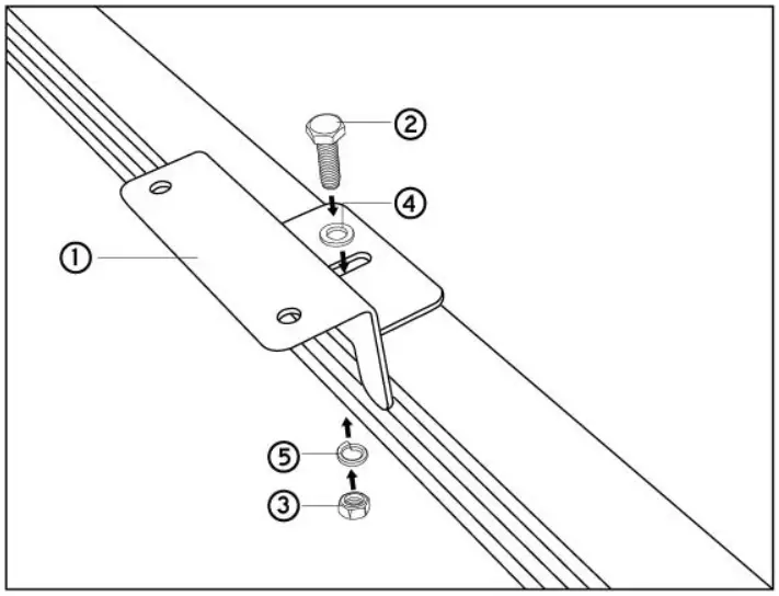
DIAGRAM/PARTS LIST

MOUNT KIT


SOLAR PANEL INSTALLATION GUIDE

- Align the Z-shaped bracket )1 with the solar panel holes.
- Put a washer 4 on the bolt 2 and thread it through the Z-bracket and the solar panel. Then put another washer 5 onto the bolt and finally a nut 3.
- Tighten making sure the Z-brackets supports are pressed firmly against the outside of the solar panel.
- Repeat 1 to 3 for each of the four Z~brackets
FREQUENTLY ASKED QUESTIONS
- Q: Are the fixed solar panels waterproof ?
- A: Yes, the solar panel is water resistant to a rating of IP65.
- Q: Are the fixed solar panel suitable for 6/12/24Volt batteries?
- A: No. They fixed solar panels are only for 12Volt batteries.
- Q: Can the fixed solar panels be left on the battery permanently?
- A: It is recommended that the fixed solar panels are checked reqularly as leaving a battery on charge permanently may cause damage to your battery.
WARRANTY
Our product is quaranteed to be free from quality and manufacturing defects for a period of 12 months If your product becomes defective during this period. SRGS PTY LTD will offer you either a replacement. credit or refund where a product is faulty: wrongly described; different from the sample shown to you or do not do what they are supposed to do. Our goods come with quarantees that cannot be excluded under the Australian Consumer Law. You are entitled to a replacement or refund for a major failure and for compensation for any other reasonably foreseeable loss or damage. You are also entitled to have the goods repaired or replaced if the goods fail to be of acceptable quality and failure does not amount to a major failure. To claim the warranty. take the product to the front Service Desk of your nearest store of purchase. You will need to show receipt or other proof of purchase. Additional information may be required to process your claim. Should you not be able to provide proof of purchase with a receipt or bank statement, identification showing name, address and signature may be required to process your claim. Any expenses relating to the return of your product to the store will normally have to be paid by you. For online store purchases, SRGS PTY LTD will pay for the return freight for any product assessed as having a major failure. The benefits to the customer given by this warranty are in addition to other rights and remedies of the Australian Consumer Law in relation to the goods or services to which this warranty relates This warranty is provided by SRGS PTY LTD. 6 Coulthards Avenue, Strathpine QLD 4500. Australia. Phone: 1300 880 764.
TECNICAL SPECIFICATION
- PLU: 628702
- Construction: Monocrystalline solar panel
- Max power (Nom.): 11OW
- Dimensions: 820x705x35mm
- Max power voltage: 20.5V
- Max power current: 5.37A
- Open circuit voltage: 24.19V
- Short circuit current: 5.89A
- Power Tolerance: t3
- Cable length: 90CM
- Operating temperature: -40°C to+85°C
- Standard test conditions: AMI.5 100OW/m2 25°C
- Manufactured in: China
PLU: 628702 CODE: 110CARAVANPANEL
Manufactured & packaged for SRGS PTY LTD
ABN 23 113 230 050
6 Coulthards Avenue
Strathpine QLD 4500, Australia
MADE IN CHINA



















