
LED SLIM CUTOFF WALL PACK
INSTALL INSTRUCTIONS
PLEASE FIND A QUALIFIED ELECTRICIAN FOR INSTALLATION.
Please read the instructions before you install and use the luminaire.
- To prevent personal injury or product damage only licensed electricians should install.
- To avoid electric shock or component damage disconnect power before attempting installation or servicing.
- This product must be installed in accordance with the national electric code (NEC) and all applicable federal, state and local electric codes and safety standards.
- Disconnect product and allow cooling prior to servicing.
- Any alteration or modification of this product is expressly forbidden as it may cause serious personal injury, death, property damage and/or product malfunction.
- To prevent product malfunction and/or electrical shock this product must be properly grounded.
- Wall mount only.
- Not suitable for mounting within 4 ft (1.2 m) of the ground.
- Suitable for wet locations.
WARNING DISCONNECT POWER BEFORE INSTALLING OR SERVICING.
MOUNTING
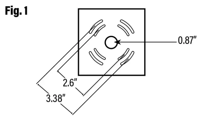
- Loosen the screw on the side and open the fixture, attach to the wall using the installation holes, (Fig 1)
- Close the fixture and lock the screw.

WIRING
- Complete the wiring to the power source and ground. (Fig 2)
Fig.2 – GENERAL WIRING DIAGRAM

Universal voltage driver permits operation at 100V to 277VAC, 50 or 60Hz except fixtures factory ordered with a 120V photocell.
- Connect the black fixture line to the (L) Live line supply wire.
- Connect the white fixture line to the (N) Neutral line supply wire,
- Connect the green fixture line to the (G) Ground line supply ground.
CLEANING AND MAINTENANCE
CAUTION: Be sure fixture temperature is cool enough to touch. Do not clean or maintain while fixture is powered on.
- Clean lens and fixture with non-abrasive glass cleaning solution.
- Do not touch or open fixture to clean the LED.
TROUBLESHOOTING
- Check that the line voltage at fixture is correct. Refer to wiring directions.
- Make sure fixture is grounded properly.
Specifications subject to change without notice. Photos and line drawings may not be to scale and are for general reference only.
PREMIUM QUALITY LIGHTING? – www.PQLighting.com
© P.QLL., Inc.
– 2285 Ward Avenue
– Simi Valley, CA 93065
– 800-323-8107




















