SIP 01332 10 Inch Table Saw 3hp Sliding Carriage 240v

General notes
After unpacking, check all parts for any transport damage. Inform the supplier immediately of any fault.
Later complaints cannot be considered.
Make sure the delivery is complete.
Before putting into operation, familiarize yourself with the machine by carefully reading these instructions.
We recommend
That you read and fully understand these operating instructions before putting the sliding carriage into operation.
Notes on safety
- Follow the safety instructions for your machine.
- During work, ensure that the workpiece is guided safety and accurately.
- Do not remove guards.
Using device for its intended purpose
- This sliding table is designed for woodworking only and must only be fitted to the table saw for which it was designed.
- The minimum and maximum dimension of the workpiece must permit safe workpiece guidance.
- The workpieces being cut must always be free from foreign bodies such as nails and screws.
- Before commencing work, read the operating manual for your table saw.
- Do not remove any guards or clamping devices; these are required for safe operation.
Technical specifications
- SIP item number: 01495
- Swing range of stop rail continuous on both sides: upto 45
- Stop rail: Max. 1500mm
- Sliding rail length: 2000mm
- Bench width: 500mm
- Bench length: 480mm
Scope of delivery
- Sliding rail
- Sliding bench
- Scale mount
- Stop tube
- Complete stop rail
- Folding stop
- Mounting bracket
- Workpiece clamp
- Assembly accessories (separate pack)
- Operating manual
Assembly
Assembly tools
- 1 open-end spanner 10mm
- 1 open-end spanner 13 mm
- 1 allen key 5 mm
- 1 allen key 6 mm
- 1 screwdriver(not included)
To simplify packing, your slide bench is not fully assembled when shipped.
Before assembling /fitting the sliding carriage, the left hand extension table will need to be removed.
Warning: The extension table is heavy; at least 2 persons are required to carry out this operation safely.
- Loosen (do not completely undo) the nuts of the front and rear fence rail retaining bolts enough to allow the fence rails to slide.
- Slide the front and rear fence rails to the right, and remove the left hand extension table (see the “8.2 installing the extension table” section in the user manual supplied with your saw, and follow the instructions in reverse to remove the extension table). Remove the square head bolt from the front fence guide rail, as this will be needed once the extension table is fitted to the right hand side of the saw.
- With the table removed, the fence support rails can be set to the correct position. Line up the left hand end of the rails with the left hand edge of the saws main table and re-tighten the securing bolts (see Fig. below).
The left hand extension table can novw be fitted to the right hand side of the saw (if required) to provide extra workpiece support. - Fit the 2 supplied support legs to the right hand side of the extension table (ensure the bevelled edge is at the front of the saw), use the holes that previously held the extension table to the main saw bed to attach the support legs (see Fig. below).

- Extend the support legs to approximately the correct height and tighten the allen bolts to lock them, follow “8.2 installing the extension table” section in the user manual supplied with your saw to re-fit the extension table (see Fig. below). Ensure the square head bolt, previously removed from the front fence support rail is re-fitted and that it lines up with the hole on the extension table before all nuts / bolts are fully tightened.

- Fully extend the adjustable support legs to the correct height and tighten the allen bolt to secure.
Because the support rails have been moved to the right, the scale will no longer be set correctly. - Remove the old scale and replace it with the one supplied with the sliding carriage (see Fig. below).

Sliding bench
Fit the scale mount (1) to the sliding bench.
- 2 allen bolts M6x16
Insert the intermediate plates (2) into the stop tube
do not tighten the screws.
- 2 washers: 6mm
- 2 thumbscrew: M6
Fit the stop tube on the sliding bench.
- 1 swing bolt
- 2 washers: 8mm
- 1 Wave washer: 8mm
- 1 hex nut: M8
The wave washer must be between the stop tube and the sliding bench.
Adjust the scale mount
Release the 2x allen bolts M6x16 and shift the scale mount to the left or to right make sure the pointer with the “0” scale. then tighten the 2x allen bolts
Slide the guide rail (3) over the intermediate plates (2) and tighten the thumbscrews.
Insert the folding stop (4) into the end stop and tighten the T-screw.
Mounting bracket
Fit the two “L” mounting brackets to the table of saw. 4 allen bolts M8x50
Fit the two mounting brackets to the two “L” mounting brackets. 4 allen bolts M8x20
Make sure the slide bench must run parallel to the bench surface.
Sliding rail
Insert the Sliding rail from above at a slight angle into the mounting brackets and tighten the wing nuts.
Mounting the sliding bench.
To mount the sliding bench on the sliding rail, unlock the stop bolt.
Pull out the ball knob and turn clockwise or counter-clockwise (1/4turn).
Slide the bench on the sliding rail, ensuring that the bearings line up correctly and the bench runs smoothly.
Turn the ball knob until it is in its original position to prevent the bench from falling from the rail unintentionally.
Adjusting the sliding bench.
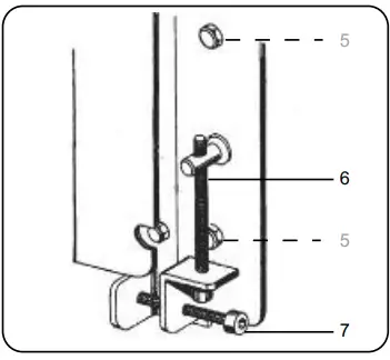
Adjust the sliding table so that it is fiush with the main bed of the saw. To assist with the alignment, use the main ripfence (inverted) from the saw.
Lay it accross both the sliding table and fixed main bed and adjust the height/ angle until both are completely level.
The adjustment is made at the left and right rail fixture.
Loosen the two hexagon screw (5) slightly.
- By alternately adjusting the height adjust ment screw (6) and the angle adjustment screw (7), align the slide bench so that it is at the same height as the cutting table.
- Test and measure the parallel motion of the slide bench to the cutting bench.
- Measure in front and back positions.
- If necessary, release 4x alllen bolts on two “L” mounting bracket to measure the parallel motion.
- Tighten the hexagon nuts (5).

Workpiece stop angle correction
- After making a test cut, check the 90 angle.
- Loosen the cap nut to make the necessary correction.
- Swing back the stop tube a short way and set the adjusting nut (8) by hand.
- Tighten the cap nut again and make a further test cut.
- Repeat the correction procedure as necessary.

Stop rail.
- The stop rail is 1500 mm long when it is fully pulled out.
- Adjust the folding stop on the end stop to exactly 900 mm. when pulling out the end stop rail, read the length on the scale.
- Fine adjustment can be made using the knurled screw on the folding stop.
- 1 devision=0.1mm
- 1 turn = 2mm
- Tighten the screw (9) onto the axle of the stop lever (10) so that the stop lever does not drop down when folding.

Angle stop
The angle stop can swing to 45°either side of 0. Loosen the handwheel on the swing segment, pull out and turn the ball knob (situated under the slide bench) 1/4 of a turn, the desired angle between 45° either side of 0 can now be set, re-tighten the hanwheel to lock in place.
When swinging the angle stop back, lock the ball knob back into place below the slide bench by hand.
Sliding rail
- The sliding rail can be moved forwards or back- wards.
- Loosen the 2 wing nuts on the left and right hand mounting brackets.
- Depending on the size of the workpiece, move the sliding rail into the ideal position relative to the main table, then tighten both sets of wingnuts.

Mounting the Support Leg to the Sliding Rail
An adjustable support leg is supplied to be mounted onto the sliding rail for safe operation(see picture).
Extend the support leg to approximately the correct height, then mount it.
Fully extend the adjustable support leg to the correct height and tighten the allen bolt to secure.
Workpiece Clamp
Safe workpiece guidance is a precondition for accurate and safe working. It is therefore important that you use the workpiece correctly.
Fit the pulling rod into its locating hole situated on the stop tube (see picture). Hold the rod in place with the supplied counter sunk screw (from below).
Attach the workpiece clamp (12) to the pulling rod; the desired height can be held with the handwheel.
Adjustment of workpiece clamp
- Place the workpiece on the bench.
- Apply the workpiece clamp with the lever in position(a) to the pulling rod.
- Loosen the height adjusting handwheel and place the lever in position (b), lower the clamp until it is touching the workpiece, re-tighten the handwheel to secure.
- To clamp the workpiece, move the clamp into position(c)

Maintenance
Keep the bench surface free from resin.
Occasionally check the function of the wiper springs on the bench bearings.
Partlist
No. Description
- 001 Ratchet lever M6
- 002 Bushing
- 003 Flat washer 6mm
- 004 Folding stop
- 005 Bolt guide
- 006 Carriage bolt M6x36
- 007 End stop
- 008 Indermediate plate
- 009 Roll
- 010 Washer 6mm
- 011 Thumbscrew M6x25
- 012 Carriage bolt M6x50
- 013 Bolt guide
- 014 Stop tube
- 015 Washer 6 mmn
- 016 Wing nut M6
- 017 End plate, sliding bench
- 018 Taping screw 3.5×13
- 019 Scale mount
- 020 Alen bolt M6x16
- 021 Lock handle M8
- 022 Swing bolt
- 023 Flat Washer 8 mm
- 024 Wave washer 8mm
- 025 Hex nut M8
- 026 Stop rail
- 027 Guide rail
- 028 End cap
- 029 Taping screw 4×13
- 030 Sliding bench
- 031 Indermediate plate
- 032 Indermediate plate
- 033 Sunk head screw M6x18
- 034 Roller seat
- 035 Hex nut M6
- 036 Ball bearing
- 037 Circle ring
- 038 Serrated washer 6mm
- 039 Hexagon head screw M6x20
- 040 Ball knob
- 041 Spring
- 042 Flat washer 8mm
- 043 Shaft
- 044 Hex nut M8
- 045 Flat washer 8mm
- 046 Flat washer 8mm
- 047 Self-locking nut M8
- 048 Hexagon head screw
- 049 Flat washer 8mm
- 051 U bracket
- 052 Carriage bolt M8x85
- 053 Spring
- 054 Roll pin 3×30
- 055 Rotate shaft
- 056 Mounting bracket
- 057 Flower handle
- 058 Workpiece clampP
- 059 Circle ring
- 060 Cam
- 061 Lever
- 062 Knob-lever
- 063 Pin
- 064 Circle ring
- 065 Holder rod
- 066 Spring
- 067 Holder
- 068 Countersunk head srew M6x16
- 069 Pulling rod
- 070 End cap, sliding rail
- 071 Sliding rail
- 072 Hex nut M8
- 073 Rubber bushing
- 074 Allen screw M8x20
- 075 Flat washer 8 mm
- 076 Rail
- 077 Allen screw M6x20
- 078 Carriage bolt M8X30
- 079 Bolt guide
- 080 Flat washer 8 mm
- 081 Wing nut M8
- 082 Guide carriage
- 083 Allen screw M8x20
- 084 Mounting bracket
- 085 Carriage bolt M8x50
- 086 Cap nut M8
- 087 Support leg
- 088 Allen bolt M8x30
- 089 Disc insert
- 090 Fine adjusting disc

The left hand extension table can novw be fitted to the right hand side of the saw (if required) to provide extra workpiece support.

























