70684 High-Efficiency Gas Filter
Instruction Manual
Certifications
In accordance with EU Regulation 2016/426 (GAR)
UNI-EN 13611 approved
In compliance with Technical Regulations of the Eurasian Customs Union (EAC)
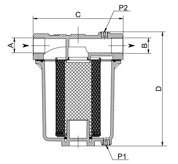
OVERALL DIMENSIONS (mm)

P1: inlet pressure tap
P2: outlet pressure tap
Between P1 and P2 (Rp ¼”) it’s possible to fit a differential pressure gauge or a pressure switch to check the pressure drop on the filter element.
| Mod. | A | B | C | D |
| 70684 | Rp 1″ | Rp 1″ | 192 | 245 |
| 70685 | Rp 1″1/4 | Rp 1″1/4 | 192 | 250 |
| 70686 | Rp 1″1/2 | Rp 1″1/2 | 192 | 250 |
| 70687 | Rp 2″ | Rp 2″ | 182 | 265 |
TECHNICAL DATA
GENERAL FEATURES
Connections: ………………….Rp UNI EN 10226-1
Maximum working pressure: ……………… 6 bar
Working temperature …………….. -20°C÷80°C
Mechanical strength: according to UNI EN 13611 (group 2)
Filter material: Polyester felt coupled with aluminum mesh.
Efficiency: 98% of particles are bigger than or equal to 3 microns; 99% of particles are bigger than or equal to 5 microns.
Pressure diff. of cartridge collapse: ……. 3 bar
Filtering surface: …………………………. 1250 cm²
Filtering direction: ………………..external/internal
Materials: Aluminium cover and body, NBR rubber gaskets.
Fuel: all three families of gas: manufactured gas (town gas); natural gas (group H – methane); liquefied petrol gas (LPG); non-aggressive gases.
INSTALLATION
Ensure that the filter is suitable for the use envisaged and that all the technical specifications have been respected.
Do not install the filter in contact with plastered walls.
Use appropriate tools for the installation and intervene on the threaded hubs.
Mount the filter so that it is conveniently placed for any future inspections or cleaning.
Assure that the gas flow is as indicated on the filter.
It can be installed both on horizontal and vertical pipes; the filter position is irrelevant.
MAINTENANCE
Change the filter element if the ∆p between inlet and outlet pressure is more than 200 mbar with respect to the value found with the new cartridge; in any case, the filtering element should be changed at least once every year.
To replace the filtering element proceed as follows:
- Interrupt the gas flow by closing the on/off interception tap;
- unscrew the four screws on the perimeter of the cover and remove the body;
- remove the filtering element and carefully clean the filter seat
- replace the filtering element with a new one;
- replace the body containing the new cartridge in the initial position and tighten the screws; (see table of tightening torques below).
- check that there are no gas leaks from the filter cover and bowl.
| Mod. | Tightening torque [Nm] |
| 70684 | 10 |
| 70685 | 10 |
| 70686 | 10 |
| 70687 | 10 |
ALL INSTALLATION, REARMING, CALIBRATION, AND MAINTENANCE OPERATIONS MUST BE CARRIED OUT SOLELY BY QUALIFIED PERSONNEL.
The descriptions and photographs contained in this product specification sheet are supplied by way of information only and are not binding. Watts Industries reserves the right to carry out any technical and design improvements to its products without prior notice. Warranty: All sales and contracts for sale are expressly conditioned on the buyer’s assent to Watts terms and conditions found on its website at www.wattswater.eu. Watts hereby objects to any term, different from or additional to Watts terms, contained in any buyer communication in any form, unless agreed to in a writing signed by an officer of Watts.
DIAGRAM OF FLOW RATES/PRESSURE DROPS

Guarantee
Watts products are thoroughly tested. The said guarantee covers solely replacement or – at the full sole discretion of WATTS – repair, free of charge, of those components of the goods supplied which in the sole view of Watts present proven manufacturing defects. The period of limitation for claims based on defects and defects in title is two years from delivery/the passage of risk. This warranty excludes any damage due to normal product usage or friction and does not include any modified or unauthorized repair for which Watts will not accept any request for damage (either direct or indirect) compensation (for full details see our website). All sales subject to the Watts terms to be found on www.wattswater.eu

Watts Industries Italia S.r.l.
Sede operativa: Via Brenno, 21 – 20853 Biassono (MB), Italia – Tel: +39 039 49.86.1 – Fax: +39 039 49.86.222
© 2022 Watts



















