
Go Lightly Sconce
Item # BBL 2080
ASSEMBLY INSTRUCTIONS

NOTICE:
This light fixture should be installed in accordance with all applicable, local installation codes, and by a person familiar with the construction and operation of it, as well as the hazards involved. Inspect item and contents carefully. If any damage or defect is found, do not install. Retain all packaging material until installation is complete and approved.
TOOLS REQUIRED (NOT INCLUDED):
Phillips Screwdriver
Slotted Screwdriver
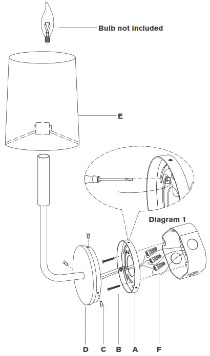
- Carefully remove all parts from the box. Place on a clean, soft surface.
- Remove mounting plate (A) from fixture (D) by removing screws (C).
- Install mounting plate (A) to the junction box and secure with the mounting screws (B).
- Wrap fixture ground wire (bare copper) around the green grounding screw (see diagram 1). Tighten. Continue fixture ground wire and connect to supply ground wire (usually green or bare copper) using wire nut (F).
NOTE: It is imperative that the fixture is grounded. - Connect fixture neutral wire (white) to the supply neutral wire (usually white) using wire nut (F).
- Connect fixture hot wire (black) to the supply hot wire (usually black) using wire nut (A).
CAUTION: Do not reverse the hot and neutral connections. - Make sure all wire connections are tight, then carefully tuck into the junction box.
- Install fixture (D) to mounting plate (A) and secure with screws (C).
- Place shade (E) onto socket.
- Install light bulb onto the socket.
Care Instructions: Clean only with a soft dry cloth or feather duster. Do not use abrasive or chemical agents.
![]()
![]()


















