Echo SRM-225 U-handle Combo Kit

WARNING
You must install a Barrier Bar or U-Handle Kit and all Blade Conversion parts shown in the following instructions before operating this unit with blades, otherwise serious injury may result.
IMPORTANT: If non-standard monofilament heads, METAL/PLASTIC blades or cultivators etc., are used, THE CARBURETOR MUST BE RESET or serious engine damage can occur. See “Carburetor Adjustment” in the unit Operator’s Manual.
SRM/PAS/SB BLADE SET-UP GUIDE
| TO USE THESE BLADES | Pro Maxi-Cut Grass/Weed Plastic Cutters | Rigid Plastic Tri-Cut Grass/Weed Blade | Metal Tri-Cut/8 Tooth Grass/Weed Blade | Metal 80T Brush Blade Metal 22T Clearing Saw Blade | |
| You must install these parts! | Handle | Loop Handle, w/or w/o Barrier Bar | Loop Handle w/Barrier Bar, or U-Handle | Loop Handle w/Barrier Bar, or U-Handle | U-Handle |
| Debris Shield | Metal Shield | Metal Shield | Metal Shield | Metal Shield | |
| Harness | Shoulder Harness | Shoulder Harness | Shoulder Harness | Shoulder Harness**** | |
| Blade Mounting Hardware | Upper Plate & Flat Washer | Upper Plate & Glide Cup | Upper/Lower Blade Plates** | Upper/Lower Blade Plates** | |
| Hex Nut | Hex Nut | Hex Nut | Hex Nut | ||
| New Cotter Pin*** | New Cotter Pin*** | New Cotter Pin*** | New Cotter Pin*** | ||
WARNING
- DO NOT INSTALL BLADES ON GT (CURVED SHAFT) MODEL TRIMMERS
- Arbor diameter of Upper Blade Plate must match arbor diameter of metal blades.
- New cotter pin required each time blade is installed.
- Brushcutters over 16.5 lbs (7.5 kg) dry weight (weight w/o fuel) require a double shoulder harness
Contents

- 1, U-handle assembly
- 1, Lower u-handle bracket (2 halves)
- 1, Harness Clamp w/ring
- 1, 5 x 12 mm bolt
- 1, 8 x 55 mm bolt
- 1, Circular washer
- 1, Square nut
- 2, Throttle cable clips
- 3, 5 x 25 mm bolts
- 1, Hip pad
- 1, Shoulder Harness
- 1, Upper Plate, 20 mm
- 1, Lower Plate
- 1, Metal shield
- 1, Bracket
- 3, 5 x 10 mm screws (shield mount)
- 2, 5 x 8 mm screws (bracket to shield)
- 4, 5 mm nuts
- 4, 5 mm lockwashers
- 1, M10 x 1.25 L.H. Nut
- 10, Split Pins
- 1, 10 mm collar
- 2, 5 x 35 mm screws
Installation
Tools Required: 8mm x 10mm Open End Wrench, T-wrench, Torx T-27 L-Wrench

- Close choke and remove air filter and cover.
- Disconnect ignition stop leads (A) and (B).
- Loosen nut (C) and remove throttle linkage from carburetor bracket (D).
- Remove inner throttle cable (E) from carburetor swivel (F).

- Loosen the two (2) drive shaft clamp bolts (G) at engine drive shaft clamp.
- Pull drive shaft assembly from clutch case.

- Loosen two (2) rear handle screws (H) and pull rear handle from the drive shaft assembly.
- Loosen four (4) screws (I) and remove front handle.

- Insert square nut (J) in lower handle bracket (K) and place bracket on drive shaft 400 mm (15 3/4 in.) from engine end of drive shaft.
- Secure with lower handle bracket clamp (L) and three (3) 5 x 25 mm bolts.

- Position harness clamp (M) 220 mm (8-5/8 in.) from engine end of drive shaft assembly. Install 5 x 12 mm bolt, but DO NOT tighten at this time.
- Carefully fit drive shaft assembly to engine making sure inner drive shaft engages into clutch socket.

- Tighten two (2) drive shaft clamp bolts (G) securely.
- Install upper U-Handle and bracket on lower bracket and secure with one (1) 8 x 55 mm bolt (N) and large circular washer.
- Route throttle linkage and ignition lead assembly behind U-Handle bracket and clip to drive shaft as shown.

- Place inner throttle cable (E) in large hole of carburetor swivel (F).
- Loosen nut (C) and place threaded end of throttle linkage in bracket slot. Finger tighten nut (C).
- Check throttle for freedom of movement and that wide open throttle / low idle extremes are adjusted properly. If an adjustment cannot be achieved with adjusting nuts (C, O), consult with your Echo Dealer for correct adjustment procedure. Tighten nut (C).
- Connect 2 ignition stop leads (A,B) from throttle cable tubing to 2 ignition leads (A,B) on engine.

- Secure ignition leads against engine housing with clips (P,Q).
- Install air filter and cover
Install Hip Pad (Optional)

- Attach hip pad to harness as shown.
install metal shield
Tools Required
- 8 x 10 mm Open-end Wrench, Torx T-27 L-Wrench, T-wrench, Locking Tool
Parts Required: Metal Shield, Shield Bracket,
- 3 – 5 x 10 mm screws (metal shield to gear housing).
- 2 – 5 x 8 mm screws, 2 – 5 mm nuts, 2 – 5 mm lock-washers, (bracket to shield).
- 2 – 5 x 35 mm screws, 2 – 5 mm nuts, 2 – 5 mm lockwashers (bracket to gear housing)
- If installed remove nylon line head, upper fixing plate, shield plate, and plastic shield.

- Align locking hole in upper plate with notch in edge of gear housing and insert head locking tool (A).
- Remove line head (B) by turning it clockwise until head is completely off of shaft.
- Remove locking tool.
- Remove three screws holding shield plate (D) and plastic shield (C) to gear housing.
- Retain line head (B), upper fixing plate (E), shield plate, and plastic shield (C) for conversion back to nylon line head operation.

- Loosely attach bracket (F) to shield (G) and attach shield to bottom of gear housing (H) with hardware provided.
- Remove gearcase clamping screws (I) and loosely attach bracket (F) to gearcase (H) with 2 – 5x35mm screws, nuts and lockwashers provided in kit.
- Tighten all shield hardware.
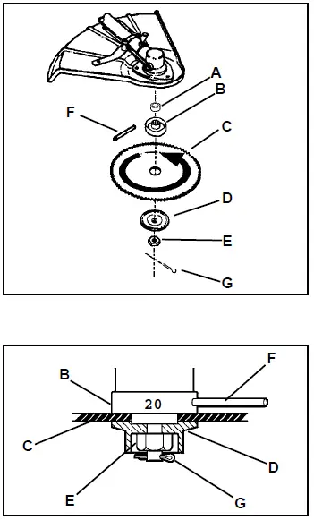
install optional blade
Tools Required
- Locking Tool, T-Wrench.
Parts Required: Upper Plate w/ 20 mm pilot, Lower Plate, 10 mm Nut, 2 x 25 mm Split Pin, Blade.

- Install shaft collar (A) then upper fixing plate (B) onto PTO shaft.
- Install Blade (C) on upper plate pilot. Blades must be installed so that rotation arrow on blade faces gear case. Secure blade with Lower fixing plate (D), and 10 mm nut (E). Turn nut counterclockwise on PTO shaft to tighten.
- Align hole in upper plate with notch in gear housing, and insert locking tool (F) to prevent splined shaft from turning. Arrow on gear housing points to notch. Tighten 10 mm nut securely.
- Insert split pin (G) in hole in PTO shaft, and bend pin legs around shaft counterclockwise to retain 10 mm nut.
- IMPORTANT: Never reuse a split pin – install a new split pin each time a blade is installed or replaced.
- Remove locking tool.
Balance and Adjust Unit
- Loosen harness clamp screw.
- Put on harness and attach unit to harness.
- Slide harness clamp (H) up or down until unit balances with head approximately 50-75 mm (2 -3 in.) from the ground.

- Tighten harness clamp screw.
- Loosen upper U-Handle clamp screws (I), and position U-Handle for comfortable operation.
- Tighten U-Handle clamp screws and 8 mm clamp bolt securely.

NOTE: In case of Emergency, the trimmer/brushcutter can be released from the harness by pulling up on the quick-release collar.
echo consumer product support
If you require assistance or have questions concerning the application, operation or maintenance of this product you may call the ECHO Consumer Product Support Department at 1-800-673-1558 from 8:30 am to 4:30 pm (Central Standard Time) Monday through Friday. Before calling, please know the model and serial number of your unit to help your Consumer Product Support Representative.
ECHO, INCORPORATED
- 400 OAKWOOD ROAD LAKE ZURICH, IL 60047 USA
- PHONE: 1-800-673-1558
- www.echo-usa.com






























