
SC-P8500D Series
SC-T7700D Series
Setup Guide
Symbols Used in This Manual
This manual uses the following symbols to indicate dangerous operations or handling procedures to prevent harm to users or other people or damage to property. Make sure you understand these warnings before reading the content of this manual.
| Warnings must be followed to avoid serious bodily injury. | |
| Cautions must be followed to avoid bodily injury. | |
| Important: Important must be followed to avoid damage to this product. | |
| Note: Notes contain useful or additional information on the operation of this product. |
Choosing a Place for the Printer

| W | 1849 mm | *1: Make sure there is a space of 75 mm when replacing the maintenance tank. |
| D | 499 mm | *2: Make sure there is a space of 631 mm when opening and closing the roll2 unit. *3: Make sure there is a maximum space of 4000 mm when feeding Cut Sheet/Poster Board. |
| H | 975 mm | *4: Make sure there is a space of 195 mm when opening and closing the printer cover. |
Installation location
- Leave adequate room as shown in the table for setting up the printer.
- Choose a flat and stable location that can support the printer weight.
Approx. 179 kg - Use only an outlet that meets the power requirements of this printer.
- Operate the printer under the following conditions:
Temperature: 10 to 35°C
Humidity: 20 to 80%
Even the conditions above are met, you may not print properly if the environmental conditions are not proper for the paper. See the instructions of the paper for more detailed information. Keep the printer away from drying, direct sunlight, or heat sources to maintain the appropriate humidity. - Unless otherwise noted, the illustrations in this manual show the SC-T7700D Series.=Main Features FR Fonctionnalités principales
Main Features


Unpacking

Removing protective material


Initial Ink Charging

Warning:
Use only the type of power source indicated on the printer’s label.

Turn on the printer and make initial settings such as the language and date. Next, follow the instructions on the control panel’s screen to perform initial ink charging.

![]()
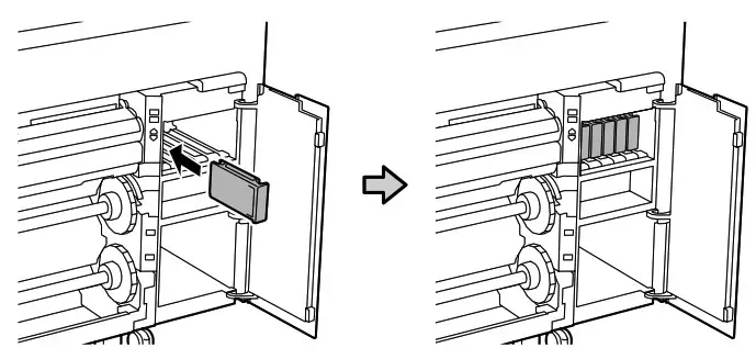
- After opening the ink cartridge, be sure to shake it as shown in the figure.
- Do not touch the IC chip on the cartridge. Doing so may cause incorrect operation or printing.

Install ink cartridges in all slots as described in the label inside the ink cover.

The operation is complete when the message “Load paper.” appears in the display.

Observe the following precautions when charging the ink. If these precautions are not observed, the work may be interrupted and require redoing, resulting in more ink being consumed than normal.
- Do not disconnect the power cable from the outlet or turn off the power.
- Do not perform operations other than those specified on the screen.
The included ink cartridges and installed Maintenance Box are just for initial ink charging. You may need to replace the ink cartridge or Maintenance Box soon.
Installing the Software
CD/DVD drive

Follow the on-screen instructions to complete the installation.
No CD/DVD drive
Visit the Epson website at http://epson.sn/, enter your printer model name, and then click
.

Run the downloaded installer.
Adding the printer to your Mac device

Securing the Printe
Store the USB cable/LAN cable before securing the printer.

Caution:
Except when moving the printer, make sure the two casters (wheels) at the front and the two stoppers at the rear are secured.

![]()
Rotate the stoppers manually.
We recommend checking the print head nozzles before using the printer.
To check the print head nozzles, press Menu – Maintenance – Print Head Nozzle Check.
Viewing the Online Guides
![]()
Next, load media and start using the printer.
For details on operating and performing maintenance, and troubleshooting information, see the online manuals. You can open the online manuals by clicking the EPSON Manuals icon created on your computer’s desktop. The EPSON Manuals icon is created when manuals are installed using “Installing the Software” in the previous section.
No “EPSON Manuals” Icon
Visit the Epson website at http://epson.sn/, and then follow the procedure below to see the online manuals.
[1] Enter or select your printer model name.
[2] Click Support – Online Manual.














