Contents hide
eSSL TL200 Fingerprint Lock With Voice Guide Feature

Before Installation

Packing List
Door Preparation
- Check door thickness, prepare the proper screws and spindles.
Door Thickness D Spindle L Spindle J Screw K Screw 35-50 mm 85 mm
60 mm
30 mm 45 mm 50-60 mm 45 mm
55 mm 55-65 mm 60 mm 65-75 mm 105 mm 85 mm
55 mm 70 mm 75-90 mm 125mm 70 mm 85 mm - Check door open direction.

Note: 1. Please install the mortise and strike plate according to the above pictures. - Check door type.
Mortise without hooks is applied to wooden door, and mortise with hooks is applied to security door.
Tips
- How to change the direction of latch bolt?
Step1: Push the switch to the end
Step2: Push the latch bolt into the mortise
Step3: Rotate the latch bolt at 180° inside mortise, then loose it. - How to change the handle direction?

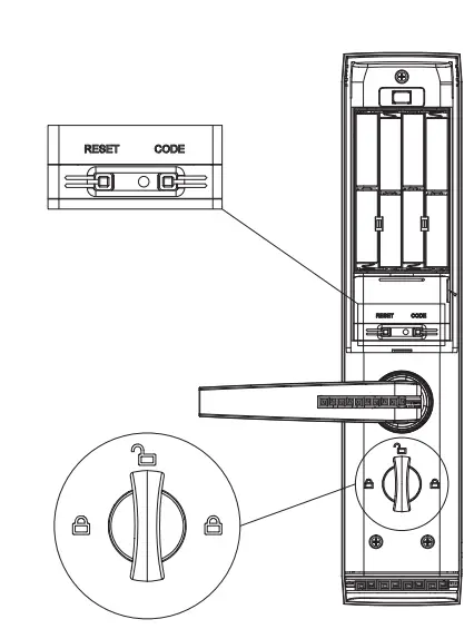
- How to use mechanical key?

- How to use emergency power?

- How to change the location of stud bolts?
- Step1: Twist down the ten M3 screws and M5 stud bolt to take down the mounting plate.
Note: For the door with the existed holes, you can adjust stud bolts location to make the lock suitable.
- Step2: Twist down the other stud bolt.
Note: There are four square holes to be used.
Note: There are two round holes to be used.
- Step1: Twist down the ten M3 screws and M5 stud bolt to take down the mounting plate.
Cautions
- New lock is configured to grant ANY fingerprint access to unlock.
- Please register one administrator at least for the new installed lock, If there is no any administrator, registration for normal users and temporary users are not allowed.
- The lock is equipped with mechanical keys for manual unlocking. Remove mechanical keys from the package and keep them in a safe place.
- To power on the lock, eight alkaline AA batteries (not included) are required.
Non-alkaline and rechargeable batteries ARE NOT RECOMMENDED. - Do not remove batteries when the lock is in working state.
- Please replace the battery soon when the lock prompts the voice of low battery.
- The operation of setting lock has a stand-by time limit of 7 seconds. Without any activity, lock will shut off automatically.
- Keep your fingers clean when using this lock.
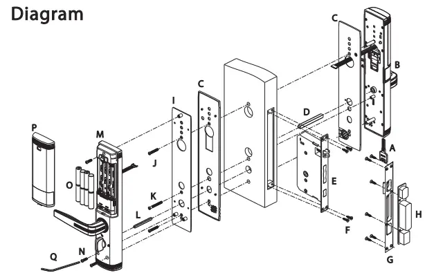
Installation
Drill holes on the door
Note1:Align the template along the vertical center line of the mortise(E)at the desired handle height, and tape it to door.
Note2:Mark the holes first, then start drilling.
Install the mortise(E)
Install outdoor unit(B) with gasket(C),and spindle(D)
Note:
- The small triangle must be placed toward the letter of R or L.
- When the small triangle is towards to R, it is right open.
- When the small triangle is towards to L, it is left open.

- Install mounting plate (I) with gasket(C), and spindle(L)

- Install indoor unit (M)
- Install battery (O)
Note: Push cable into the hole.
- Step1:Place the battery cover in the position as above picture showed, then press down it gently.
- Step2:Sliding down the battery cover.


- Mark and drill holes for strike

- Test the lock by mechanical key(A) or fingerprint


Mechanical Key Instruction:- Key A is coated with brass color, which is used only for lock installer and upfitter.
- Key B is packed in the sealed plastic wrap for safety, which is used for house owner.
- Once Key B is used, Key A will be disabled to open the lock.
#24, Shambavi Building, 23rd Main, Marenahalli, JP Nagar 2nd Phase, Bengaluru – 560078 Phone : 91-8026090500 | Email : [email protected]
www.esslsecurity.com







































