Quick Installation Guide
Attention:
Please make sure the installation surface is thick enough to sustain at least 3X weight of the camera.
Note:
- If you want to install in the wood surface, expansion bolts are not necessary.
- The screw depth shall reserve 8mm-10mm to secure the bracket.
Model A
Figure 1-1
- Wall or Ceiling
- Expansion Bole
- Self-tapping Screw
- Camera

Figure 1-2
- Locking Screw

Figure 1-3
- Lens Zoom Lever
- Lens Focus Lever
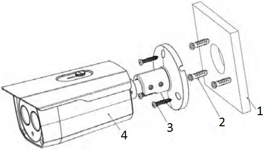
Model B and Model C

Figure 1-4
- Installation Surface
- Expansion Bolt
- Self-tapping Screw
- Camera

Figure 1-5
- Locking Screw
Note:
Model B and C have the same structure but different layout of IR LEDs.
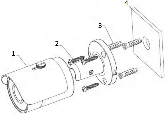
Model D

Figure 1-6
- Camera
- Self-tapping Screw
- Expansion Bolt
- Installation Surface

Figure 1-7
- Locking Screw
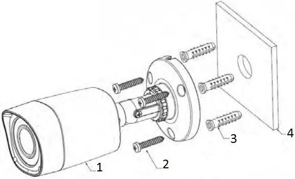
Model E

Figure 1-8
- Camera
- Self-tapping Screw
- Expansion Bolt
- Installation Surface

Figure 1-9
- Locking Screw
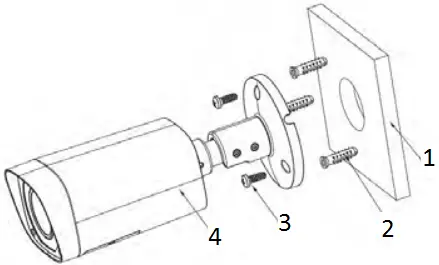
Model F

Figure 1-10
- Camera
- Self-tapping Screw
- Expansion Bolt
- Installation Surface

Figure 1-11
- Locking Screw
Model G

Figure 1-12
- Camera
- Self-tapping Screw
- Expansion Bolt
- Installation Surface

Figure 1-13
- Locking Screw
Note
- This manual is for reference only. Please visit our website or contact your local service engineer for more information.
https://tm.by – TM.by

















