dahua DH-IPC-HFW1X Bullet Network Camera

General
This manual introduces the installation, functions and operations of the network camera. Read carefully before using the device, and keep the manual safe for future reference.
Safety Instructions
The following signal words might appear in the manual.
| Signal Words | Meaning |
| WARNING | Indicates a medium or low potential hazard which, if not avoided, could result in slight or moderate injury. |
| CAUTION | Indicates a potential risk which, if not avoided, could result in property damage, data loss, lower performance, or unpredictable result. |
| NOTE | Provides additional information as a supplement to the text. |
Revision History
| Version | Revision Content | Release Date |
| V1.0.0 | First release. | March 2022 |
Privacy Protection Notice
As the device user or data controller, you might collect the personal data of others such as their face, fingerprints, and license plate number. You need to be in compliance with your local privacy protection laws and regulations to protect the legitimate rights and interests of other people by implementing measures which include but are not limited: Providing clear and visible identification to inform people of the existence of the surveillance area and provide required contact information.
About the Manual
- The manual is for reference only. Slight differences might be found between the manual and the product.
- We are not liable for losses incurred due to operating of the product in ways that are not in compliance with the manual.
- The manual will be updated according to the latest laws and regulations of related jurisdictions. For detailed information, see the paper User Manual, use our CD-ROM, scan the QR code or visit our official website. The manual is for reference only. Slight differences might be found between the electronic version and the paper version.
- All the designs and software are subject to change without prior written notice. Product updates might result in some differences appearing between the actual product and the manual. Please contact customer service for the latest program and supplementary documentation.
- There might be deviations in the description of the technical data, functions and operations, or errors in the print. If there is any doubt or dispute, we reserve the right of final explanation.
- Upgrade the reader software or try other mainstream reader software if the manual (in PDF format) cannot be opened.
- All trademarks, registered trademarks and the company names in the manual are the properties of their respective owners.
- Please visit our website, contact the supplier or customer service if any problems occur while using the device.
- If there is any uncertainty or controversy, we reserve the right of final explanation.
Important Safeguards and Warnings
This section introduces content covering the proper handling of the device, hazard prevention, and prevention of property damage. Read carefully before using the device, comply with the guidelines when using it.
Transportation Requirements
- Transport the device under allowed humidity and temperature conditions.
- Pack the device with packaging provided by its manufacturer or packaging of the same quality before transporting it.
- Do not place heavy stress on the device, violently vibrate or immerse it in liquid during transportation.
Storage Requirements
- Store the device under allowed humidity and temperature conditions.
- Do not place the device in a humid, dusty, extremely hot or cold site that has strong electromagnetic radiation or unstable illumination.
- Do not place heavy stress on the device, violently vibrate or immerse it in liquid during storage.
Installation Requirements
- Strictly comply with the local electrical safety code and standards, and check whether the power supply is correct before operating the device.
- Please follow the electrical requirements to power the device.
- When selecting the power adapter, the power supply must conform to the requirements of ES1 in IEC 62368-1 standard and be no higher than PS2. Please note that the power supply requirements are subject to the device label.
- We recommend using the power adapter provided with the device.
- Do not connect the device to two or more kinds of power supplies, unless otherwise specified, to avoid damage to the device.
- The device must be installed in a location that only professionals can access, to avoid the risk of non-professionals becoming injured from accessing the area while the device is working. Professionals must have full knowledge of the safeguards and warnings of using the device.
- Do not place heavy stress on the device, violently vibrate or immerse it in liquid during installation.
An emergency disconnect device must be installed during installation and wiring at a readily accessible location for emergency power cut-off. - We recommend you use the device with a lightning protection device for stronger protection against lightning. For outdoor scenarios, strictly comply with the lightning protection regulations.
- Ground the function earthing portion of the device to improve its reliability (certain models are not equipped with earthing holes). The device is a class I electrical appliance. Make sure that the power supply of the device is connected to a power socket with protective earthing.
- The dome cover is an optical component. Do not directly touch or wipe the surface of the cover during installation.
Operation Requirements
- The cover must not be opened while the device is powered on.
- Do not touch the heat dissipation component of the device to avoid the risk of getting burnt.
- Use the device under allowed humidity and temperature conditions.
- Do not aim the device at strong light sources (such as lamplight, and sunlight) when focusing it, to avoid reducing the lifespan of the CMOS sensor, and causing overbrightness and flickering.
- When using a laser beam device, avoid exposing the device surface to laser beam radiation.
- Prevent liquid from flowing into the device to avoid damage to its internal components.
- Protect indoor devices from rain and dampness to avoid electric shocks and fires breaking out.
- Do not block the ventilation opening near the device to avoid heat accumulation.
- Protect the line cord and wires from being walked on or squeezed particularly at plugs, power sockets, and the point where they exit from the device.
- Do not directly touch the photosensitive CMOS. Use an air blower to clean the dust or dirt on the lens.
- The dome cover is an optical component. Do not directly touch or wipe the surface of the cover when using it.
- There might be a risk of electrostatic discharge on the dome cover. Power off the device when installing the cover after the camera finishes adjustment. Do not directly touch the cover and make sure the cover is not exposed to other equipment or human bodies
- Strengthen the protection of the network, device data and personal information. All necessary safety measures to ensure the network security of the device must be taken, such as using strong passwords, regularly changing your password, updating firmware to the latest version, and isolating computer networks. For the IPC firmware of some previous versions, the ONVIF password will not be automatically synchronized after the main password of the system has been changed. You need to update the firmware or change the password manually.
Maintenance Requirements
- Strictly follow the instructions to disassemble the device. Non-professionals dismantling the device can result in it leaking water or producing poor quality images. For a device that is required to be disassembled before use, make sure the seal ring is flat and in the seal groove when putting the cover back on. When you find condensed water forming on the lens or the desiccant becomes green after you disassembled the device, contact after-sales service to replace the desiccant. Desiccants might not be provided depending on the actual model.
- Use the accessories suggested by the manufacturer. Installation and maintenance must be performed by qualified professionals.
- Do not directly touch the photosensitive CMOS. Use an air blower to clean the dust or dirt on the lens. When it is necessary to clean the device, slightly wet a soft cloth with alcohol, and gently wipe away the dirt.
- Clean the device body with a soft dry cloth. If there are any stubborn stains, clean them away with a soft cloth dipped in a neutral detergent, and then wipe the surface dry. Do not use volatile solvents such as ethyl alcohol, benzene, diluent, or abrasive detergents on the device to avoid damaging the coating and degrading the performance of the device.
- The dome cover is an optical component. When it is contaminated with dust, grease, or fingerprints, use degreasing cotton moistened with a little ether or a clean soft cloth dipped in water to gently wipe it clean. An air gun is useful for blowing dust away.
- It is normal for a camera made of stainless steel to develop rust on its surface after being used in a strong corrosive environment (such as the seaside, and chemical plants). Use an abrasive soft cloth moistened with a little acid solution (vinegar is recommended) to gently wipe it away. Afterwards, wipe it dry.
Introduction
Cable
Waterproof all the cable joints with insulating tape and waterproof tape to avoid short circuit and water damage. For the detailed operation, see FAQ manual.
| No. | Port Name | Description |
|
1 |
Ethernet port | ● Connects to network with network cable. ● Provides power to the device with PoE.
Do not connect both network cable and Wi-Fi at the same time. |
|
2 |
Power port | Inputs 12 VDC power. Be sure to supply power as instructed in the manual. Device abnormity or damage might occur if power is not supplied correctly. |
LED Status
| LED Status | Device Status |
| Solid green | Working normally. |
| Fast flashing green | Connecting to Wi-Fi. |
| Slowly flashing green | Enabling device hotspot. |
| LED Status | Device Status |
| Solid red | ● Starting/Restarting. ● Resetting to factory default. |
| Slowly flashing red | Wi-Fi disconnected. |
| Flashing red and green | Updating firmware. |
Network Configuration
Device initialization and IP setting can be finished with the ConfigTool or on web page. For more information, see web operation manual.
- Device initialization is available on select models, and it is required at first-time use and after device is being reset.
- Device initialization is available only when the IP addresses of the device (192.168.1.108 by default) and the PC stay on the same network segment.
- Plan usable network segment properly to connect the device to the network.
- The following figures and pages are for reference only.
Initializing Device
- Step 1: Double-click ConfigTool.exe to open the tool.
- Step 2: Click Modify IP.
- Step 3: Click Search Setting.

- Step 4: Select the searching way.
- Current Segment Search (default) Select the Current Segment Search checkbox. Enter the username in the Username box and the password in the Password box. The system will search devices accordingly.
- Other Segment Search Select the Other Segment Search checkbox. Enter IP address in the Start IP box and End IP box respectively. Enter username and password. The system will search for the devices accordingly.
- If you select the Current Segment Search checkbox and the Other Segment Search checkbox together, the system searches for devices under both conditions.
- Enter username and the password when you want to change IP, configure the system, update the device, restart the device, and more.
- Step 5: Click OK.
- Step 6: Select one or several devices in uninitialized status, and then click Initialize.
- Step 7: Select the devices to be initialized, and then click Initialize.
- If you do not provide the linked information for password reset, you can reset the password only through XML file.
- When initializing multiple devices, ConfigTool initializes all devices based on the password reset mode of the first selected device.

- Step 8: Set and confirm the password of the devices, enter a valid email address, and then click Next.

- Step 9: Select Easy4ip or select Auto-check for updates according to the actual needs. If neither, leave them unselected.
- Step 10: Click OK to initialize the device. Click the success icon ( ) or the failure icon ( ) for the details.
- Step 11: Click Finish.
Changing Device IP Address
- You can change IP address of one or multiple devices at one time. This section is based on changing IP addresses in batches.
- Changing IP addresses in batches is available only when the corresponding devices have the same login password.
Step 1: Follow Step1 to Step5 in “2.1 Initializing Device” to search for devices on your network segment.
After clicking Search Setting, enter the username and password, and make sure that they are the same as what you set during initialization; otherwise there will be wrong password notice.
Step 2: Select the devices whose IP addresses need to be changed, and then click Batch
Modify IP. 
Step 3: Select Static mode, and then enter start IP, subnet mask, and gateway.
- IP addresses of multiple devices will be set to the same if you select the Same IP checkbox.
- If DHCP server is available on the network, devices will automatically obtain IP addresses from DHCP server when you select DHCP.
Step 4: Click OK.
Logging in to Web Page
- Step 1: Open IE browser, enter the IP address of the device in the address bar, and then press the Enter key. If the setup wizard is displayed, finish the settings as instructed.
- Step 2: Enter the username and password in the login box, and then click Login.
- Step 3: For the first-time login, click Click Here to Download Plugin, and then install the plugin as instructed. The home page is displayed when the installation is finished.
Operating with DMSS
Step 1: Add the device
- Tap + button on the upper-right corner of the DMSS home page to scan the QR code on the camera. If your DMSS fails to scan the QR code, tap Manually enter SN.
- Select Wireless Camera.

Step 2 Configure the device hotspot.
If you connect the device with Ethernet cable, please jump to Step4 directly.
- Make sure that the device is connect to power and enable device hotspot. Click Next.
- Go to Wi-Fi settings of your mobile phone, connect hotspot named DAP-xxxxxxxx.
- Create the username and password for the device and then tap Next.

Step 3 Configure the Wi-Fi.
Select your Wi-Fi network from SSID list and then enter the password.
Step 4 Configure the device information.
- Create the device name and password.
- Set the time zone and then click Done.

Installation
Packing List
- The tool required for the installation such as electric drill is not provided in the package.
- The operation manual and related tool information are contained in the disk or the QR code.

Dimensions

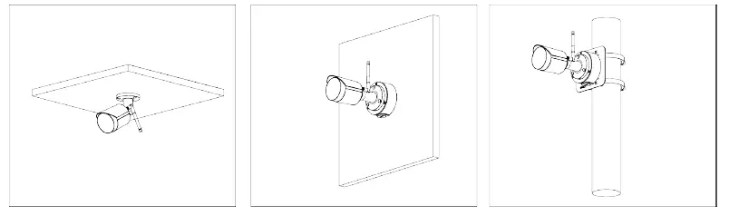
Installing Camera
Installation Method

Installing SD Card
- SD card slot is available on select models.
- Disconnect the power before installing or removing the SD card.
- Do not open the cover for a long time to avoid spray in cameras.
Press the reset button for 10 seconds to reset the device. 
Attaching Camera
- Make sure that the mounting surface is strong enough to hold at least three times the weight of the camera and bracket.
- Remove the protective film after finishing installation.
Cable going through the side cable tray
Cable going through the mounting surface
(Optional) Installing Waterproof Connector
This part is needed only when a waterproof connector comes with the camera and the camera is used outdoors.
Adjusting Lens Angle

dahua DH-IPC-HFW1X Bullet Network Camera
























