
HEAD PLUS PRO V2
USER’S MANUAL
Before operating your edelkrone,
please watch the user’s manual video.
http://edel.kr/hpv2
WHAT’S IN THE BOX & THE BASICS

| 10. Balance piece 11. L-Bracket with 1 /4″-20 mounting screw 12. Safety Lock 13. Information Screen 14. On/Off Button 15. Safety Lock 16. 3/8″-16 mounting screw 17. Width extenders for SliderPLUS 18. 2.5 mm & 3 mm alien keys |
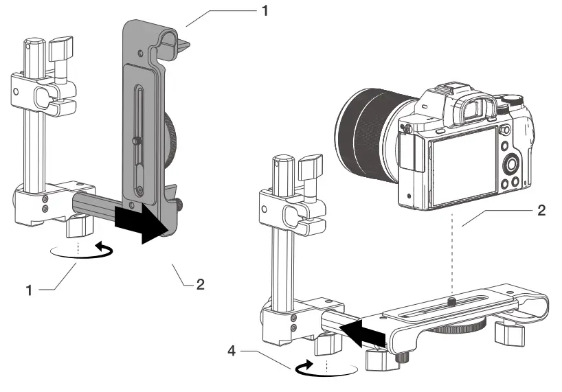
ATTACHING L-bracket TO CAMERA

- Loosen the knob.
- Remove the L-Bracket and flip horizontally.
- Place the L-bracket back.
- Tighten the knob.
- Attach your camera to the L-Bracket by turning the mounting wheel on it.
A detailed video explaining the mounting process details can be found at http://edel.kr/hpv2
CHANGING THE MOUNTING SCREW

HeadPLUS PRO has two options as mounting screw: 1/4″-20 & 3/8″-16.
- Remove the indicated part with a screwdriver.
- Remove the 1/4″-16 mounting screw.
- Attach the 3/8″-20 mounting screw.
- Attach the part back in its place.
A detailed video explaining how to change the details of the mounting screw can be found at: http://edel.kr/hpv2
FINDING THE CENTER OF GRAVITY

- Remove the balance piece and place it as indicated above.
- Hold your setup from the balance piece with your index finger as shown above.
- Slide the rods on related dashed axes’ lines and find the best position where your camera is balanced on your finger. This position gives the center of gravity of your camera for Pan & lilt axes.
A detailed video explaining how to find the center of gravity details can be found at r http://edel.kr/hpv2
![]()
MOUNTING THE HEADPLUS PRO

- Align HeadPLUS PRO with any 3/W-16 mounting screw.
- Tighten it using the mounting wheel.
- Attach the L-Bracket to HeadPLUS PRO.
- Tighten the screw to lock.
- Attach the width extenders to SliderPLUS if you are using HeadPLUS PRO with SliderPLUS.
A detailed video explaining the mounting details can be found at http://edel.kr/hpv2
MOUNTING A BATTERY BRACKET ON HEAD PLUS PRO

Depending on your choice of battery type, you need to mount the related battery bracket with 2 screws to HeadPLUS PRO. Battery brackets are sold separately.
A detailed video explaining how to mount the battery bracket details can be r found at http://edel.kr/hpv2
MANUAL TENSION ADJUSTMENT FOR PAN/TILT & LOCKS

- Use the 3 mm Allen key to adjust the manual adjustment tension of HeadPLUS PRO Pan/Tilt.
- If you are not able to move Pan&Tilt axes manually, try loosening the tension. Make as few adjustments as possible.
! If you’d like to make adjustments on your setup or carry your HeadPLUS PRO, make sure the Safety Locks are on. Otherwise, the device will be unstable and may cause danger.
A detailed video explaining details of HeadPLUS PRO can be found at http://edel.kr/hpv2
START USING

- Download the edelkrone App to your mobile device from the App Store or Google Play. Links can be found at www.edelkrone.com/products/headplus-pro
- To operate HeadPLUS PRO, hold the On/Off button down until the opening bar in the information screen is full-filled.
- HeadPLUS PRO is now ready for smart pairing or manual pairing through Bluetooth/Wifi.
- After pairing the devices, you are now ready to use your HeadPLUS PRO.
- Just keep following the instructions on your mobile device or visit manuals.edelkrone.com for detailed video instructions.
Always start using fully charged batteries.
Make sure your mobile device’s Bluetooth connection is on.
A detailed video explaining the edelkrone App can be found at http://edel.krt/hpv2
DISPOSAL OF THE PRODUCT & WARNINGS
Should the product become damaged beyond repair, or if you wish to dispose of it, it must be disposed of separately from the municipal waste stream via designated collection facilities appointed by the government or the local authorities. Observe the regulations of your area and country that relate to the disposal of electronic products.
- Keep your electronic Motion Control Unit away from all sorts of liquids.
- In order to preserve your Motion Control Unit and battery performance at their best, use the exact same type of batteries with an equivalent level of charge during dual-battery operation.
- Do not attempt to disassemble or modify any internal parts of your Motion Control Unit. If the device appears to be malfunctioning, discontinue use immediately and contact support for qualified service.
- Never force a different type of connector into a port.
- Never use or store your Motion Control Unit in areas subject to extreme temperatures, or high levels of vibration.
- If your motion control unit becomes unresponsive, disconnect and re-connect the power source. Make sure your DC adapter is plugged in or your batteries are properly charged. If the problem persists, contact our support team.
- Environmental factors may affect your Motion Control Unit’s performance. Keep your product away from environmental hazards such as dust or heavy resonance. Do not use chemical materials to clean your product.
- If there is an impairment on the power or connector cable, stop using the Motion Control Unit immediately.
- Avoid dropping or causing physical damage to your Motion Control Unit.
- Do not place heavy objects on top of your Motion Control Unit.
- edelkrone cannot be held responsible for damage caused by improper use or modification of the product.
- Rated Voltage: 7.4V-14.8V (7.4V LP-E6 Battery / AC-DC Adapter) Rated Current: 2A Operating Temperature: -5°C to +45°C
For more information and tips about your HeadPLUS PRO, please watch the r user’s manual videos at: http://edel.kr/hpv2















