
Pendant Lamp
User Guide

WITH LOVE FROM COPENHAGEN
At UMAGE, our designers take inspiration from the distinct nature of the Nordic landscape to create unique designs related to the way we live in an urban setting. Influenced by the design language, colors, and materials found around us in Scandinavia, we create a collection that is rooted in our home but designed for everyone.
Versatile, flexible, and multifunctional, our furniture and accessory collection are designed for packing the most into life in smaller spaces!
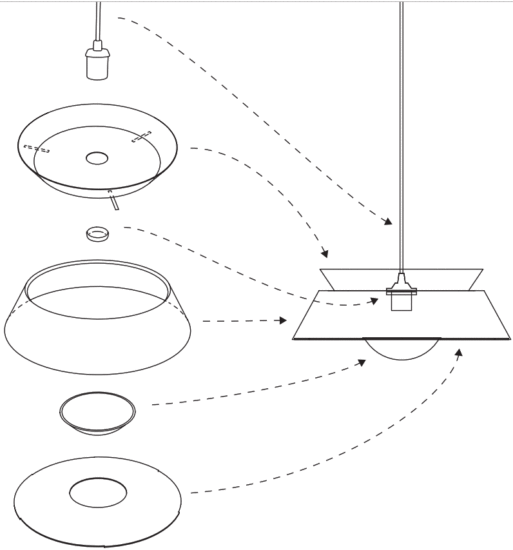
ASSEMBLY GUIDE

Find assembly videos by using the QR code or by going online at our website umage.com/instructions

SUSTAINABLE SUSTAINABILITY EFFORTS
We are dedicated to being sensible frontrunners on environmental responsibility. If we provide timeless and functional quality designs that last, we know nature will prevail, as will UMAGE.
GIVING BACK TO NATURE
In collaboration with the NGO One Tree Planted, we are planting a tree every time one of our designs made from wood is being sold. Furthermore, we are compensating for the polypropylene products we sell, by donating part of the profits to the NGO Plastic Change, supporting the World ocean clean-up, and minimizing plastic pollution.
MULTIFUNCTION AND FLEXIBILITY
One of the key aspects of the designs at UMAGE is multiple functions and flexibility. Designing with more than one function in mind is a sustainable mindset as it reduces the number of products you need to buy to get a complete set for your space.
REUSABLE PACKAGING
To minimize packaging waste, most of the packaging from our lighting collection is repurposed to be used as beautiful storage boxes afterward. Learn more on the next page…
REUSABLE PACKAGING
With your new lamp, you have also received a free decorative storage box for the shelf.
THIS IS HOW IT WORKS
When your new lamp is out of the box you can keep the box and reuse it as a storage box for your small bits and bobs and place it on the shelf or on the top of your closet – repurposing the packaging for you and the environment.
So not only are UMAGE’s designs flat-packed to optimize the global logistics and the environmental footprint, but it ensures that you don’t need to throw away tons of packaging material, that can just as well be reused for something new. Read more about our many sustainability efforts: umage.com/sustainability 
Please follow the marked icons on the packaging materials for the correct disposal of the remaining packaging materials:
CARDBOARD
PAPER
Recycle your waste correctly by searching for these icons on the packaging
FOLLOW US ON SOCIAL MEDIA![]()
![]()
![]()
@umagedesign | #umagedesign | umage.com
210825




















