Nilfisk FOOD Hybrid Compact Pagasus Main Station User Guide
Hybrid/Pegasus
- The machine must only be operated by instructed personnel.
- Follow the instructions from the supplier of detergents.
- Always w ear suitable clothing and foot wear.
- Never direct the water jet towards people, pets or electric installations.
- Never block the release of the spray handle.
- Always activate any locking device on the spray handle w hen replacing nozzles.
- Only use the water from the system for cleaning purposes.
Note: As an illustration of a spray handle, an Atlantic 450 is show n.
Ensure that water is connected to the unit.
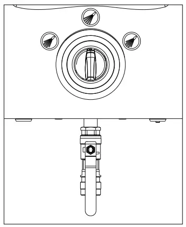
Start/Preparing

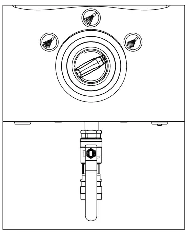
Rinsing


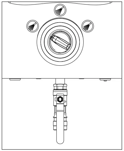
Foaming


Disinfection


Spoelen PD


Foaming PD


Change cleaning agent


Stop Procedure





















