MIR-260 DAB+ FM Radio
Instruction Manual
denver.eu
DAB+ FM RADIO
MIR-260
MIR-260 DAB+ FM Radio
INSTRUCTION MANUAL
Please read this manual carefully before using, and keep it for future reference.
Safety information
Please read the safety instructions carefully before using the product for the first time and keep the instructions for future reference.
- This product is not a toy. Keep it out of reach of children.
- Keep product out of the reach of children and pets to avoid chewing and swallowing.
- Product operating and storage temperature is from 0 degree Celsius to 40 degree Celsius. Under and over this temperature might affect the function.
- Warning: This product includes lithium CR2025 battery for remote control.
- Never open the product. Touching the inside electrics can cause electric shock. Repairs or service should only be performed by qualified personnel.
- Do not expose to heat, water, moisture, direct sunlight!
- Please protect your ears against loud volume. Loud volume can damage your ears and risk in hearing loss.
- Bluetooth wireless technology operates within a range of about 10 m (30 feet). The maximum communication distance may vary depending on the presence of obstacles
(people, metal objects, walls, etc.) or the electromagnetic environment. - Microwaves emitting from a Bluetooth device may affect the operation of electronic medical devices.
- The unit is not waterproof. If water or foreign objects enter the unit, it may result in fire or electric shock. If water or a foreign object enters the unit, stop use immediately.
- Only charge with supplied Adaptor. The direct plug-in adapter is used as disconnect device, the disconnect device shall remain readily operable. So, make sure there is space around the power outlet for easy access.
- Do not use non original accessories together with the product as this can make the product functionality abnormal.
Product Overview
Top view
Rear view
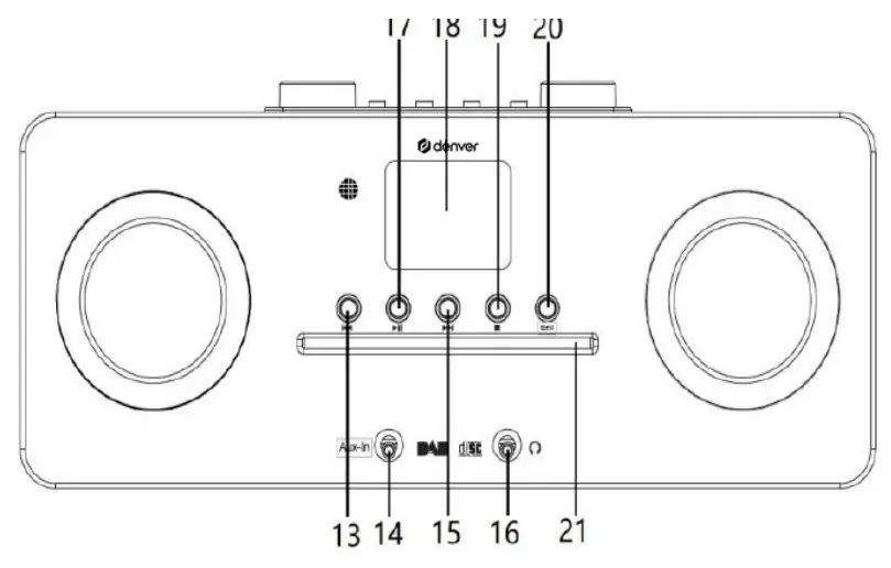
Front view
| 1 | SCROLL + / – knob; OK/SNOOZE button |
| 2 | LEFT button |
| 3 | STANDBY/ON button |
| 4 | MENU button |
| 5 | RIGHT button |
| 6 | MUTE/EQ button |
| 7 | ALARM button |
| 8 | FAVO button |
| 9 | SLEEP button |
| 10 | VOLUME +/- knob |
| 11 | Telescopic antenna |
| 12 | DC IN socket |
| 13 | Previous button |
| 14 | AUX IN |
| 15 | |
| 16 | Headphone socket |
| 17 | |
| 18 | LCD display |
| 19 | |
| 20 | EJECT button |
| 21 | CD slot |
Remote control
| 22 | Standby |
| 23 | Menu |
| 24 | Previous |
| 25 | Alarm setting |
| 26 | Up |
| 27 | Left |
| 28 | CD Prog. |
| 29 | Down |
| 30 | Eject |
| 31 | Mute |
| 32 | |
| 33 | |
| 34 | Favo/Add |
| 35 | Right |
| 36 | Enter/Snooze |
| 37 | Vol + |
| 38 | Vol – |
| 39 | Mode/EQ Setting |
Power connection

- Connect the power adaptor with the radio, and then connect the power adaptor to the mains socket. The unit is powered on.
- Press Standby button to switch the unit to standby mode. To switch the unit off, press the Standby button and unplug the unit from the mains socket.
Network setting
Users encountering networking issues may find these options useful for diagnosing and fixing network problems.
- Press Menu button and select Configuration – Network, press OK/SNOOZE button to confirm.
- Turn SCROLL + / – knob to select your desired network setting option, and then press OK/SNOOZE button to confirm your setting.
Adjusting the volume
Use the VOLUME + / – knob or Vol + or Vol- buttons to increase or decrease the volume of the unit.
Date & Time Setting
- The clock can be updated automatically if connected to the internet or received DAB/FM signals in your location.
- To manually set the date and time, press Menu button and select Configuration – Date & Time.

Internet Radio Mode
- Press Menu button and select Internet Radio mode – Skytune, Search (Skytune) or History.
Listen to DAB radio stations
- For initial use, press Menu button and select Configuration – DAB Setup, and then select DAB Full Scan to carry out a full scan and store stations list in memory.
- Press Menu button, use OK button scroll to DAB Radio mode, and press OK button, then turn SCROLL + / – knob to select your desired station in DAB Station List, press OK/SNOOZE button to confirm.
Note: If you change your area, please repeat step 1 to enable DAB function.
Listen to FM Radio stations
- For initial use, press Menu button and select Configuration – FM Setup, and then select FM Full Scan to search the FM radio stations.
- Press Menu button, use OK button scroll to FM Radio mode, and press OK button,, turn SCROLL + / – knob to select your desired station in FM Station List, press OK/SNOOZE button to confirm.
Note: If you change your area, please repeat step 1 to enable FM function.
My Favorite FM stations
Your radio can store up to 10 of your favorite FM stations. This will enable you to access your favorite stations quickly and easily.
- While playing your favorite station, long press Favo button on the control panel to confirm.
- Turn SCROLL + / – knob to select “YES” and then press OK/SNOOZE button to confirm.
CD Player mode

- Press Menu button to select CD Player, then insert a CD.
- Press
to play or pause the music. Press
to play the next track, press
to the previous track. Press
to stop playing the music. - Press Eject button to eject the CD.
Media Centre
UPnP (Universal Plug and Play)
You can stream music from a networked device which supports UPnP function, allow sharing of the data and entertainment. For instance, most of the latest computer laptop supports UPnP, and you can stream the music from Windows Media Player application on the computer and Listen on your radio. If your PC is running Microsoft Windows XP, you can use Windows Media Player 11 (WMP11) to act as your UPnP (Universal Plug and Play) media server. (For Windows 7 or above, please download the correspond version of Windows Media Player). Windows Media Player 11 may be downloaded from Microsoft’s website and install by following the instructions detailed in its installation wizard.
Once installed, Windows Media Player 11 will create a library from all the media files available to it on your PC. To add new media files to the library, ENTER File > Add to Library > Advanced Options, Click ‘Add’ and choose the files you wish to add and click ‘OK’.
You will now need to connect your Internet radio to Windows Media Player 11 and configure it to allow the radio to access your media library. In order to this, you will need to do the following:
- Press Menu button to select Media Centre, and then enter UPnP. Press OK/SNOOZE button to scan for all available UPnP servers. It may take a few seconds for the radio to complete its scan and before the scan has completed, the radio will display ‘Scan for media server…’. The radio will continue to display ‘Empty list’ if no UPnP servers are found.
- After a successful scan. Access your UPnP server, turn SCROLL + / – knob to select your desired server, and then press OK/SNOOZE button to confirm (‘Access Denied’ will be displayed at this stage).
- Your PC will now prompt you that a device has attempted to connect to your UPnP server. In order to allow the radio to have access to the media files, you will need to click the ‘Library’ tab from Windows Media Player 11 and access the <Media Sharing> item to open the ‘Media Sharing’ window.
Access “Media Sharing” for Windows Media Player 11:
- From the ‘Media Sharing’ windows, the radio will be listed as an unknown device. Click on the unknown device, and then click the ‘Allow’ button. Then click ‘OK’. Allowing the unit to Connect.

- Turn SCROLL + / – knob to select your desired music, and then press OK/SNOOZE button to display.
Note: When you are playing the music under UPnP, you are able to change the mode of playback via accessing Media Player/Playback Mode.
AUX-in
- Press Menu button to select Aux-in mode then press OK button to confirm.
- Connect one end of the 3.5mm line in cable into the port on the unit and insert the other end into your device.
- Choose your music from your device.
Bluetooth mode
- Press Menu button until Bluetooth is selected.
- From your Bluetooth device, search for available Bluetooth devices.
- Select “MIR-260” and connect.
Sleep timer
This feature enables your radio to switch to standby mode after a set sleep time.
1 Press Sleep button, Turn the SCROLL + / – knob to select from below options: Turn Off, 15, 30, 45, 60, 90, 120, 150 and 180 minutes. Press the OK/SNOOZE button to confirm the selected one. The sleep icon and sleep time will be shown on the display.
Alarm setting
Your radio includes dual alarms. Before setting an alarm, make sure to set the clock first.
- Press the ALARM button to go to enable the alarm function.
- Turn the SCROLL + / – knob to select “Alarm 1” or “Alarm 2”, and then press the OK/SNOOZE button to confirm.
- Turn the SCROLL + / – knob to select options (Time, Sound, Repeat, Alarm volume), and then press the OK/SNOOZE button to confirm the settings.
- When an alarm rings, press SNOOZE button to stop the alarm. The alarm will sound again 9 minutes later.
- When an alarm is stopped, press ALARM button, the alarm will sound again the next day at the same time.
Backlight Setting
This radio display has a backlight with adjustable brightness level.
- Press the Menu button and select Configuration – Dimmer, then press the OK/SNOOZE button to confirm.
- Turn the SCROLL + / – knob to select Mode or Level, and then press the OK/SNOOZE button to confirm.
- Turn the SCROLL + / – knob to select backlight level, and then press the OK/SNOOZE button to confirm the setting.
Language setting
You can change the display language of your unit, there are 9 options available: German, English, Spanish, French, Italian, Dutch, Polish, Russian and Chinese.
- Press the Menu button and select Configuration – Language, press the OK/SNOOZE button to confirm.
- Turn the SCROLL + / – knob to select your desired language, and then press the OK/SNOOZE button to confirm.
Factory reset
Doing a factory reset clears all user defined settings, replacing them with the original default values, so time/date, DAB station list and preset stations are all lost.
- Press Menu button and select Configuration – Reset to default, press OK/SNOOZE button to confirm.
- Turn SCROLL + / – knob to select “YES” and then press OK/SNOOZE button to confirm.
Technical specification
| Item number: | MIR-260 |
| Power adaptor: | 100-240V ~ 50/60Hz |
| Audio output: | 2 x 10W RMS |
| Frequency range: | |
| FM: | 87.5 MHz to 108 MHz |
| DAB: | Band III, 174.9 MHz to 239.2 MHz |
| Manufacturer’s name or trade mark, commercial registra on number and address | SHENZHEN CITY HONG BEN ELECTRONICS CO., LTD 91440300789224369T 5th & 6th Floor,No. 4 Building,Yuyongxing Industrial Park, Changfeng Road,Changzhen Community, Gongming Office, Guangming New Sistrict, Shenzhen, Guangdong, P.R. China |
| Model iden er | HB40-0903000SPA |
| Input voltage | 100-240V |
| Input AC frequency | 50/60Hz |
| Output voltage | 9.0V |
| Output current | 3.0A |
| Output power | 27.0W |
| Average ac ve efficiency | 87.21% |
| Efficiency at low load (10%) | — |
| No-load power consump on | 0.081 |
Please no ce – All products are subject to change without any noce. We take reserva ons for errors and omissions in the manual.
ALL RIGHTS RESERVED, COPYRIGHT DENVER A/S
Electric and electronic equipment and included batteries contains materials, components and substances that can be hazardous to your health and the environment, if the waste material (discarded electric and electronic equipment and batteries) is not handled correctly.
Electric and electronic equipment and batteries is marked with the crossed out trash can symbol, seen above. This symbol signifies that electric and electronic equipment and batteries should not be disposed of with other household waste, but should be disposed of separately.
As the end user it is important that you submit your used batteries to the appropriate and designated facility. In this manner you make sure that the batteries are recycled in accordance with legislature and will not harm the environment.
All cities have established collection points, where electric and electronic equipment and batteries can either be submitted free of charge at recycling stations and other collection sites, or be collected from the households. Additional information is available at the technical department of your city.
Hereby, Denver A/S declares that the radio equipment type MIR-260 is in compliance with Directive 2014/53/EU. The full text of the EU declaration of conformity is available at the following internet address: denver.eu and then click the search ICON on topline of website. Write model number: MIR-260. Now enter product page, and red directive is found under downloads/other downloads.

Operating Frequency Range:FM 87.5-108MHz,DAB 174.9-239.2MHz,WiFi
2412-2472MHz,Bluetooth 2402-2480MHz
Max Output Power: 2x10W
DENVER A/S
Omega 5A, Soeften
DK-8382 Hinnerup
Denmark
www.facebook.com/denver.eu





















