DAB-36 Retro DAB Aux In Radio
Instruction Manual
denever-electronics.com
The lightning flash with an arrowhead symbol, with an equilateral triangle, is intended to alert the user of the presence of uninsulated dangerous voltage within the product’s enclosure that may be of sufficient magnitude to constitute a risk of electric shock to persons.
CAUTION: TO REDUCE THE RISK OF ELECTRIC SHOCK. DO NOT REMOVE THE COVER (OR BACK). NO USER-SERVICEABLE PARTS INSIDE. REFER SERVICING TO QUALIFIED SERVICE PERSONNEL.
The exclamation point within an equilateral triangle is intended to alert the user of the presence of important operating and maintenance (servicing) instructions. In the literature accompanying the appliance.
CAUTION: TO PREVENT ELECTRIC SHOCK. MATCH WIDE BLADE OF PLUG TO WIDE SLOT. FULLY INSERT.
Warning:
- Do not install this equipment in a confined or building-in space such as a bookcase or similar unit, and remain a good ventilation condition at the open site. The ventilation should not be impeded by covering the ventilation openings with items such as newspaper, and tablecloths. curtains etc.
- WARNING: Only use attachments/accessories specified or provided by the manufacturer (such as the exclusive supply adapter, battery, etc).
- WARNING: To reduce the risk of fire or electric shock, do not expose this apparatus to rain or moisture. The apparatus shall not be exposed to dripping or splashing and that objects filled with liquids. such as vases. shall not be placed on apparatus.
- WARNING: The batteries (battery pack or batteries installed) shall not be exposed to excessive heat such as sunshine. fire or the like.
- WARNING: The direct plug-in adapter is used as a disconnect device, the disconnect device shall remain readily operable. e:t
Correct Disposal of this product. This marking indicates that this product should not be disposed of with other household wastes throughout the EU. To prevent possible harm to the environment or human health from uncontrolled waste disposal, recycle it responsibly to promote the sustainable reuse of material resources. To return your used device. please use the return and collection systems or contact the retailer where the product was purchased.
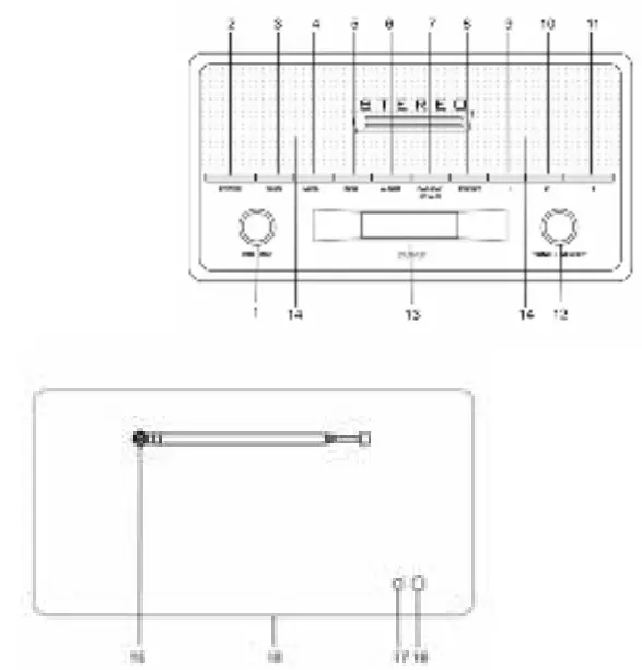
LOCATION OF CONTROLS

| 1. Volume knob 2. Standby 3. Scan button 4. Menu button 5. Info button 6. Alarm set button 7. DAB/FM/AUX/BLUETOOTH 8. Preset button 9. 1 (Preset 1) | 10. 2 (Preset 2) 11. 3 (Preset 3) 12. Tune/Select knob 13. LCD display 14. Speakers 15. Antenna 16. Battery compartment 17. AUX in jack 18. DC jack |
POWER SUPPLY
OPERATING THE UNIT ON AC POWER
Insert one end at the supplied power cord to the DC 7.5V IN Jack located at the rear of the unit and the other end into the wall outlet. When First time used the cord has to be firmly pushed into the socket if does not work on AC, try again to be sure of a positive connection.
OPERATING THE UNIT ON BATTERIES
To play your unit on batteries, the AC power cord must be disconnected from the player. Unplug the AC power cord from the unit and insert 4 sizes “C” batteries (not provided) in the compartment. Close the battery compartment door.
Note: Check your batteries regularly. Old or discharged batteries should be replaced. If the unit is not to be used for some time or is being run exclusively on AC electrical current, remove batteries from the battery compartment to avoid leakage. Warning: Before using the unit. Check that the local mains supply is compatible with the Unit Do not plug or unplug the power cable when your hands wet. When planning not to use this unit for long periods of time (i.e. Vacation etc.) disconnect the plug from the wall outlet.
BATTERY SAFETY PRECAUTIONS: Keep batteries away from children and pets.
Insert the batteries observing the proper polarity (+/-). Failure to properly align the battery polarity can cause personal injury and/or property damage.
Remove old or discharged batteries from the product. Remove the batteries when the product will not be used for extended periods of time to prevent damage due to rusted or corroded batteries.
Never throw batteries into a fire, and do not expose batteries to fire or other heat sources.
Battery Disposal: Old or discharged batteries must be properly disposed of and recycled in compliance with all applicable laws. For detailed information, contact your local solid waste authority.
Follow the battery manufacturer’s safety, usage, and disposal instructions.
OPERATION
Press the Standby button to turn the unit.
IN DAB MODE
Press the DAB/FM/AUX/BT button to select DAB radio mode
Auto-select: Press the SCAN button, and “AUTOTUNE FULL SCAN” will show on the display, and the number of DAB stations will be shown on the upper right corner, and it will automatically play the first station. Tune the TUNE/SELECT knob to choose the next or previous station.
Manual select: Press and hold the TUNE/SELECT knob until the “MANUAL TUNE” icon is shown on the display, then tune the TUNE/SELECT knob to choose the station.
Note: you may have to wait for the unit to tune in to the news channel.
DAB Radio stations presetting:
To receive the desired DAB station, press and hold the PRESET button, “Preset Empty X” (X is the current program number) will appear on the display, the current program number “X” is flashing on the display
Tune the TUNE/SELECT knob to choose the desired program number (1-10) you want stored to. Then press the TUNE/SELECT knob to store it.
Repeat the same procedures until all the desired radio stations were stored in the program list.
Recall the memory, press a PRESET button and tune the TUNE/SELECT knob to select the stored radio station as desired. Press the TUNE/SELECT knob to confirm.
Please note: You may also recall the memory of Preset 1, Preset 2, and Preset 3 stations by simply pressing the 1, 2, and 3 knobs on the unit.
IN FM MODE
Press the DAB/FM/AUX/BT button to select FM radio mode, and press the SCAN button, when the radio is found, the frequency on display will stop running and start playback automatically.
If reception is no good, tune the TUNE/SELECT knob to fine-tune. FM radio preset is the same as DAB radio presetting
A. The UNIT has DAB information modes which are shown on the bottom line of the display. Short press the INFO key to see the available types.
- Program type
Displays the type of station content being broadcast e.g. Classic, Pop, News, etc. - Ensemble Freq.
Displays the DAB station frequency such as 13F 239.200MHz. - Audio Bit Rate
Displays the data rate in kilo Bits per second and the audio mode e.g.Stereo. - Ensemble name
Displays the name of the multiplex to which the Digital1 Network current station belongs. - Signal strength
Displays the signal strength for the station being listened to. - Time/Date
Displays current time and date received off-air. - DLS (Dynamic Link Segment)
Scrolling text which includes messages such as Artist and track name, phone numbers, program details, etc.
B. The UNIT has six FM information modes which are shown on the bottom line of the display. Short press the INFO/SETUP button to see the available types.
- PTY (program type)
Displays the type of station content being broadcast e.g. Classic, Pop, News, etc. - Signal strength
Displays the signal strength for the station being listened to. - Time and Date
Displays current time and date received off-air. - Station frequency
Displays the frequency of the station being listened to. - Audio mode
Displays the current audio mode setting i.e. Auto(Stereo) or Mono. - Radio Text
Scrolling text which includes messages such as Artist and track name, phone numbers, program details, etc.
ALARM 1 SETTINGS
With the UNIT switched ON, or in Standby mode, press the ALARM button until the Alarm1 menu is shown.
OFF or ON is flashing to indicate that it can be changed. Tune the TUNE/SELECT knob to ON. Then press the TUNE/SELECT knob to confirm.
The hour digits are now flashing tune the TUNE/SELECT knob to ON. Then press the TUNE/SELECT knob to confirm.
The minutes can now be set, as described above, and then short press the TUNE/SELECT knob to confirm.
Alarm mode: Daily, Weekdays (Monday to Friday), Weekends (Saturday), Once can be selected. Tune the TUNE/SELECT knob to choose the desired alarm mode, and press the TUNE/SELECT knob to confirm.
The alarm source (BEEPER1, BEEPER2, DAB, or FM) is now flashing. Tune the TUNE/SELECT knob to choose the desired alarm mode, press the TUNE/SELECT knob to confirm to save the setting and exit.
SET THE ALARM 2
With the UNIT switched ON, or in Standby mode, press the ALARM button 2 times until the Alarm2 menu is shown.
(another set is the same as ALARM 1)
SHUT OFF ALARM
To cancel the Alarm when it has activated. Press the ALARM button or STANDBY button to stop the alarm sound, the alarm will reset for the next day. OR the Alarm will automatically switch off after 59 minutes unless canceled or switched off manually.
TO TURN OFF THE ALARM COMPLETELY
Press the ALARM button and while the Alarm settings are still on screen, Tune the TUNE/SELECT knob to choose the desired alarm mode, and press the TUNE/SELECT knob to confirm.
During the DAB mode, press the MENU button to get the version of the software, e.g. V1.28
USING THE AUX INPUT
Connect the AUX connect the wire from the out jack of your Personal Player such as a portable MP3 player to the AUX input jack. Press the DAB/FM/AUX/BT button to select AUX mode, Turn on your Personal Player to begin playing, and adjust the volume to the desire listening level. IN Bluetooth MODE Press the DAB/FM/AUX/BT button to select BLUETOOTH mode
To pair the radio with your phone:
a. Turn on the Bluetooth function in the phone or tablet. For instructions, see your mobile phone user guide.
b. Place the phone within 20 cm (8 inches) of the radio.
c. Please make sure the radio is in BT mode. Choose “DAB-36” on your phone to connect the radio Bluetooth. After connecting, your phone will show “Connected”.
d. Enjoy your music on the radio now!
ALL RIGHTS RESERVED, COPYRIGHT DENVER ELECTRONICS A/S
Electric and electronic equipment contains materials, components, and substances that can be hazardous to your health and the environment if the waste material (discarded electric and electronic equipment) is not handled correctly.
Electric and electronic equipment is marked with the crossed-out trash can symbol, seen above. This symbol signifies that electric and electronic equipment should not be disposed of with other household waste, but should be disposed of separately.
All cities have established collection points, where electric and electronic equipment can either be submitted free of charge at recycling stations and other collection sites or be collected from households. Additional information is available at the technical department of your city.
Importer:
DENVER ELECTRONICS A/S
Stavneagervej
22 DK-8250 Egaa
Denmark
www.facebook.com/denverelectronics



















