
![]()
Operator’s Manual
Prophylaxis for Deep Vein Thrombosis for use in a clinical setting or in the home

Design Philosophy
Pneumatic compression is a clinically proven modality for minimizing the risks associated with deep vein thrombosis.¹ The Aircast VenaFlow Elite System leverages the same clinically proven technology as the existing VenaFlow offering but is presented in a low profile, light-weight design. VenaFlow Elite combines two proven technologies, rapid inflation and graduated sequential compression, to accelerate venous velocity and enhance fibrinolysis. This unique combination makes VenaFlow the only technology platform on the market that mimics ambulation .² Additionally, VenaFlow Elite incorporates asymmetric compression for the superior emptying of veins.³ The breathable and comfortable VenaFlow Elite calf, foot and thigh cuffs enhance the patient experience, assist in increasing compliance, and are compatible with one universal pump.
Function
Standard Operation (rapid inflation): The VenaFlow Elite system defaults to a rapid inflation mode. Once powered on, the system begins the compression cycle and inflates the cuffs one leg at a time, alternating between the two legs every 30 seconds. First, the distal Aircell inflates rapidly within less than 0 .5 seconds, then the proximal Aircell follows. The distal pressure peaks at approximately 73 mmHg ±15% and the proximal pressure peaks at approximately 63 mmHg ±15%. These pressures then settle at 45mmhg ±10% and after 6 seconds, the cuff deflates. In 54 seconds, the inflation cycle begins again. An icon will appear on the graphical display signaling when the inflation cycle is in progress. (See ‘Pump Features’ section) Pressure and the inflate/deflate cycle are automatic and an alarm will be activated if the system is not functioning properly. (See ‘System Alarms’ section) .
S Mode Operation (slow inflation): The user has an option to select the S mode button to switch to a slower inflation mode. After selection, both cuffs begin to inflate simultaneously once every 60 seconds. The inflation cycle is approximately 10 seconds long. The air cells inflate to a peak pressure of 45mmhg ±10%. In 50 seconds, the inflation cycle begins again. In S mode, pressures are automatic and alarms function normally.
- Labropoulos N, OH D.S, Golts, E, et al: Improved Venous Return By Elliptical, Sequential and Seamless Air-cell Compression. Loyola University Medical Center, January 2003.
- Whitelaw G, Oladipo O, Shah BP, et al: Evaluation of Pneumatic Compression Devices. Boston Orthopedics, March 2001.
- Kamm R: Unsteady Venous Blood Flow Resulting From Different Modes of External Compression Cambridge, MIT, 1996
Intended Use/Indications
The VenaFlow Elite System is an intermittent pneumatic compression device that is intended as a prophylaxis for deep vein thrombosis (DVT) in a clinical setting or in the home. The VenaFlow Elite System is designed to be used only with VenaFlow Elite cuffs.
Contraindications
The VenaFlow Elite System should not be used by persons with known or suspected deep vein thrombosis, severe congestive heart failure, pulmonary edema, thrombophlebitis, severe arteriosclerosis, or active infection. Do not use on extremities that are not sensitive to pain, where the cuff will interfere with gangrene, on patients with vein ligation or recent skin grafts, or extreme deformity of the leg. Do not use the VenaFlow Elite System where the increased venous or lymphatic return is undesirable.
Warning and Precautions
- The VenaFlow Elite cuffs are designed for single patient use only.
- Risk of explosion if used in the presence of flammable anesthetics.
- The equipment or system should not be used adjacent to or stacked with other equipment and, if adjacent or stacked use is necessary, the equipment or system should be observed to verify normal operation in the configuration in which it will be used.
- Medical Electrical Equipment needs special precautions regarding EMC. Portable and Mobile RF Communications Equipment can be affected by other Medical Electrical Devices.
- Cuffs used in combination with warming devices may cause skin irritation. Regularly check for patient comfort, compliance and skin irritation.
- Special attention should be given to those patients with neuropathies or tissue viability problems (i .e . diabetes, arterial or venous insufficiencies) .
- To prevent extremity compartment syndrome, special attention should be given to patients who are positioned in the supine lithotomy position for extended lengths of time. This includes patients with or without compression cuffs.
- If you experience pain, swelling, sensation changes or any unusual reactions while using this device, consult your medical professional immediately.
- Foot cuffs are only for use in standard rapid inflation mode.
- Ingress of water or liquids could result in unpredictable failures.
- Inspect equipment for obvious damage prior to use.
- Do not walk with tubing connected to cuffs.
- The device should never be opened by anyone other than a trained technician.
- Use of a device outside of all recommended specifications could result in unpredictable failures.
Latex Information
All components of the VenaFlow Elite System are latex-free. All VenaFlow Elite cuffs are latex-free and may be placed directly against the skin or over a light compression dressing.
Pump Features
![]() | ![]() |
Symbol Definitions

Pump Set-Up
- Hang pump from bed frame (foot of bed), bed rail, or rest on floor or table . To use the telescoping bed hanger, press the release button on the back of the device and gently pull out the bed hook to the desired width.

- Connect tube assembly to the pump . Make sure tubing connectors lock securely into pump connectors.

- Plugin the power cord to an electrical outlet.
Cuff Application
The VenaFlow Elite System will automatically detect the cuff that is attached to the device and apply appropriate pressures. You must attach the cuffs prior to powering on the device.
- Calf cuff – Apply cuff with the tube pointed toward the foot. The Aircell may be placed either on the back, side, or front of the leg.
It doesn’t matter where the Aircell sits on the leg, it will perform the same.
Foot cuff – Apply cuff with the Aircell centered on the bottom of the foot and with the tube pointed to the left. Foot cuffs are only for use in standard rapid inflation mode.
Thigh cuff – Apply cuff with the distal and proximal aircells centered on either the back, side, or front of the calf and thigh with the tube pointed toward the foot. It doesn’t matter where the Aircell sits on the leg, it will perform the same.
- Connect cuffs to the tubing that is attached to the pump.
For varied patient sizes, trim calf and thigh cuffs as needed for proper fit.
Be sure to secure cuff straps snug but not tight. Once again, when using the calf cuff and thigh cuff, rotation of the air cell on the leg does not affect the performance of the system.
Pump Operation
- To turn the device on, press
. The graphical display, green pump indicator lights, and green light
above the button will turn on. - Once the device is powered on, the system will immediately enter cuff detection mode which means the system will be detecting whether or not there are cuffs attached.
Display will read “Detecting Cuffs” and will display the percentage of detection complete. Once it reaches 100%, the display will then transition to the standard display screen. - Any changes to the cuff configuration require that the device be powered off and restarted in order to detect the new configuration.
- To turn the device off, press
. The graphical display, green pump indicator lights, and green light above the
button will turn off. - To shut down the power completely, disconnect the power plug by removing it from the AC socket .
Single Leg Operation
- Cuffs should be attached prior to powering on the device. Once powered on, the device will automatically detect if one or two cuffs are attached.
- Any changes to the cuff configuration require that the device be powered off and restarted in order to detect the new configuration.
- Either port may be used for single leg operation. The system will automatically detect which one is in use.
- Single and dual leg operations are available in both standard rapid mode and S mode operation.
Patient Compliance Counter Reset
To reset the patient compliance counter, press
for 1 second and release. The hours, minutes, and seconds will reset .
Alarm Reset
To reset any alarm, press the
button and take steps to correct the alarm if necessary. Pressing the button does not fix the alarm but silences it until the problem is fixed. If you wish to turn the device completely off, you must press the power button once to silence the alarm and a second time to power down the device.
S Mode Operation
When powered on, the VenaFlow Elite System will default to standard rapid inflation mode. If slower inflation is desired, select the S mode operation
button. Once selected, both cuffs will inflate simultaneously once per minute. Both cuffs will inflate and compress for a total of 10 seconds. While in S mode the icon
will appear in the top center of the graphical display. The device will remain in S mode until the user presses the S mode operation button again. This button allows the user to toggle between standard rapid inflation mode and Smode.
Locking the System in Standard Rapid or S Mode
You have the ability to lock the system in either standard rapid mode or S mode. Once a mode is locked, it will stay in that mode regardless of powering the device on or off.
Once locked, it is not possible to toggle modes until the system is unlocked .
To lock the system in standard rapid inflation mode:
First, make sure the device is in standard rapid inflation mode. The S mode icon should NOT appear on the display. Next, press and hold the S mode button
for no less than 5 seconds. After 5 seconds, a lock
will appear at the top center of the display. This lock icon indicates that the system is locked in standard rapid mode.
To lock in S mode:
First select S mode and make sure the S mode icon
appears at the top center of the display.
Press and hold the S mode button
again for no less than 5 seconds. After 5 seconds, a lock
will appear next to the S mode icon at the top center of the display. This lock icon next to the S mode
icon indicates that the system is locked in S mode.
To unlock either mode: Press and hold the S mode button
for no less than 5 seconds. After 5 seconds, the lock icon will disappear.
Tube Alarm

- If one or both tubes has a kink or leak, after 4-6 minutes this symbol and the text “CHECK TUBES” will alternate on the graphical display, an audible alarm will sound and the pump indicator lights on the side of the system will flash red.
- If a tube alarm occurs, reset the alarm and then ensure that the tube connections are secure and that the tubing is kink-free . Check pump connectors and tubing/cuff connectors for cracks or damage. Check cuffs for damage as well.
- If alarm occurs again, replace cuffs and tubing altogether.
Enabling Compliance Alarm
A compliance alarm can be enabled on the device as an option. To enable the compliance feature, complete the following steps:
- Start with the system powered off .
- Press and hold the S mode operation button
and while holding, press the power button. The graphical display screen will go blank with no backlight. - Press the S mode operation button
. - Select button underneath ‘Change’ .
- Select button underneath ‘Other’ .
- Select button under ‘No alarm’ .
- Select the button under ‘Done’ to set the new configuration. The change is complete and the system is ready to operate. A “C” will appear on the display indicating that the compliance alarm is enabled.
Compliance Alarm

- If the cuffs are removed from the patient while the device is still functioning and the cuffs are not reapplied after 15 minutes, a visual alarm or visual and audio alarm (depending on your selection) will flash and the graphical display will read “COMPLIANCE ALARM”. Additionally, the pump indicator lights on the side of the system will flash red.
- Reset the alarm first, and then reapply the cuffs. You must reapply the cuffs within 9-15 minutes after resetting the alarm in order to prevent another compliance alarm from occurring.
- If cuffs are reapplied without resetting the alarm, the compliance alarm will automatically reset after 9-15 minutes
Call For Service Alarm

- If one of the system’s critical components is not working properly, the Call For Service alarm symbol will appear on the graphical display and it will alternate with the text “CALL FOR SERVICE” . Additionally, the pump indicator lights on the side of the system will flash red.
- If Call For Service alarm occurs, unplug the device and call DJO Technical support at 800-336-6569 option 1, option 3 for further instructions.
Battery Operation
The VenaFlow Elite System is available in a battery configuration for an additional charge. When the battery-installed system is powered on, a battery icon will appear on the right side of the graphical display beneath the leg icons and a sticker appears on the case. If the system does not have a battery installed, then there will be no battery icon on the graphical display at all. When the system with battery is unplugged and powered on, the system will automatically switch to battery power . The battery must be charged before use. Once a system has been configured to run with a battery, it must always have a battery installed. Otherwise, a ‘LOW BATTERY’ alarm will continuously occur. See the ‘Specifications’ section for battery pack information.
Battery Charging Instructions
- To charge the battery, simply plug in the system to an electrical outlet either while the system is on and functioning, or when it is powered off. The system will begin charging immediately after being plugged in.
- The VenaFlow Elite System with a fully charged battery will last for approximately 2 hours. It takes an estimated 2 hours to fully charge the battery when the unit is off. When the unit is on, it takes an estimated 4 hours to charge the battery.
Lithium-Ion Battery Maintenance Guidelines
Overview
Do not leave batteries unused for extended periods of time because Lithium-Ion batteries continue to slowly discharge (self-discharge) when not in use or while in storage. Routinely check the battery’s charge status. The product Operator’s manual includes information on how to check battery status as well as battery charging instructions. When a battery has been unused for 6 months, check the charge status and charge or send the system back to DJO for battery replacement .
The typical estimated life of a Lithium-Ion battery is about two to three years or 300 to 500 charge cycles, whichever occurs first. One charge cycle is a period of use from fully charged, to fully discharged, and fully recharged again. For batteries that do not run through complete charge cycles, there is a two to three-year life expectancy .
The intended operating temperature of the device is between 0 and 50 °C .
Rechargeable Lithium-Ion batteries have a limited life and will gradually lose their capacity to hold a charge. This loss of capacity (aging) is irreversible. As the battery loses capacity, the length of time it will power the product (run time) decreases.
Battery Maintenance
You should routinely check the battery’s charge status. Carefully monitor batteries that are approaching the end of their estimated life. Consider shipping the device back to DJO to replace the battery if you note either of the following conditions:
- The battery run time drops below about 80% of the original run time.
- The battery charge time increases significantly.
If a battery is stored or otherwise unused for an extended period, be sure to follow the storage instructions in this document. If you do not follow the instructions, and the battery has no charge remaining when you check it, consider it to be damaged. Do not attempt to recharge it or to use it. Send the system back to DJO for replacement.
Charging
Always follow the charging instructions provided in your Operator’s manual.
Storage
Charge or discharge the battery to approximately 50% of capacity before storage.
Charge the battery to approximately 50% of capacity at least once every six months.
The battery is best stored at 20±5 °C. For periods of less than 1 month, the battery can be stored between -20~45 °C.
NOTE: The battery self-discharge during storage. Higher temperatures (above 20 °C or 68 °F) reduce the battery storage life.
Handling Precautions
- Do not disassemble, crush, or puncture a battery.
- Do not short the external contacts on a battery.
- Do not dispose of a battery in fire or water.
- Do not expose a battery to temperatures above 60 °C (140 °F).
- Keep the battery away from children.
- Avoid exposing the battery to excessive shock or vibration.
- Do not use a damaged battery.
- If a battery pack has leaking fluids, do not touch any fluids.
- Properly dispose of a leaking battery pack.
- In case of eye contact with fluid, do not rub your eyes. Immediately flush eyes thoroughly with water for at least 15 minutes, lifting upper and lower lids, until no evidence of the fluid remains. Seek medical attention.
Low Battery Alarm

- When there are approximately 15 minutes of charge left in the battery, an audible alarm will beep 3 times every minute.
When there is less than approximately 5 minutes of charge left, a consistent beep will sound and a larger version of the battery icon will appear on the graphical display and it will alternate with the text “LOW BATTERY”. - When either battery alarm occurs, immediately plug the device into an electrical outlet to begin replenishing the charge.
- If the device is not plugged in during the alarm period, the device will shut down and will fail to power on again until the device is plugged in again.
Installing or Replacing the Battery
- Remove the power cord. Refer to the ‘Instructions for installing/removing/replacing the power cord’ section.
- Remove back cover of the device by removing 4 screws using TORX (star) T20 driver.

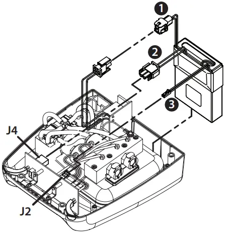
- Remove power supply connector from board connector J4 .
- Install the battery into the device below the reservoir.
- Attach power supply connector to battery connector #1 .
- Attach battery connector #2 to J4 connector on board.
- Attach battery connector #3 to J2 connector on board.
- Close the back cover of the device and fasten the screws.
- Reinstall the power cord and power cord cover per previous instructions.
- Plug in the system.

- Hold down the single/dual leg operation button and then press the power button to turn on the system. The LCD back light will turn on, with a blank LCD.
- Release the single/dual leg operation button.
- Press and release the counter reset button.
- Turn off the system by pressing the power button. The battery will be configured at this point.
- Turn on the system. After the cuff detection cycle, the system should display a battery icon on the right-hand side of the LCD.
- Leave the device plugged in for at least 4 hours to allow the battery to charge. The battery will charge whether the system is turned on or off.
Replacement Kit Instructions
Replacement kits may be ordered through customer care.
Instructions for Installing/Removing/Replacing the Power Cord

- Make sure the system is powered off and unplugged.
- Remove the screw retaining the power cord cover using a 1/16” hex driver.
- Remove the power cord cover.
- Remove the power cord.
- Install new power cord and reassemble power cord cover.
Telescoping Bed Hanger Replacement

- The telescoping bed hanger piece can be removed and replaced if necessary.
- To replace the bed hanger, hold down the release button on the back of the system and firmly pull the bed hanger out of the body of the system.
- Discard the broken or ineffective hanger. To install the new bed hanger, slide the new hanger back into the body of the device and set it at the desired length.
Instructions for Replacing Fuses

- Remove the power cord. Refer to the ‘Instructions for installing/removing/replacing the power cord’ section.
- Remove fuse holder from power entry module.
- Remove fuses from fuse holder.
- Replace any blown fuses with 250V, 2A, IEC fast-acting 5X20mm fuses.
- Reassemble fuse holder and replace power cord per previous instructions.
Cleaning Instructions
Both the pump case and the tube assembly can be cleaned with a mild soap solution, antiseptic, or disinfectant wipes. DJO tested numerous disinfectants on the device and found no adverse effects using isopropyl alcohol and hydrogen peroxide (Oxivir Tb). According to the results, it is advised to avoid using Dimethyl benzyl ammonium chloride or Dimethyl ethyl benzyl ammonium chloride (Tec-Surf II), or solutions containing chlorine. Apply using a dampened cloth or wipes. Do not submerge the device in any liquid.
Disposal
All contaminated products or accessories should be disposed of properly according to hospital policy and/or state law.
Warranty
For consigned systems: DJO, LLC will repair or replace all or part of the 30B-S and 0B-SB systems for material or workmanship defects for the life of the customer contract. Warranty and maintenance terms are specified for each consignment contract.
For purchased systems: DJO, LLC will repair or replace all or part of the 30B-S or 30B-SB systems for material or workmanship defects for 3 years from the date of sale. For disposable cuffs, tubing, and battery pack purchases: DJO, LLC will repair or replace all or part of the cuffs, tube units, and battery packs for material or workmanship defects, not including normal depreciation of battery life or charge capacity, for a period of six months from the date of sale.
Optional Tube Alarm Verification Test
The Tube Alarm Verification Test is provided for facility verification purposes only and is not required prior to use.
Attach tube assembly to pump and connect the power cord to an electrical outlet. Simulate a kinked tube situation by folding the tube over onto itself once and holding it for 4-6 minutes. The second cycle after the simulated kink should activate an audible alarm and this symbol
will appear with “CHECK TUBES” on the graphical display and the pump indicator lights on the side of the system will flash red .
Ordering Information (Reference separate IFU for each accessory)
Systems:
| Part # | Description |
| 30B-S | VenaFlow Elite System with S Mode |
| 308-SB | VenaFlow Elite System with S Mode & Battery |
| 30B1-S | VenaFlow Elite System, International with S Mode |
| 3081-SB | VenaFlow Elite System, International with S Mode & Battery |
Accessories:
Part # | Description | Qty | Maximum Calf Circumference |
| 3040 | VenaFlow Elite Calf Cuff | Pair | 19″ |
| 3042 | VenaFlow Elite XL Calf Cuff | Pair | 22″ |
| 3043 | VenaFlow Elite Bariatric Calf Cuff | Pair | 30″ |
| 3045 | VenaFlow Elite Thigh Cuff | Pair | One size fits all |
| 3046 | VenaFlow Elite Foot Cuff | Pair | One size fits all |
| 3050 | VenaFlow Elite Foam Calf Cuff | Pair | 19″ |
| 3008 | Tube Assembly, 5.5′ | Each | |
| 3008XL | Tube Assembly, 8.5′ | Each | |
| 3008XXL | Tube Assembly, 10.5′ | Each | |
| 3008XXXL | Tube Assembly, 12.5′ | Each |
Specifications
Size: 7 .6” x 8 .5” x 4 .6”
Weight: no battery: 4 lbs . with battery: 4 .75 lbs .
Power input: 100-240~, 50-60 Hz, 200 – 500 mA
Cord: Hospital grade, 15 ft
Standards: IEC 60601-1, IEC 60601-1-2
TUV Device Classification: Class 1 BF
Inflation mode: rapid inflation and graduated, sequential compression
Bed hanger: accommodates up to 3 .5”
Battery: Li-ion polymer 11 .1V, 4250 mAh
Fuse: 250V 2A IEC FA 5X20MM
Storage
Storage/Transportation Temperature: 0º C (32º F) to 50º C (122º F) .
Operating Conditions
Operating Temperatures: 0º C (32º F) to 50º C (122º F)
Relative Humidity: 30% to 70%
Atmospheric Pressure: 650 mmhg to 790 mmhg
Customer Care Contact Information
Service: 800-336-6569 press option 1, then option 3
Technical support: 800-336-6569 ext 5566

Toll Free: 1-800-565-0333
Email: [email protected]
www.healthcaresolutions.ca
SOUTHSIDE
5920 Gateway Blvd. NW
Edmonton, AB T6H 2H6
Phone: 780-434-3131
Fax: 780-437-3355
NORTHGATE
9499 137 Ave. NW
Edmonton, AB T5E 5R8
Phone: 780-406-3500
Fax: 780-406-3567

DJO, LLC
A DJO Global Company
1430 Decision Street
Vista, CA 92081-8553 • USA
T 800.336.6569 • F 800.936.6569
DJOglobal.com




It doesn’t matter where the Aircell sits on the leg, it will perform the same.
Thigh cuff – Apply cuff with the distal and proximal aircells centered on either the back, side, or front of the calf and thigh with the tube pointed toward the foot. It doesn’t matter where the Aircell sits on the leg, it will perform the same.
For varied patient sizes, trim calf and thigh cuffs as needed for proper fit.
Be sure to secure cuff straps snug but not tight. Once again, when using the calf cuff and thigh cuff, rotation of the air cell on the leg does not affect the performance of the system.



















