Dainolite PIA-213FH Pietra 3-Light 21 Inch Black Incandescent Flush Mount Light

WHAT IN THE BOX

POWER OFF

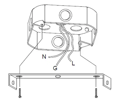
INSTALLATION INSTRUCTIONS





DIMENSION

Bulbs/ Ampoules: 3x Max 60W E26 Base
(Not Included)
CONTACTS
- 1401 Courtney Park Drive East, Mississauga, Ontario, Canada L5T 2E4
- Tel: (905) 564-1262
- Fax: (905) 564-1299
- Email: [email protected]
- Web: www.dainolite.ca




















