Dainolite PHL-264P Philis 4-Light White Transitional Drum Pendant Light Installation Guide
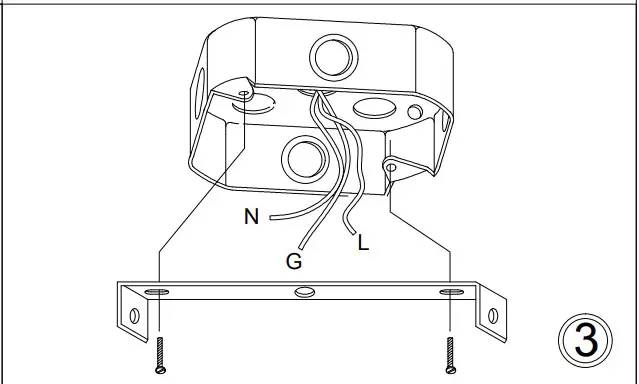
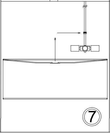
ASSEMBLY

OPERATING INSTRUCTION









Bulbs/ Ampoules: 4x Max 100W E26 Base (Not Included/ Non Inclus)
1401 Courtney Park Drive East, Mississauga, Ontario, Canada L5T 2E4
Tel: (905) 564-1262
Fax: (905) 564-1299
Email: [email protected]
Web: www.dainolite.ca



















