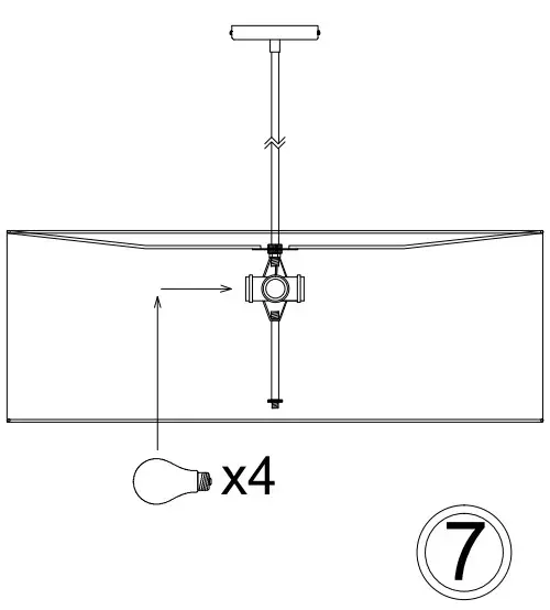
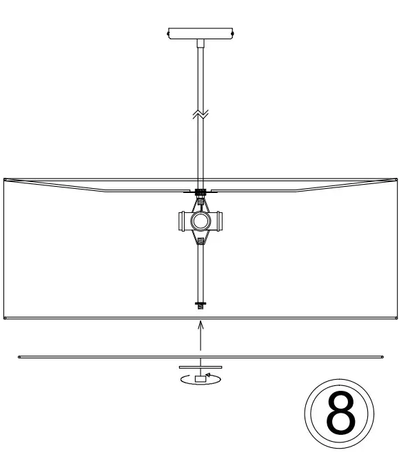
Dainolite HEL-304P 4-Light Cream Modern/Contemporary Drum Pendant Light Installation Guide
ASSEMBLY

OVERVIEW








Dainolite HEL-304P 4-Light Cream Modern/Contemporary Drum Pendant Light Installation Guide









Download manual
Here you can download full pdf version of manual, it may contain additional safety instructions, warranty information, FCC rules, etc.