
INSTALLATION INSTRUCTIONS
Advantium ® Built-In Wall Oven
240V 30”

Safety Information
BEFORE YOU BEGIN
Read these instructions completely and carefully.
IMPORTANT — Save these instructions for the local inspector’s use.
IMPORTANT — Observe all governing codes and ordinances.
- Note to Installer — Be sure to leave these instructions with the Consumer.
- Note to Consumer — Keep these instructions with your Owner’s Manual for future reference.
- Skill Level — Installation of this appliance requires basic mechanical and electrical skills.
- Completion Time — 1 Hour.
- Proper installation is the responsibility of the installer. Product failure due to improper installation is not covered under the warranty.
See Owner’s Manual for warranty information.
IMPORTANT — Use this oven only for its intended purpose. Never use the oven for warming or heating a room. Prolonged use of the oven without proper ventilation can be hazardous.
CAUTION For personal safety, remove house fuse or oven circuit breaker before beginning installation to avoid severe or fatal shock injury.
CAUTION For personal safety, the mounting surface must be capable of supporting the cabinet load, in addition to the added weight of the oven and drawer, plus additional oven loads.
Design Information

MODELS AVAILABLE
ZSB9231NSS – Stainless Steel
ZSB9232NSS – Stainless Steel
TOOLS AND PARTS REQUIRED (NOT SUPPLIED)
- #2 Phillips screwdriver
- Handheld drill
- High-speed drill bit, 3/32″ diameter
- 3/8″ slot head screwdriver
- Level
- Saw
- 2×4 or 2×2 lumber for installing runners or 3/8″ plywood for the floor (if required)
- Wood screws or other hardware for installing runner or shelf to support oven (if required)
- Safety glasses or goggles
ELECTRICAL TOOLS AND PARTS REQUIRED (NOT SUPPLIED)
- Junction box
- Electrical cable (3-conductor or 4-conductor wire as required by local codes)
- UL-listed conduit connectors
- Wire cutters and wire strippers
FLUSH MOUNT INSTALLATION
This installation method allows for the unit face to be in line with the cabinet face.
IMPORTANT: HIGH SKILL LEVEL IN CARPENTRY
IS REQUIRED. Non-standard cabinetry may be required.
Flush installation of the oven will lead to the exposure of the cabinet face frame edges.
Side cleats may be visible and should be a finished surface.
| Model | Door Depth |
| ZSB9231NSS | 1-3/8” |
| ZSB9232NSS | 1-7/16” |
ADVANCE PLANNING
- These ovens may be installed directly into a 30” wide oven cabinet.
- Cutout dimensions are NOT the same for installation with or without an accessory storage drawer. Make sure to use the correct cutout when preparing the opening.
IMPORTANT — This oven is not approved for use above another built-in Advantium Speedcook oven, a side-by-side installation or below a countertop.
- For personal safety, this oven cannot be installed in a cabinet arrangement such as an island or peninsula.
- The oven must be installed at least 36-3/4” above the floor.
- Allow for clearance to adjacent corners, walls, drawers, etc.
- Cabinets installed adjacent to wall ovens must have an adhesion spec of at least 194ºF temperature rating.
The oven must be securely installed in a cabinet that is firmly attached to the house structure. Weight on the oven door could cause the oven to tip and result in injury. Never allow anyone to climb, sit, stand or hang on the oven door.
If installing the drawer accessory, the drawer must be assembled to the oven prior to installation into the cabinet. See the Accessory Storage Drawer Assembly Instructions.
Installation Preparation
ELECTRICAL REQUIREMENTS
Single Advantium Installation
Product rating is 120/208 or 120/240 volt, 60 Hz, 30 amps. This product must be connected to a supply circuit of the proper voltage and frequency and protected by a time-delay fuse or circuit breaker. Power should be supplied from a separate, dedicated 30-ampere branch circuit. Wire size must conform to the requirements of the National Electrical Code or the prevailing local code.
Combined Advantium and Wall Oven Installation
When installed in combination with a single wall oven, use separate electrical junction boxes.
Refer to single oven installation instructions for electrical requirements of that product.
These connections must be made by a qualified electrician. All electrical connections must meet National Electrical Code or prevailing local codes.
Combined Advantium and Warming Drawer Installation
When installing the Advantium oven over an electric warming drawer, a separate 120V, 60Hz, properly grounded receptacle must be installed. See instructions packed with the warming drawer.
WARNING
- The electrical power to the oven branch circuit must be shut off while line connections are being made.
- Use copper wiring only.
- Electrical ground is required on this appliance. The free end of the green wire (ground wire) must be connected to a suitable ground. This wire must remain grounded to the oven.
- If the cold water pipe is interrupted by plastic, non-metallic gaskets, union connections or other insulating materials, DO NOT use for grounding.
- DO NOT ground to a gas pipe.
- DO NOT have a fuse in the NEUTRAL or GROUNDING circuit. A fuse in the NEUTRAL or GROUNDING circuit could result in an electrical shock.
- Check with a qualified electrician if you are in doubt as to whether the appliance is properly grounded.
Failure to follow these instructions could result in serious injury or death.
GROUNDING INSTRUCTIONS
WARNING
Improper use of the grounding plug can result in a risk of electric shock.
This appliance must be connected to a grounded, metallic, permanent wiring system, or an equipment grounding conductor should be run with the circuit conductors and connected to the equipment-grounding terminal or lead on the appliance.
INSTALL JUNCTION BOX

The conduit is located at the top right on the back of the oven.
Locate and install the junction box within reach of the oven conduit.
- Through the left or right sides of the cabinet wall and into the adjacent cabinet.
- Or, through the cutout floor.
- Or, in the upper cabinet.
Standard Installation Preparation
IMPORTANT: Always maintain 36-3/4” minimum height from the floor to the cutout in any single or combined installation.
PREPARE THE OPENING
The Advantium 240V can be installed in combination with other Monogram Built-In appliances. Always follow each product’s Installation Instructions to complete the installation.
Single Advantium 240V Installation:
Order a 30” wide single oven cabinet or cut the opening in a wall to the dimensions shown.

- Always maintain 36-3/4” minimum height from the floor to the cutout in any single or combined installation.
- Allow the following clearances around the cutout on the these refer to minimum clearances required for installation and do not reflect actual product dimensions.)
- Oven overlaps will conceal cut edges on all sides of the opening.
When installed over a single oven or a warming drawer, allow at least 2” between the two openings. This separation will provide clearance for the bottom overlap of the Advantium 240V and the other appliance overlaps.
Construct a solid oven floor of 3/8” min. thick plywood supported by 2 x 4 or 2 x 2 runners on all sides. - The support must be level and rigidly mounted, flush with the bottom edge of the cutout.
Installation over a Warming Drawer:

NOTE: Additional clearances between the cutouts may be required. Check to be sure the oven supports above the Warming Drawer location do not obstruct the required interior depth and height. See Warming Drawer installation instructions for details.
IMPORTANT: Always maintain 36-3/4” minimum height from the floor to the cutout in any single or combined installation.
Installation over a Wall Oven:

- If you are replacing an electric double oven with the combined installation of an Advantium 240V and a single oven, use the dimensions shown. The middle rail separating the two openings may need to be larger than the 2” minimum shown.
Installation over a Wall Oven and Warming Drawer:

NOTE: Additional clearances between the cutouts may be required. Check to be sure the oven supports above the Warming Drawer location do not obstruct the required interior depth and height. See Warming Drawer installation instructions for details.
CAUTION
For personal safety, the mounting surface must be capable of supporting the cabinet load, in addition to the added weight of the oven and drawer, plus additional oven loads.
Flush Mount Installation Preparation
PREPARE THE INTERIOR
Cut and install side cleats:
- Cut side wood cleats to a height of cabinet opening and approx. 2-1/2” in depth. Install, on each side, Dim. E (See table below) from the front face of the cabinet.
Cut and install bottom cleat: - Cut bottom wood cleat to a height of 1-1/8”, a depth of the cabinet minus Dim. E (See table below) and a width of 25-1/4” to fit between side cleats. Install onto the cabinet floor between the side cleats, push it all the way back against the cabinet wall, and ake sure its front face aligns with the front faces of the side cleats (Dim. E, from the table below, gap from the front cabinet face).

| A | Side and top cleats depth | 2-1/2” min. |
| B | Bottom cleat height | 1-1/8” |
| C | Bottom cleat depth | Cabinet depth minus Dim E.” |
| D | Bottom cleat width | 25-1/4” |
| E | All four cleats’ inset depth | ZSB9231NSS: 1-3/8” ZSB9232NSS: 1-7/16” |

PREPARE THE OPENING
The Advantium Built-In Oven can be installed in combination with other Monogram Built-In ovens. Always follow each product’s Installation Instructions to complete the installation. Single Advantium Built-In Oven Installation:
Cut the opening in a cabinet to the dimensions shown.
- The support must be level and rigidly mounted, flush with the bottom edge of the cutout.

| Approved Flush Installation | Dimension F | |
| 1/8” Reveal | 1/4” Reveal | |
| Single Advantium | 30” | 30-1 /4” |
| Over Warming Drawer | 30” | 30-1/4” |
| Over Oven | 30” | 30-1/4” |
| Over Oven and Warming Drawer | 30” | 30-1/4” |
** Top and bottom reveal are set to1 /8”.
Installation Preparation with Accessory Storage Drawer
Preparation with an Accessory Storage Drawer
As needed, see the Standard Mount Installation Preparation OR Flush Mount Installation Preparation for configuration details. Note the modified cutout height below.
The Advantium Built-In Oven can be installed in combination with other Monogram appliances. Always follow each product’s Installation Instructions to complete the installation.
Single Advantium Built-In Oven Installation:
Order a 30 wide single oven cabinet or cut the opening in a wall to the dimensions shown.

| Dimension | 1/8” Reveal | 1/4” Reveal |
| K | 30” | 30-1/4” |
- For flush installation, make the bottom cleat height 3/4″ when installed over a storage drawer.
- Allow the following clearances around the cutout on the front surface of the cabinet: 1-7/8- from the top, 2-3/8″ from the side edges, and 3/4″ from the bottom. (Note: these refer to minimum clearances required for installation and do not reflect actual product dimensions.)
- Oven overlaps will conceal cut edges on all sides of the opening.
- When installed over a single oven or a warming drawer, allow at least 2″ between the two openings. This separation will provide clearance for the bottom overlap of the Advantium Built-In Oven and the other appliance overlaps.
- The support must be level and rigidly mounted, flush with the bottom edge of the cutout.
Installation Instructions
1. REMOVE THE PACKAGING AND PARTS
- Remove all packing material and tape.
- Locate parts package containing mounting screws.
- Remove the oven from the carton. Do not lift the unit by handle or conduit. Two people are required to lift this oven.
- Open the door and remove any packaging in the oven.


IMPORTANT: If installing the Advantium Built-In Oven with an accessory storage drawer, read the storage drawer assembly instructions to assemble the products together before proceeding to Step 2.
2. ROUTE CONDUIT THROUGH CUTOUT
CAUTION
Two people are required to lift the oven into the opening. Grasp the bottom at front and rear. Discard foam base. DO NOT USE A HANDLE OR CONDUIT TO LIFT THE OVEN. DAMAGE WILL OCCUR. With oven in front of the cabinet opening:
- Insert conduit into cabinet opening. Connect oven wiring and branch circuit.
- Lift the oven into the opening while continuing to feed the conduit in the direction of the installed junction box. Be sure the conduit does not get pinched between the back of the oven and the cabinet wall.
- Leave oven a few inches forward of the cabinet front frame. Do not push the unit all of the ways into the cutout.

WARNING
- Disconnect power to the junction box before making the electrical connection.
- Electrical ground is required on this appliance.
- Do not connect the electrical supply until the appliance is permanently grounded.
When connecting to a 3-conductor branch circuit:
- Connect oven red lead to branch circuit red lead.
- Connect oven black lead to branch circuit black lead.
- Connect oven green ground lead and white lead to branch-circuit neutral (white or gray).

When connecting to a 4-conductor branch circuit:
- Connect oven red lead to branch circuit red lead.
- Connect oven black lead to branch circuit black lead.
- Break connection between oven white lead and oven green ground lead.
- Connect oven white lead to branch-circuit neutral lead (white or gray).
- Connect oven green ground lead to branch circuit ground lead (green or bare copper).

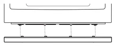
3. INSTALL BOTTOM TRIM
NOTE: If installing the Advantium 240 Oven with an accessory storage drawer, the bottom trim is not required. Proceed to Step 4.
- Align bottom trim tabs to slots in the bottom of the oven.

- Secure the bottom trim to the bottom of the oven using 3 brass screws provided.
4. INSTALL MOUNTING SCREWS

- Slide the oven the remaining way into the opening so that the side flanges and control panel are against the cabinet frame. Make sure that the oven is centered in the opening.
- Open the door, place a turntable tray in the oven and make sure that the tray in the unit is level.
- Drill pilot holes through the side flanges.
- Drive the color-matched screws into the side flanges. It is recommended that the screws be hand tightened.
If installing oven with an accessory storage drawer:
- Open the drawer.
- Drill pilot holes through the side flanges.
- Drive color match screws into the side flanges.

It is recommended that the screws be hand tightened.
5. FINALIZE INSTALLATION
- Turn the power on at the source. The interior light should come on when the door is opened.
- Refer to Owner’s Manual for operating instructions.
Notes

31-7000080 Rev. 2
04-21 GEA
Printed in China





















