makita PW5001C Stone Polisher Instruction Manual
SPECIFICATIONS
| Model | PW5001C |
| Spindle thread | M14 or M16 (country specific) |
| Pad diameter | Max. 100 mm |
| Rated speed (n) / No load speed (n0) | 4,400 min-1 |
| Overall length | 313 mm |
| Net weight | 2.3 kg |
- Due to our continuing program of research and development, the specifications herein are subject to change without notice.
- Specifications may differ from country to country.
- Weight according to EPTA-Procedure 01/2003
Symbols
The following show the symbols used for the equipment. Be sure that you understand their meaning before use
Read instruction manual
Wear safety glasses
Only for EU countries Do not dispose of electric equipment together with household waste material! In observance of the European Directive, on Waste Electric and Electronic Equipment and its implementation in accordance with national law, electric equipment that have reached the end of their life must be collected separately and returned to an environmentally compatible recycling
Intended use
The tool is intended for surface work with natural stone.
Power supply
The tool should be connected only to a power supply of the same voltage as indicated on the nameplate, and can only be operated on single-phase AC supply. This tool should be grounded while in use to protect the operator from electric shock. Use only three-wire extension cords which have three-prong grounding-type plugs and three-pole receptacles which accept the tool’s plug.
General Power Tool Safety Warnings
WARNING Read all safety warnings and all instructions. Failure to follow the warnings and instructions may result in electric shock, fire and/or serious injury
Save all warnings and instructions for future reference.
The term “power tool” in the warnings refers to your mains-operated (corded) power tool or battery-operated (cordless) power tool
Work area safety
- Keep work area clean and well lit. Cluttered or dark areas invite accidents.
- Do not operate power tools in explosive atmospheres, such as in the presence of flammable liquids, gases or dust. Power tools create sparks which may ignite the dust or fumes.
- Keep children and bystanders away while operating a power tool. Distractions can cause you to lose control.
Electrical safety - Power tool plugs must match the outlet. Never modify the plug in any way. Do not use any adapter plugs with earthed (grounded) power tools. Unmodified plugs and matching outlets will reduce risk of electric shock.
- Avoid body contact with earthed or grounded surfaces such as pipes, radiators, ranges and refrigerators. There is an increased risk of electric shock if your body isearthed or grounded.
- Do not expose power tools to rain or wet conditions. Water entering a power tool will increase the risk of electric shock.
- Do not abuse the cord. Never use the cord for carrying, pulling or unplugging the power tool. Keep cord away from heat, oil, sharp edges or moving parts. Damaged or entangled cords increase the risk of electric shock.
- When operating a power tool outdoors, use an extension cord suitable for outdoor use. Use of a cord suitable for outdoor use reduces the risk of electric shock.
- If operating a power tool in a damp location is unavoidable, use a residual current device
(RCD) protected supply. Use of an RCD reduces the risk of electric shock - Use of power supply via a RCD with a rated residual current of 30 mA or less is always recommended.
Personal safety - Stay alert, watch what you are doing and use common sense when operating a power tool. Do not use a power tool while you are tired or under the influence of drugs, alcohol or medication. A moment of inattention while operating power tools may result in serious personal injury.
- Use personal protective equipment. Always wear eye protection. Protective equipment such as dust mask, non-skid safety shoes, hard hat, or hearing protection used for appropriate conditions will reduce personal injuries.
- Prevent unintentional starting. Ensure the switch is in the off-position before connecting to power source and/or battery pack, pickingup or carrying the tool. Carrying power tools with your finger on the switch or energising power tools that have the switch on invites accidents.
- Remove any adjusting key or wrench before turning the power tool on. A wrench or a key left attached to a rotating part of the power tool may result in personal injury.
- Do not overreach. Keep proper footing and balance at all times. This enables better control of the power tool in unexpected situations.
- Dress properly. Do not wear loose clothing or jewellery. Keep your hair, clothing, and gloves away from moving parts. Loose clothes, jewellery or long hair can be caughtin moving parts.
- If devices are provided for the connection of dust extraction and collection facilities, ensure these are connected and properly used. Use of dust collection can reduce dust-related hazards.
Power tool use and care - Do not force the power tool. Use the correct power tool for your application. The correct power tool will do the job better and safer at the rate for which it was designed.
- Do not use the power tool if the switch does not turn it on and off. Any power tool that cannot be controlled with the switch is dangerous and must be repaired.
- Disconnect the plug from the power source and/or the battery pack from the power toolbefore making any adjustments, changing accessories, or storing power tools. Such preventive safety measures reduce the risk of starting the power tool accidentally.
- Store idle power tools out of the reach of children and do not allow persons unfamiliar with the power tool or these instructions to operate the power tool. Power tools are dangerous in the hands of untrained users.
- Maintain power tools. Check for misalignment or binding of moving parts, breakage of part sand any other condition that may affect the power tool’s operation. If damaged, have the power tool repaired before use. Many accidents are caused by poorly maintained power tools.
- Keep cutting tools sharp and clean. Properly maintained cutting tools with sharp cutting edges are less likely to bind and are easier to control.
- Use the power tool, accessories and tool bits
etc. in accordance with these instructions, taking into account the working conditions and the work to be performed. Use of the power tool for operations different from those intended could result in a hazardous situation. Service - Have your power tool serviced by a qualified repair person using only identical replacement
parts. This will ensure that the safety of the power tool is maintained. - Follow instruction for lubricating and changing accessories.
- Keep handles dry, clean and free from oil and grease
STONE POLISHER SAFETY WARNINGS
Safety Warnings Common for Polishing Operation:
- This power tool is intended to function as a polisher. Read all safety warnings, instructions, illustrations and specifications provided with this power tool. Failure to follow all instructions listed below may result in electric shock, fire and/or serious injury.
- Operations such as grinding, sanding, wire brushing or cutting-off are not recommended to be performed with this power tool. Operations for which the power tool was not designed may create a hazard and cause personal injury.
- Do not use accessories which are not specifically designed and recommended by the tool manufacturer. Just because the accessory can be attached to your power tool, it does not assure safe operation.
- The rated speed of the accessory must be at least equal to the maximum speed marked on the power tool. Accessories running faster than their rated speed can break and fly apart.
- The outside diameter and the thickness of your accessory must be within the capacity ratingof your power tool. Incorrectly sized accessories cannot be adequately guarded or controlled.
- Threaded mounting of accessories must match the tool spindle thread. For accessories mounted by flanges, the arbour hole of the accessory must fit the locating diameter ofthe flange. Accessories that do not match the mounting hardware of the power tool will run out of balance, vibrate excessively and may cause loss of control.
- Do not use a damaged accessory. Before each use inspect the accessory such as backing pad for cracks, tear or excess wear. If powertool or accessory is dropped, inspect for damage or install an undamaged accessory. After inspecting and installing an accessory, position yourself and bystanders away from the plane of the rotating accessory and run the power tool at maximum no-load speed for one minute. Damaged accessories will normally break apart during this test time.
- Wear personal protective equipment. Depending on application, use face shield, safety goggles or safety glasses. As appropriate, wear dust mask, hearing protectors,
gloves and workshop apron capable of stopping small abrasive or work piece fragments. The eye protection must be capable of stopping flying debris generated by various operations. The dust mask or respirator must be capable of filtrating particles generated by your operation. Prolonged exposure to high intensity noise may cause hearing loss. - Keep bystanders a safe distance away from work area. Anyone entering the work area must wear personal protective equipment. Fragments of work piece or of a broken accessory may fly away and cause injury beyond immediate area of operation.
- Position the cord clear of the spinning accessory. If you lose control, the cord may be cut or snagged and your hand or arm may be pulled into the spinning accessory.
- Never lay the power tool down until the accessory has come to a complete stop. The spinning accessory may grab the surface and pull the power tool out of your control
- Do not run the power tool while carrying it at your side. Accidental contact with the spinningaccessory could snag your clothing, pulling the accessory into your body.
- Regularly clean the power tool’s air vents. The motor’s fan will draw the dust inside the housing and excessive accumulation of powdered metal may cause electrical hazards.
- Do not operate the power tool near flammable materials. Sparks could ignite these materials. Kickback and Related Warnings Kickback is a sudden reaction to a pinched or snagged rotating wheel, backing pad, brush or any other accessory. Pinching or snagging causes rapid stalling of the rotating accessory which in turn causes the uncontrolled power tool to be forced in the direction opposite of the accessory’s rotation at the point of the binding. For example, if an abrasive wheel is snagged or pinched by the work piece, the edge of the wheel that is entering into the pinch point can dig into the surface of the material causing the wheel to climb out or kick out. The wheel may either jump toward or away from the operator, depending on direction of the wheel’s movement at the point of pinching. Abrasive wheels may also break under these conditions. Kickback is the result of power tool misuse and/or incorrect operating procedures or conditions and can be avoided by taking proper precautions as given below.
a) Maintain a firm grip on the power tool and position your body and arm to allow you to resist kickback forces. Always use auxiliary handle, if provided, for maximum control over kickback or torque reaction during start-up. The operator can control torque reactions or kickback forces, if proper precautions are taken.
b) Never place your hand near the rotating accessory. Accessory may kickback over your hand.
c) Do not position your body in the area where power tool will move if kickback occurs .Kickback will propel the tool in direction opposite to the wheel’s movement at the point of snagging.
d) Use special care when working corners, sharp edges etc. Avoid bouncing and snagging the accessory. Corners, sharp edges or bouncing have a tendency to snag the rotating accessory and cause loss of control or kickback.
e) Do not attach a saw chain woodcarving blade or toothed saw blade. Such blades create frequent kickback and loss of control.
Safety Warnings Specific for Stone Polishing
Operations:
a) Do not use excessively oversized abrasive disc. Follow manufacturers recommendations, when selecting abrasive disc. Larger abrasive disc extending beyond the pad presents a laceration hazard and may cause snagging, tearing of the disc or kickback
Additional safety warnings - Ground Fault Circuit Interrupter (GFCI) protection should be provided on the circuit(s) or outlet(s) to be used for the tool. Receptacles are available having built-in GFCI protection and may be used for this measure of safety.
- For additional protection against electric shock, be sure to WEAR RUBBER GLOVES
AND RUBBER BOOTS during operation. - When using the water feed, be careful not to let water get into the motor. If water runs into the motor, an electric shock hazard may result.
- PROPER GROUNDING. This tool should be grounding while in use to protect the operator from electric shock.
- EXTENSION CORDS. Use only three-wireextension cords which have three-prong grounding-type plugs and three-pole receptacles which accept the tool’s plug. Replace or repair damaged or worn cord immediately.
- Make sure the abrasive disc is not contacting the work piece before the switch is turned on.
- Do not leave the tool running. Operate the tool only when hand-held.
- Check that the workpiece is properlysupported.
- Pay attention that the wheel continues to rotate after the tool is switched off.
- Do not use the tool on any materials containing asbestos
SAVE THESE INSTRUCTIONS.
WARNING: DO NOT let comfort or familiarity with product (gained from repeated use) replace strict adherence to safety rules for the subject product. MISUSE or failure to follow the safety rules stated in this instruction manual may cause serious personal injury
FUNCTIONAL DESCRIPTION
CAUTION:
- Always be sure that the tool is switched off and unplugged before adjusting or checking function on the too
Ground Fault Circuit Interrupter

Fig.1: 1. Pilot lamp 2. RESET (R) button 3. TEST (T) button The tool is equipped with either of Ground Fault Circuit Interrupter (GFCI) illustrated. Connect the tool to a power supply and test the Ground Fault Circuit Interrupter (GFCI) before using the tool. Push the RESET (R) button and confirm that the pilot lamp lights. Push the TEST (T) button and confirm that the pilot lamp goes out. Push the RESET (R) button again to use the tool.
WARNING:
- Do not use the tool if the pilot lamp does not go out when the TEST (T) button is pushed.
Shaft lock

Fig.2: 1. Shaft lock 2. Cover
CAUTION
Never actuate the shaft lock when the spindle is moving. The tool may be damaged.
CAUTION:
Never actuate the shaft lock when the spindle is moving. The tool may be damaged.
Press the shaft lock to prevent spindle rotation when installing or removing accessories.
Switch action

Fig.3: 1. Slide switch 2. Cover
CAUTION:
Before plugging in the tool, always check to see that the slide switch actuates properly and returns to the “OFF” position when the rear of the slide switch is depressed.
To start the tool, slide the slide switch toward the“I (ON)” position. For continuous operation, press the front of the slide switch to lock it.To stop the tool, press the rear of the slide switch, then slide it toward the “O (OFF)” position.
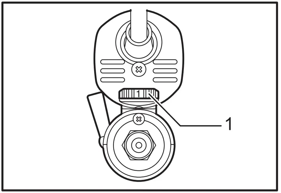
Speed adjusting dial

Fig.4: 1. Speed adjusting dial The rotating speed can be changed by turning the speed adjusting dial to a given number setting from 1 to 5.
Higher speed is obtained when the dial is turned in the direction of number 5. And lower speed is obtainedwhen it is turned in the direction of number 1. Refer to the table for the relationship between the number settings on the dial and the approximate rotating speed.
| Number | RPM(min-1) |
| 1 | 2,000 |
| 2 | 2,500 |
| 3 | 3,000 |
| 4 | 3,500 |
| 5 | 4,400 |
CAUTION:
- If the tool is operated continuously at low speeds, the motor will get overloaded and heated up.
- The speed adjusting dial can be turned only as far as 5 and back to 1. Do not force it past 5 or1, or the speed adjusting function may no longer work.
Electronic function
Constant speed control
Possible to get fine finish, because the rotating speed is kept constant even under the loaded condition. Additionally, when the load on the tool exceeds admissible levels, power to the motor is reduced to protectt he motor from overheating. When the load returns to admissible levels, the tool will operate as normal.
Soft start feature
Soft start because of suppressed starting shock.
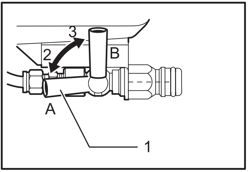
Opening or closing of water lever

Fig.5: 1. Lever 2. Open 3. Close To keep the lever on the tool for water flow open, turn itto the position A where the water passage will be ready. Return it to the position B to close.
ASSEMBLY
CAUTION:
- Always be sure that the tool is switched off and unplugged before carrying out any work on the tool
Installing side grip (handle)

Fig.6
CAUTION:
- Always be sure that the side grip is installed securely before operation.
Screw the side grip securely on the position of the tool as shown in the figure. Remove one of the screws which secure gear housing and head cover, then screw the side grip on the tool.
Fig.7: 1. Head cover 2. Side grip 3. Screw
Installing or removing abrasive disc (optional accessory)

Fig.8: 1. Abrasive disc 2. Pad 3. Spindle 4. Cover Remove all dirt or foreign matter from the pad. Screw the pad onto the spindle with pressing the shaft lock. Attach the disc to the pad so carefully that the edges of disc and pad overlap each other without protruding. To remove the abrasive disc, pull off its edge from the pad.
Fig.9: 1. Cover
OPERATION
Polishing operation
Fig.10
WARNING:
- To reduce the risk of electric shock, check the tool’s water supply system to ensure there isno damage to the seals (“O” rings) or hoses. A damaged water supply system may result in abnormal water flow to the tool which could be dangerous.
CAUTION:
- Always wear safety goggles or a face shield during operation.
- Never switch on the tool when it is in contactwith the workpiece, it may cause an injury to operator.
- Never run the tool without the abrasive disc. You may seriously damage the pad.
- Be sure to feed water to the abrasive disc during operation. Failure to do so may cause breakage to the tool.
- The maximum permitted pressure of water supply is 7 bar
Make sure that the cock is closed. Connect the hose to the tool. Make sure that water comes out when the water lever is opened. Hold the tool firmly. Turn the tool on and then apply the abrasive disc to the work piece. Apply slight pressure only. Excessive pressure will result in poor performance and premature wear to abrasive disc.
MAINTENANCE
CAUTION:
- Always be sure that the tool is switched off and unplugged before attempting to perform inspection or maintenance
NOTICE:
- Never use gasoline, benzine, thinner, alcohol or the like. Discoloration, deformation or cracks may result.

Fig.11: 1. Exhaust vent 2. Inhalation vent The tool and its air vents have to be kept clean. Regularly clean the tool’s air vents or whenever the vents start to become obstructed.
Replacing dust cover brush (Accessory)

Fig.12
Replace the brush on the dust cover shortly after its tip is damaged. To replace the brush, slide it in the direction of arrow as shown in the figure. The dust cover is used to reduce the risk of dust intrusion into tool body. Be sure to use the tool with the dust cover in place when operating. Should it be damaged, replace it with new one without fail. Long use and operation of the tool using much water causes buildup of dust inside the tool. To maintain the product safety and operate the tool with high efficiency, always check the exhaust vent at the back of tool. When you find buildup of dust in that area, ask Makita service center for cleaning inside of the tool. Never disassemble or clean the inside of the tool by yourself. Early request for cleaning is recommended at all times. To maintain product SAFETY and RELIABILITY, repairs, carbon brush inspection and replacement, any other maintenance or adjustment should be performed by Makita Authorized Service Centers, always using Makita replacement parts.
OPTIONAL ACCESSORIES
CAUTION:
- These accessories or attachments are recommended for use with your Makita tool specified in this manual. The use of any other accessories or attachments might present a risk of injury to persons. Only use accessory or attachment for its stated purpose.
If you need any assistance for more details regarding these accessories, ask your local Makita Service Center.
- Abrasive discs
- Side grip
- Rubber pad
NOTE:
- Some items in the list may be included in the tool package as standard accessories. They may differ from country to country
Makita Corporation 3-11-8, Sumiyoshi-cho,Anjo, Aichi 446-8502 Japan www.makita.com



















