SAMSUNG MICRO LED 110 Inch MS1A Micro Large TV User Manual
Before Reading This User Manual
This MICRO LED comes with this User Manual and an embedded e-Manual
(
> Settings > e-Manual). On the website (www.samsung.com), you can download the manuals and see its contents on your PC or mobile device.
Warning! Important Safety Instructions
Please read the Safety Instructions before using your MICRO LED. Refer to the table below for an explanation of symbols which may be on your Samsung product.
CAUTION
RISK OF ELECTRIC SHOCK. DO NOT OPEN.
CAUTION: TO REDUCE THE RISK OF ELECTRIC SHOCK, DO NOT REMOVE COVER (OR BACK). THERE ARE NO USER SERVICEABLE PARTS INSIDE. REFER ALL SERVICING TO QUALIFIED PERSONNEL.

This symbol indicates that high voltage is present inside. It is dangerous to make any kind of contact with any internal part of this product.

This symbol indicates that this product has included important literature concerning operation and maintenance.

Class II product: This symbol indicates that a safety connection to electrical earth (ground) is not required. If this symbol is not present on a product with a power cord, the product MUST have a reliable connection to protective earth (ground).
![]()
AC voltage: Rated voltage marked with this symbol is AC voltage.
![]()
DC voltage: Rated voltage marked with this symbol is DC voltage.

Caution. Consult instructions for use: This symbol instructs the user to consult the user manual for further safety related information.
Power
- Do not overload wall outlets, extension cords, or adaptors beyond their voltage and capacity. It may cause fire or electric shock. Refer to the power specifications section of the manual and/or the power supply label on the product for voltage and amperage information.
- Power-supply cords should be placed so that they are not likely to be walked on or pinched by items placed upon or against them. Pay particular attention to cords at the plug end, at wall outlets, and at the point where they exit from the appliance.
- Never insert anything metallic into the open parts of this apparatus. This may cause electric shock.
- To avoid electric shock, never touch the inside of this apparatus. Only a qualified technician should open this apparatus.
- Be sure to plug in the power cord until it is firmly seated. When unplugging the power cord from a wall outlet, always pull on the power cord’s plug. Never unplug it by pulling on the power cord. Do not touch the power cord with wet hands.
- If this apparatus does not operate normally – in particular, if there are any unusual sounds or smells coming from it – unplug it immediately and contact an authorized dealer or Samsung service center.
- To protect this apparatus from a lightning storm, or to leave it unattended and unused for a long time (especially when a kid, the elderly, or the disabled is left alone), be sure to unplug it from the wall outlet and disconnect the antenna or cablesystem.
- Accumulated dust can cause an electric shock, an electric leakage, or a fire by causing the power cord to generate sparks and heat or by causing the insulation to deteriorate.
- Use only a properly grounded plug and wall outlet.
- An improper ground may cause electric shock or equipment damage. (Class l Equipment only.)
- To turn off this apparatus completely, disconnect it from the wall outlet. To ensure you can unplug this apparatus quickly if necessary, make sure that the wall outlet and power plug are readily accessible.
Installation
- Do not place this apparatus near or over a radiator or heat register, or where it is exposed to direct sunlight.
- Do not place vessels (vases etc.) containing water on this apparatus, as this can result in a fire or electric shock.
- Do not expose this apparatus to rain or moisture.
- Be sure to contact an authorized Samsung service center for information if you intend to install your MICRO LED in a location with heavy dust, high or low temperatures, high humidity, chemical substances, or where it will operate 24 hours a day such as in an airport, a train station, etc. Failure to do so may lead to serious damage to your MICRO LED.
- Do not expose this apparatus to dripping or splashing.
- This MICRO LED is a consumer product designed for installation in a Home Environment only. Any installation other than a Home environment, e.g: Private Vessel (Including Yacht) or Private Plane or outdoors may invalidate the warranty.
Installing as Wall Mount
- Please refer to the Installation Guide of the Wall Mount for details on attaching the Wall Mount.
- You can install a VESA wall mount. However, it is recommended to use the wall mount that is provided by default.
- When installing a VESA wall mount, it is recommended to first fasten all four VESA screws.
Mounting the MICRO LED on a wall
If you mount this MICRO LED on a wall, followthe instructions exactly as set out by the manufacturer. If it is not correctly mounted, the MICRO LED may slide or fall and cause serious injury to a child or adult and serious damage to the MICRO LED.
- Samsung Electronics is not responsible for any damage to the product or injury to yourself or others if you choose to install the wall mount on your own.
- Samsung is not liable for product damage or personal injury when a non-VESA or non-specified wall mount is used or when the consumer fails to follow the product installation instructions.
- You can install your wall mount on a solid wall perpendicular to the floor. Before attaching the wall mount to surfaces other than plaster board, contact your nearest dealer for additional information. If you install the MICRO LED on a ceiling or slanted wall, it may fall and result in severe personal injury
- When installing a wall mount kit, we recommend you fasten all four VESA screws.
- Do not install the MICRO LED set with being tilted.
Do not install your wall mount kit while yourMICRO LED is turned on. This may result in personal injury from electric shock.
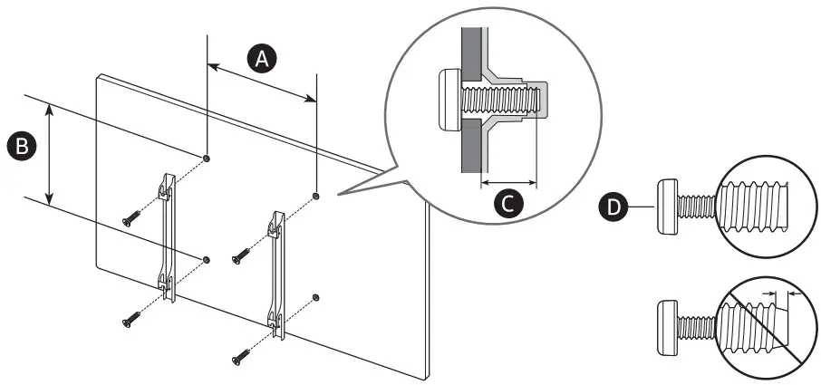
- Do not use screws that are longer than the standard dimension or do not comply with the VESA standard screw specifications. Screws that are too long may cause damage to the inside of the MICRO LED set.
- For wall mounts that do not comply with the VESA standard screw specifications, the length of the screws may differ depending on the wall mount specifications.
- Do not fasten the screws too firmly. This may damage the product or cause the product to fall, leading to personal injury. Samsung is not liable for these kinds of accidents.
- Always have four people mount the MICRO LED onto a wall.
Wall Mount Specifications (VESA)
| MICRO LED size in inches | 110 |
| VESA screw hole specs ( x ) (mm) | 800 x 800 |
| C (mm) | 10 |
| D x 4 | M8 |
Providing proper ventilation for your MICRO LED When you install your MICRO LED and One Connect Box, maintain a distance of at least 4 inches (10 cm) between the MICRO LED, One Connect Box, and other objects (walls, cabinet sides, etc.) to ensure proper ventilation. Failing to maintain proper ventilation may result in a fire or a problem with the product caused by an increase in its internal temperature.
- When you install your MICRO LED with a wall mount, we strongly recommend you use parts provided by Samsung Electronics only. Using parts provided by another manufacturer may cause difficulties with the product or result in injury caused by the product falling.
Operation
- This apparatus uses batteries. In your community, there might be environmental regulations that require you to dispose of these batteries properly. Please contact your local authorities for disposal or recycling information.
- Store the accessories (remote control, batteries, or etc.) in a location safely out of the reach of children.
- Do not drop or strike the product. If the product is damaged, disconnect the power cord and contact a Samsung service center.
- Do not dispose of remote control or batteries in a fire.
- Do not short-circuit, disassemble, or overheat the batteries.
- CAUTION: There is danger of an explosion if you replace the batteries used in the remote with the wrong type of battery. Replace only with the same or equivalent type.
WARNING – TO PREVENT THE SPREAD OF FIRE, KEEP CANDLES AND OTHER ITEMS WITH OPEN FLAMES AWAY FROM THIS PRODUCT AT ALL TIMES.
Caring for the MICRO LED
- To clean this apparatus, unplug the power cord from the wall outlet and wipe the product with a soft, dry cloth. Do not use any chemicals such as wax, benzene, alcohol, thinners, insecticide, air fresheners, lubricants, or detergents. These chemicals can damage the appearance of the MICRO LED or erase the printing on the product.
- The exterior and screen of the MICRO LED can get scratched during cleaning. Be sure to wipe the exterior and screen carefully using a soft cloth to prevent scratches.
- Do not spray water or any liquid directly onto the MICRO LED. Any liquid that goes into the product may cause a failure, fire, or electric shock.
Internet security
Samsung takes a number of steps to protect its Internet compatible MICRO LEDs against unauthorized incursions and hacking. For example, certain sensitive communications between the MICRO LED and the Internet servers are encrypted. In addition, the MICRO LED’s operating system has adopted controls to prevent the installation of unauthorized applications. Although we take steps to protect your MICRO LED and personal information, no Internet-connected device or transmission is completely secure. We therefore encourage you to take additional steps to safeguard your MICRO LED, secure your Internet connection, and minimize the risk of unauthorized access. These steps are listed below:
- When Samsung releases software updates to improve the security of your MICRO LED, you should promptly install these updates. To automatically receive these updates, turn on Auto Update in the MICRO LED’s menu
(
> Settings > Support > Software Update > Auto Update). When an update is available, a popup message appears on the MICRO LED screen. Accept the software download and update by selecting Yes when prompted. Take steps to secure your wireless access point and network. Your access point’s manual should provide additional details about how to implement the following measures:- Secure your wireless access point’s management settings with a unique password to prevent unauthorized changes to security related settings.
- Implement standard encryption (e.g., WPA2 encryption) on your wireless access point to secure your wireless network signal.
- Secure access to your wireless network with a hard-toguess password.
- Confirm your access point’s firewall setting is enabled (if so equipped).
- Make sure that all your Internet-connected devices are behind your network’s firewall.
- If your access point or modem has a standby mode button, use it to disconnect your home network from the Internet when it is not in use.
- Use strong passwords for all your Internet accounts (Netflix, Facebook, etc.).
- If any unexpected messages appear on your MICRO LED screen requesting permission to link a device or enable a remote session, do NOT accept.
- Do not visit suspicious web sites and do not install any suspicious programs. We recommend that users install only those authorized apps provided by Samsung through Samsung Smart Hub.
Package Content
Make sure the following items are included with your MICRO LED.
If any items are missing, contact your dealer.
- Samsung Smart Remote
- User Manual
- Warranty Card / Regulatory Guide
- IR Cable x 4
- One Connect Power Cord
- One Connect Box
- One Connect Cable
- One Connect Cable Gender
- The items’ colors and shapes may vary depending on the models.
- Cables not included can be purchased separately.
- Check for any accessories hidden behind or in the packing materials when opening the box.
The screen can be damaged from direct pressure when handled incorrectly. As shown in the figure, make sure to use the side handles when you lift the MICRO LED.
Using the IR Cable
When using the Multi HDMI function, HDMI 1 to 4 ports can be operated via IR cable connected to each IR . Check the e-Manual ( > Settings > e-Manual) for instructions on how to use the Multi HDMI function.

Connecting the MICRO LED to the One Connect Box



Refer to the picture and connect the MICRO LED and One Connect Box with the One Connect cable provided as a component.
Do not use the One Connect Box in the upsidedown or upright position.- Make sure that the cable is not twisted during connection. Otherwise, the product performance may be degraded or the cable may be damaged.
- When arranging the remaining cable, refer to the picture above to arrange it.
Bending
Twisting
Pulling
Pressing on
Initial Setup
When you turn on your MICRO LED for the first time, it immediately starts the Initial Setup. Follow the instructions displayed on the screen and configure the MICRO LED’s basic settings to suit your viewing environment.
Using the MICRO LED Controller
You can turn on the MICRO LED with the MICRO LED Controller button at the bottom of the MICRO LED, and then use the Control menu. The Control menu appears when the MICRO LED Controller button is pressed while the MICRO LED is On.
A. Control menu
B. MICRO LED Controller button / Remote control sensor
Setting the sound sensor
You can turn on or off the sound sensor by using its switch at the bottom of the MICRO LED.
With the MICRO LED on, you can push the switch to the left to turn on the sound sensor or to the right to turn off it.
See the pop-up window on the MICRO LED to check whether the sound sensor is turned on or off
- The position and shape of the sound sensor may differ depending on the model.
- During analysis using data from the sound sensor, the data is not saved.

(Power)
Press to turn the MICRO LED on or off.
MIC / LED
Used as MIC when using voice recognition with the remote control.
Do not impact the MIC hole or use a sharp object to poke into the hole.
(Voice Assistant)
Runs Voice Assistant. Press and hold the button, say a command, and then release the button to run Voice Assistant.
The supported Voice Assistant’s languages and features may differ by geographical region.
(Color – Number button)
Each time you press this button, the colored buttons window and the virtual numeric pad are displayed alternately.
- Use this button to access additional options that are specific to the feature in use.
- Press to bring up the virtual numeric pad on the screen. Use the numeric keypad to enter numeric values. Select numbers and then select Done to enter a numeric value. Use to change the channel, enter a PIN, enter a ZIP code, etc.
(Multi View)
Press the button to directly enter the Multi View function.
Directional button (up, down, left, right)
Use to navigate the menu or move the focus to highlight items on the Home Screen.
3Select
Selects or runs a focused item. When pressed while you are watching a broadcast program, detailed program information appears
(Return)
Press to return to the previous menu. When pressed for 1 second or more, the running function is terminated. When pressed while you are watching a program, the previous channel appears.
(Smart Hub)
Press to return to the Home Screen.
(Play/pause)
When pressed, the playback controls appear. Using these controls, you can control the media content that is playing.
To use Game Bar, press and hold the button in Game Mode.
Game Bar may not be supported depending on the model or geographical area.
(Volume)
Move the button up or down to adjust the volume. To mute the sound, press the button. When pressed in and held for 1 second or more, the Accessibility Shortcuts menu appears.
(Channel)
Move the button up or down to change the channel. To see the Guide screen, press the button.
Press and hold the button up or down to quickly change the channel.
Launch app button
Launch the app indicated by the button
(Pairing)
If the Samsung Smart Remote does not pair to the MICRO LED automatically, point it at the front of the MICRO LED, and then press and hold the and buttons simultaneously for 3 seconds or more.
- Use the Samsung Smart Remote less than 20 feet (6 m) from the MICRO LED. The usable distance may vary with the wireless environmental conditions.
- The images, buttons, and functions of the Samsung Smart Remote may differ with the model or geographical area.
- The Universal Remote function operates normally only when you use the Samsung Smart Remote that comes with the MICRO LED.
Independently verified!
This product has been independently verified.
TM2180E/F
- Consumes 86% less energy than previous model
TM2180A/B
- Consumes 86% less energy than previous model
- The plastic part of 21 Smart control contains a minimum of 24% post consumer recycled Poly Ethylene Terephthalate (PET)
NO. : SE-GL-2002861
Charging the battery
A.
Solar Cell
Expose to light when the remote is not in use. This will extend the remote’s operating time.
B. USB port (C-type) for charging
Used for quick charging. The LED on the front will light when charging. When the battery is fully charged, the LED will turn off.
- The USB Cable is not provided.
- It is recommended to use an original Samsung charger. Otherwise, it may cause performance degradation or failure of the product. In this case, the warranty service is not applicable.
- When the remote control does not work due to low battery, charge it by using the USB-C type port.
Fire or explosion may occur, resulting in damage to the remote control or personal injury.
- Do not apply shock to the remote control.
- Be careful not to let foreign substances such as metal, liquid, or dust come in contact with the charging terminal of the remote control.
- When the remote control is damaged or you smell smoke or burning fumes, immediately stop operation and then repair it at the Samsung service center.
- Do not arbitrarily disassemble the remote control.
- Be careful not to let infants or pets suck or bite the remote control. Fire or explosion may occur, resulting in damage to the remote control or personal injury.
Troubleshooting and Maintenance
Troubleshooting
For more information, see “Troubleshooting” in the e-Manual. > Settings > e-Manual > Troubleshooting If none of the troubleshooting tips apply, please visit “www. samsung.com” and click Support or contact the Samsung service center.
- Due to technical limitations in the manufacturing process, some pixels of the panel may appear darker or brighter, or may flicker. However, this does not affect the product’s performance.
- Due to multiple modules of the product, a grid pattern may appear from a close distance. This is not a product defect.
- To keep your MICRO LED in optimum condition, upgrade to the latest software. Use the Update Now or Auto Update functions on the MICRO LED’s menu ( > Settings > Support > Software Update > Update Now or Auto Update).
The MICRO LED won’t turn on.
- Make sure that the AC power cord is securely plugged in to the MICRO LED, One Connect Box and the wall outlet.
- Make sure that the wall outlet is working and the remote control sensor at the bottom of the MICRO LED is lit and glowing a solid red.
- Try pressing the MICRO LED Controller button at the bottom of the MICRO LED to make sure that the problem is not with the remote control. If the MICRO LED turns on, refer to “The remote control does not work.”
The remote control does not work.
- Check if the remote control sensor at the bottom of the MICRO LED blinks when you press the remote’s Power button.
- When the remote’s battery is discharged, charge the battery using the USB charging port, or turn over the remote to expose the solar cell to light.
- Try pointing the remote directly at the MICRO LED from 5 ft. to 6 ft. (1.5-1.8 m) away.
- If your MICRO LED came with a Samsung Smart Remote (Bluetooth Remote), make sure to pair the remote to the
MICRO LED. To pair a Samsung Smart Remote, press the
+
buttons together for 10 seconds.
Eco Sensor and screen brightness
Eco Sensor adjusts the brightness of the MICRO LED automatically. This feature measures the light in your room and optimizes the brightness of the MICRO LED automatically to reduce power consumption. If you want to turn this off, go to
>
Settings > General > Power and Energy Saving > Brightness Optimization.
The eco sensor is located at the bottom of the MICRO LED. Do not block the sensor with any object. This can decrease picture brightness.
Specifications and Other Information
Specifications
| Model Name | MNA110MS1AC |
| Display Resolution | 3840 x 2160 |
| Screen Size Diagonal Measured Diagonally | 110˝ Class 109.2 inches |
| Sound (Output) | 100 W |
| Dimensions (W x H x D) Body | 95.4 x 53.7 x 1.0 inches (2422.5 x 1364.1 x 24.9 mm) |
| Weight Body | 191.8 lbs (87.0 kg) |
| Power Consumption (Mexico Only) | 1000 W |
| Power Requirements (Mexico Only) | 110-127V ~ 50/60Hz |
- Operating Temperature
10 °C to 40 °C (50 °F to 104 °F) - Operating Humidity
10 % to 80 %, non-condensing - Storage Temperature
-20 °C to 45 °C (-4 °F to 113 °F) - Storage Humidity
5 % to 95 %, non-condensing
Notes
- This device is a Class B digital apparatus.
- For information about the power supply, and more information about power consumption, refer to the information on the label attached to the product.
- On most models, the label is attached to the back of the MICRO LED.
- On One Connect Box models, the label is attached to the bottom of the One Connect Box.
- To connect a LAN cable, use a CAT 7 (*STP type) cable for the connection. (100/10 Mbps)
* Shielded Twisted Pair
* Figures and illustrations are provided for reference only and may differ from the actual product appearance. Product design and specifications may change without notice
Decreasing power consumption
When you shut the MICRO LED off, it enters Standby mode. In Standby mode, it continues to draw a small amount of power. To decrease power consumption, unplug the power cord when you don’t intend to use the MICRO LED for a long time.

Licenses

Powered By Covered by Patents at patentlist.hevcadvance.com

The terms HDMI and HDMI High-Definition Multimedia Interface, and the HDMI Logo are trademarks or registered trademarks of HDMI Licensing Administrator, Inc. in the United States and other countries.
This page is intentionally left blank.
SAMSUNG
Contact SAMSUNG WORLD WIDE
If you have any questions or comments relating to Samsung products, please contact the Samsung service center.
Country Samsung Service Center Web Site
MEXICO: 800-SAMSUNG: www.samsung.com/mx/support
(solo México)
IMPORTADO POR : SAMSUNG ELECTRONICS MÉXICO S.A. DE C.V.
General Mariano Escobedo 476, Piso 8 Col. Anzures,
Alcaldía Miguel Hidalgo, Ciudad de México CP. 11590
TEL : (55) 5747-5100 / 800 726 7864
© 2021 Samsung Electronics Co., Ltd. All rights reserved.
WARNING – TO PREVENT THE SPREAD OF FIRE, KEEP CANDLES AND OTHER ITEMS WITH OPEN FLAMES AWAY FROM THIS PRODUCT AT ALL TIMES.


















