![]()
USER MANUAL

MICRO LED
Thank you for purchasing this Samsung product.
To receive more complete service, please register your product at www.samsung.com
Model ________________ Serial No. ________________
Before Reading This User Manual
This MICRO LED comes with this User Manual and an embedded e-Manual (
>
Settings > e-Manual).
Warning! Important Safety Instructions
Please read the Safety Instructions before using your MICRO LED. Refer to the table below for an explanation of symbols which may be on your Samsung product.
CAUTION | |
RISK OF ELECTRIC SHOCK. DO NOT OPEN. | |
| CAUTION: TO REDUCE THE RISK OF ELECTRIC SHOCK, DO NOT REMOVE COVER (OR BACK). THERE ARE NO USER SERVICEABLE PARTS INSIDE. REFER ALL SERVICING TO QUALIFIED PERSONNEL. | |
| This symbol indicates that high voltage is present inside. It is dangerous to make any kind of contact with any internal part of this product. | |
| This symbol indicates that this product has included important literature concerning operation and maintenance. | |
| Class II product: This symbol indicates that a safety connection to electrical earth (ground) is not required. If this symbol is not present on a product with a mains lead, the product MUST have a reliable connection to protective earth (ground). | |
| AC voltage: Rated voltage marked with this symbol is AC voltage. | |
| DC voltage: Rated voltage marked with this symbol is DC voltage. | |
| Caution. Consult instructions for use: This symbol instructs the user to consult the user manual for further safety related information. | |
Power
- Do not overload wall outlets, extension cords, or adaptors beyond their voltage and capacity. It may cause fire or electric shock.
Refer to the power specifications section of the manual and/ or the power supply label on the product for voltage and amperage information. - Power-supply cords should be placed so that they are not likely to be walked on or pinched by items placed upon or against them. Pay particular attention to cords at the plug end, at wall outlets, and at the point where they exit from the appliance.
- Never insert anything metallic into the open parts of this apparatus. This may cause electric shock.
- To avoid electric shock, never touch the inside of this apparatus. Only a qualified technician should open this apparatus.
- Be sure to plug in the power cord until it is firmly seated. When unplugging the power cord from a wall outlet, always pull on the power cord’s plug. Never unplug it by pulling on the power cord. Do not touch the power cord with wet hands.
- If this apparatus does not operate normally – in particular, if there are any unusual sounds or smells coming from it unplug it immediately and contact an authorised dealer or Samsung service centre.
- To protect this apparatus from a lightning storm, or to leave it unattended and unused for a long time, be sure to unplug it from the wall outlet and disconnect the antenna or cable system.
– Accumulated dust can cause an electric shock, an electric leakage, or a fire by causing the power cord to generate sparks and heat or by causing the insulation to deteriorate. - Use only a properly grounded plug and wall outlet.
– An improper ground may cause electric shock or equipment damage. (Class l Equipment only.) - To turn off this apparatus completely, disconnect it from the wall outlet. To ensure you can unplug this apparatus quickly if necessary, make sure that the wall outlet and power plug are readily accessible.
Installation
- Do not place this apparatus near or over a radiator or heat register, or where it is exposed to direct sunlight.
- Do not place vessels (vases etc.) containing water on this apparatus, as this can result in a fire or electric shock.
- Do not expose this apparatus to rain or moisture.
- Be sure to contact an authorised Samsung service centre for information if you intend to install your MICRO LED in a location with heavy dust, high or low temperatures, high humidity, chemical substances, or where it will operate 24 hours a day such as in an airport, a train station, etc. Failure to do so may lead to serious damage to your MICRO LED.
- Do not expose this apparatus to dripping or splashing.
- This MICRO LED is a consumer product designed for installation in a Home Environment only. Any installation other than a Home environment, e.g: Private Vessel (Including Yacht) or Private Plane or outdoors may invalidate the warranty.
Installing as Wall Mount
- Please refer to the Installation Guide of the Wall Mount for details on attaching the Wall Mount.
- You can install a VESA wall mount. However, it is recommended to use the wall mount that is provided by default.
- When installing a VESA wall mount, it is recommended to first fasten all four VESA screws.
Mounting the MICRO LED on a wall
If you mount this MICRO LED on a wall, follow the instructions exactly as set out by the manufacturer. If it is not correctly mounted, the MICRO LED may slide or fall and cause serious injury to a child or adult and serious damage to the MICRO LED.
- Samsung is not responsible for any damage to the product or injury to yourself or others if you choose to install the wall mount on your own.
- Samsung is not liable for product damage or personal injury when a non-VESA or non-specified wall mount is used or when the consumer fails to follow the product installation instructions.
- You can install your wall mount on a solid wall perpendicular to the floor. Before attaching the wall mount to surfaces other than plaster board, contact your nearest dealer for additional information. If you install the MICRO LED on a ceiling or slanted wall, it may fall and result in severe personal injury.
- When installing a wall mount kit, we recommend you fasten all four VESA screws.
- Do not install the MICRO LED set with being tilted.
Do not install your wall mount kit while your MICRO LED is turned on. This may result in personal injury from electric shock.
- Do not use screws that are longer than the standard dimension or do not comply with the VESA standard screw specifications. Screws that are too long may cause damage to the inside of the MICRO LED set.
- For wall mounts that do not comply with the VESA standard screw specifications, the length of the screws may differ depending on the wall mount specifications.
- Do not fasten the screws too firmly. This may damage the product or cause the product to fall, leading to personal injury. Samsung is not liable for these kinds of accidents.
- Always have four people mount the MICRO LED onto a wall.
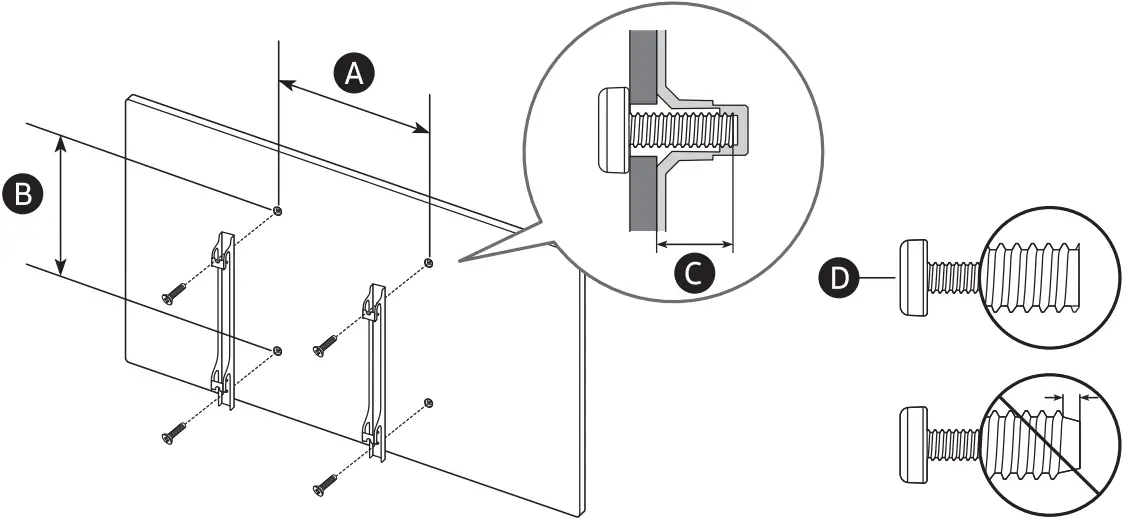
Wall Mount Specifications (VESA)

| MICRO LEDsize in inches | 110 |
| VESA screw hole specs ((A) x (B)) (mm) | 800 x 800 |
| (C) (mm) | 10 |
| (D) x 4 | M8 |
Providing proper ventilation for your MICRO LED
When you install your MICRO LED and One Connect Box, maintain a distance of at least 10 cm between the MICRO LED, One Connect Box, and other objects (walls, cabinet sides, etc.) to ensure proper ventilation. Failing to maintain proper ventilation may result in a fire or a problem with the product caused by an increase in its internal temperature.
- When you install your MICRO LED with a wall mount, we strongly recommend you use parts provided by Samsung only. Using parts provided by another manufacturer may cause difficulties with the product or result in injury caused by the product falling.
Operation
- This apparatus uses batteries. In your community, there might be environmental regulations that require you to dispose of these batteries properly. Please contact your local authorities for disposal or recycling information.
- Store the accessories (remote control, batteries, or etc.) in a location safely out of the reach of children.
- Do not drop or strike the product. If the product is damaged, disconnect the power cord and contact a Samsung service centre.
- Do not dispose of remote control or batteries in a fire.
- Do not short-circuit, disassemble, or overheat the batteries.
- CAUTION: There is danger of an explosion if you replace the batteries used in the remote with the wrong type of battery. Replace only with the same or equivalent type.
WARNING – TO PREVENT THE SPREAD OF FIRE, KEEP CANDLES AND OTHER ITEMS WITH OPEN FLAMES AWAY FROM THIS PRODUCT AT ALL TIMES.
Caring for the MICRO LED
- To clean this apparatus, unplug the power cord from the wall outlet and wipe the product with a soft, dry cloth. Do not use any chemicals such as wax, benzene, alcohol, thinners, insecticide, aerial fresheners, lubricants, or detergents. These chemicals can damage the appearance of the MICRO LED or erase the printing on the product.
- The exterior and screen of the MICRO LED can get scratched during cleaning. Be sure to wipe the exterior and screen carefully using a soft cloth to prevent scratches.
- Do not spray water or any liquid directly onto the MICRO LED. Any liquid that goes into the product may cause a failure, fire, or electric shock.
01 What’s in the Box?
Make sure the following items are included with your MICRO LED.
If any items are missing, contact your dealer.
- Samsung Smart Remote
- User Manual
- Warranty Card / Regulatory Guide (Not available in some locations)
- MICRO LED Power Cable x 3
- IR Cable x 4
- One Connect Box
- One Connect Power Cable x 2
- One Connect Cable
- One Connect Cable Gender
- The provided cables may differ depending on the country. Be sure to use the power cable that is suitable for your region.
- The type of battery may vary depending on the model.
- The items’ colours and shapes may vary depending on the models.
- Cables not included can be purchased separately.
- Check for any accessories hidden behind or in the packing materials when opening the box.
Warning: Screens can be damaged from direct pressure when handled incorrectly. As shown in the figure, make sure to use the side handles when you lift the MICRO LED.

- Do Not Touch This Screen!
Using the IR Cable
When using the Multi HDMI function, HDMI
1 to 4 ports can be operated via IR cable connected to each IR
. Check the e-Manual (
>
Settings > e-Manual) for instructions on how to use the Multi HDMI function.

IR ( | 1 ( | 2 ( | 3 ( | 4 ( |
HDMI ( | 1 ( | 2 ( | 3 ( | 4 ( |
02 Connecting the MICRO LED to the One Connect Box

(a) MICRO LED
(b) One Connect Box

Refer to the picture and connect the MICRO LED and One Connect Box with the One Connect cable provided as a component.
![]()
- Do not use the One Connect Box in the upside-down or upright position.
- Make sure that the cable is not twisted during connection. Otherwise, the product performance may be degraded or the cable may be damaged.
- When arranging the remaining cable, refer to the picture above to arrange it.

Bending Twisting Pulling Pressing on
03 Initial Setup
When you turn on your MICRO LED for the first time, it immediately starts the Initial Setup. Follow the instructions displayed on the screen and configure the MICRO LED’s basic settings to suit your viewing environment.
Using the MICRO LED Controller
You can turn on the MICRO LED with the MICRO LED Controller button at the bottom of the MICRO LED, and then use the Control menu. The Control menu appears when the MICRO LED Controller button is pressed while the MICRO LED is On.

(A) Control menu
(B) MICRO LED Controller button / Remote control sensor
Setting the sound sensor
You can turn on or off the sound sensor by using its switch at the bottom of the MICRO LED.
With the MICRO LED on, you can push the switch to the left to turn on the sound sensor or to the right to turn off it.
See the pop-up window on the MICRO LED to check whether the sound sensor is turned on or off.
- The position and shape of the sound sensor may differ depending on the model.
- During analysis using data from the sound sensor, the data is not saved.

(Power)
Press to turn the MICRO LED on or off.
(1) MIC / LED
Used as MIC when using voice recognition with the remote control.
- Do not impact the MIC hole or use a sharp object to poke into the hole.
(Voice Assistant)
Runs Voice Assistant. Press and hold the button, say a command, and then release the button to run Voice Assistant.
- The supported Voice Assistant’s languages and features may differ by geographical region.
(Colour / Number button)
Each time you press this button, the coloured buttons window and the virtual numeric pad are displayed alternately.
- Use these coloured buttons to access additional options specific to the feature you are using.
- Press to bring up the virtual numeric pad on the screen. Use the numeric keypad to enter numeric values. Select numbers and then select Done to enter a numeric value. Use to change the channel, enter a PIN, enter a ZIP code, etc.
(Multi View)
Press the button to enter Multi View Mode.
(2) Directional button (up, down, left, right)
Moves the focus and changes the values seen on the MICRO LED’s menu.
(3) Select
Selects or runs a focused item. When pressed while you are watching a broadcast programme, detailed programme information appears.
(Return)
Press to return to the previous menu. When pressed for 1 second or more, the running function is terminated. When pressed while you are watching a programme, the previous channel appears.
(Smart Hub)
Press to return to the Home Screen.
(Play/pause)
When pressed, the playback controls appear. Using these controls, you can control the media content that is playing.
To use Game Bar, press and hold the button in Game Mode.
- Game Bar may not be supported depending on the model or geographical area.
+/- (Volume)
Move the button up or down to adjust the volume. To mute the sound, press the button. When pressed for 1 second or more, the Accessibility Shortcuts menu appears.
(Channel)
Move the button up or down to change the channel. To see the Guide screen, press the button. When pressed for 1 second or more, the Channel List screen appears.
(4) Launch app button
Press each button to run its function. (These buttons may vary depending on the geographical area.)
+
(Pairing)
If the Samsung Smart Remote does not pair to the MICRO LED automatically, point it at the front of the MICRO LED, and then press and hold the
and
buttons simultaneously for 3 seconds or more.
– Use the Samsung Smart Remote less than 6 m from the MICRO LED. The usable distance may vary with the wireless environmental conditions.
– The images, buttons, and functions of the Samsung Smart Remote may differ with the model or geographical area.
– The Universal Remote function operates normally only when you use the Samsung Smart Remote that comes with the MICRO LED.


THE PLASTIC PART OF
21 SOLAR SMART CONTROL
CONTAINS A MINIMUM OF
24% POST-CONSUMER
RECYCLED
POLYCARBONATE (PC)
UL.COM/ECV
| Independently verified! | ![]() |
| This product has been independently verified. TM2180E/F – Consumes 86% less energy than previous model TM2180A/B – Consumes 86% less energy than previous model – The plastic part of 21 Smart control contains a minimum of 24% post consumer recycled Poly Ethylene Terephthalate (PET) | |
| www.intertek.com/consumer/certified | |
| NO. : SE-GL-2002861 |
Charging the battery

(A)
Solar Cell
Expose to light when the remote is not in use. This will extend the remote’s operating time.
(B) USB port (C-type) for charging
Used for quick charging. The LED on the front will light when charging. When the battery is fully charged, the LED will turn off.
- The USB Cable is not provided.
– It is recommended to use an original Samsung charger.
Otherwise, it may cause performance degradation or failure of the product. In this case, the warranty service is not applicable.
– When the remote control does not work due to low battery, charge it by using the USB-C type port.
Fire or explosion may occur, resulting in damage to the remote control or personal injury.
- Do not apply shock to the remote control.
- Be careful not to let foreign substances such as metal, liquid, or dust come in contact with the charging terminal of the remote control.
- When the remote control is damaged or you smell smoke or burning fumes, immediately stop operation and then repair it at the Samsung service centre.
- Do not arbitrarily disassemble the remote control.
- Be careful not to let infants or pets suck or bite the remote control. Fire or explosion may occur, resulting in damage to the remote control or personal injury.
05 Troubleshooting and Maintenance
Troubleshooting
For more information, see “Troubleshooting” in the e-Manual.
>
Settings > e-Manual > Troubleshooting
If none of the troubleshooting tips apply, please visit “www.samsung.com” and click Support or contact the Samsung service centre.
- Due to technical limitations in the manufacturing process, some pixels of the panel may appear darker or brighter, or may flicker. However, this does not affect the product’s performance.
- Due to multiple modules of the product, a grid pattern may appear from a close distance. This is not a product defect.
- To keep your MICRO LED in optimum condition, upgrade to the latest software. Use the Update Now or Auto update functions on the MICRO LED’s menu (
>
Settings > Support > Software Update > Update Now or Auto update).
The MICRO LED won’t turn on.
- Make sure that the AC power cable is securely plugged in to the MICRO LED, One Connect Box and the wall outlet.
- Make sure that the wall outlet is working and the remote control sensor at the bottom of the MICRO LED is lit and glowing a solid red.
- Try pressing the MICRO LED Controller button at the bottom of the MICRO LED to make sure that the problem is not with the remote control. If the MICRO LED turns on, refer to “The remote control does not work”.
The remote control does not work.
- Check if the remote control sensor at the bottom of the MICRO LED blinks when you press the remote’s Power button.
– When the remote’s battery is discharged, charge the battery using the USB charging port, or turn over the remote to expose the solar cell to light. - Try pointing the remote directly at the MICRO LED from 1.5-1.8 m away.
- If your MICRO LED came with a Samsung Smart Remote (Bluetooth Remote), make sure to pair the remote to the MICRO LED. To pair a Samsung Smart Remote, press the
+
buttons together for 10 seconds.
Eco Sensor and screen brightness
Eco Sensor adjusts the brightness of the MICRO LED automatically. This feature measures the light in your room and optimises the brightness of the MICRO LED automatically to reduce power consumption. If you want to turn this off, go to
>
Settings > General > Power and Energy Saving > Brightness Optimisation.
- The eco sensor is located at the bottom of the MICRO LED. Do not block the sensor with any object. This can decrease picture brightness.
06 Specifications and Other Information
Specifications
| Model Name | MNA110MS1AC |
| Display Resolution | 3840 x 2160 |
| Screen Size Diagonal Measured Diagonally | 110 inches 277.5 cm |
| Sound (Output) | 100 W |
| Dimensions (W x H x D) Body | 2422.5 x 1364.1 x 24.9 mm |
| Weight Body | 87.0 kg |
Operating Temperature
10 °C to 40 °C (50 °F to 104 °F)
Operating Humidity
10 % to 80 %, non-condensing
Storage Temperature
-20 °C to 45 °C (-4 °F to 113 °F)
Storage Humidity
5 % to 95 %, non-condensing
Notes
- This device is a Class B digital apparatus.
- For information about the power supply, and more information about power consumption, refer to the information on the label attached to the product.
– On most models, the label is attached to the back of the MICRO LED.
– On One Connect Box models, the label is attached to the bottom of the One Connect Box. - Typical power consumption is measured according to IEC 62087.
- To connect a LAN cable, use a CAT 7 (*STP type) cable for the connection. (100/10 Mbps)
* Shielded Twisted Pair - An administration fee may be charged in the following situations:
(a) An engineer is called out at your request, but it is found that the product has no defect (i.e., where the user manual has not been read).
(b) You bring the unit to the Samsung service centre, but it is found that the product has no defect (i.e., where the user manual has not been read). - You will be informed of the administration fee amount before a technician visits.
* Figures and illustrations in this User Manual are provided for reference only and may differ from the actual product appearance. Product design and specifications may change without notice.
Following the repair by a non-authorised service provider, self-repair or non-professional repair of the product, Samsung is not liable for any damage to the product, any injury or any other product safety issue caused by any attempt to repair the product which does not carefully follow these repair and maintenance instructions. Any damage to the product caused by an attempt to repair the product by any person other than a Samsung certified service provider will not be covered by the warranty.
Please visit samsung.com/support to find futher information about external power adapter and remote control associated with EU Ecodesign directive – ErP regulation
Decreasing power consumption
When you shut the MICRO LED off, it enters Standby mode. In Standby mode, it continues to draw a small amount of power. To decrease power consumption, unplug the power cord when you don’t intend to use the MICRO LED for a long time.
Licences
![]()



![]()
The terms HDMI and HDMI High-Definition Multimedia Interface, and the HDMI Logo are trademarks or registered trademarks of HDMI Licensing Administrator, Inc. in the United States and other countries.
Hereby, Samsung declares that this radio equipment is in compliance with Directive 2014/53/EU and the relevant UK statutory requirements.
The full text of the declaration of conformity is available at the following internet address:
http://www.samsung.com go to Support and enter the model name.
This equipment may be operated in all EU countries and in the UK.
The 5 GHz WLAN(Wi-Fi) function of this equipment may only be operated indoors.
BT max transmitter power : 100mW at 2.4GHz – 2.4835GHz
Wi-Fi max transmitter power : 100mW at 2.4GHz-2.4835GHz, 200mW at 5.15GHz-5.25GHz, 100mW 5.25GHz-5.35GHz & 5.47GHz – 5.725GHz
Correct Disposal of This Product (Waste Electrical & Electronic Equipment)
(Applicable in countries with separate collection systems)
This marking on the product, accessories or literature indicates that the product and its electronic accessories (e.g. charger, headset, USB cable) should not be disposed of with other household waste at the end of their working life. To prevent possible harm to the environment or human health from uncontrolled waste disposal, please separate these items from other types of waste and recycle them responsibly to promote the sustainable reuse of material resources.
Household users should contact either the retailer where they purchased this product, or their local government office, for details of where and how they can take these items for environmentally safe recycling.
Business users should contact their supplier and check the terms and conditions of the purchase contract. This product and its electronic accessories should not be mixed with other commercial wastes for disposal.
Correct disposal of the batteries in this product
(Applicable in countries with separate collection systems)
The marking on the battery, manual or packaging indicates that the battery in this product should not be disposed of with other household waste. Where marked, the chemical symbols Hg, Cd or Pb indicate that the battery contains mercury, cadmium or lead above the reference levels in EC Directive 2006/66.
The battery incorporated in this product is not user replaceable.
For information on its replacement, please contact your service provider. Do not attempt to remove the battery or dispose it in a fire. Do not disassemble, crush, or puncture the battery. If you intend to discard the product, the waste collection site will take the appropriate measures for the recycling and treatment of the product, including the battery.
Removing the battery
- To remove the battery, contact an authorised service centre. To obtain battery removal instructions, please visit www.samsung.com/global/ecodesign_energy.
- For your safety, you must not attempt to remove the battery. If the battery is not properly removed, it may lead to damage to the battery and device, cause personal injury, and/or result in the device being unsafe.
Contact SAMSUNG WORLD WIDE
If you have any questions or comments relating to Samsung products, please contact the Samsung service centre.
| Country | Samsung Service Centre | Web Site |
| ROMANIA | 0800872678 – Apel gratuit *8000 – Apel tarifat în reţea Program Call Center Luni – Vineri: 9 AM – 6 PM | www.samsung.com/ro/support |
| SERBIA | 011 321 6899 | www.samsung.com/rs/support |
| KOSOVO | 038 40 30 90 | www.samsung.com/support |
| SLOVAKIA | 0800 – SAMSUNG (0800-726 786) | www.samsung.com/sk/support |
| SPAIN | 91 175 00 15 | www.samsung.com/es/support |
| SWEDEN | 0771-400 300 | www.samsung.com/se/support |
| SWITZERLAND | 0800 726 786 | www.samsung.com/ch/support (German) www.samsung.com/ch_fr/support (French) |
| UK | 0333 000 0333 | www.samsung.com/uk/support |
| IRELAND (EIRE) | 0818 717100 | www.samsung.com/ie/support |
| LITHUANIA | 8-800-77777 | www.samsung.com/lt/support |
| LATVIA | 8000-7267 | www.samsung.com/lv/support |
| ESTONIA | 800-7267 | www.samsung.com/ee/support |
| TÜRKİYE | 444 77 11 | www.samsung.com/tr/support |
![]()


Contact SAMSUNG WORLD WIDE
If you have any questions or comments relating to Samsung products, please contact the Samsung service centre.
| Country | Samsung Service Centre | Web Site |
| AUSTRIA | 0800 72 67 864 (0800-SAMSUNG) | www.samsung.com/at/support |
| BELGIUM | 02-201-24-18 | www.samsung.com/be/support (Dutch) www.samsung.com/be_fr/support (French) |
| BOSNIA | 055 233 999 | www.samsung.com/ba/support |
| ALBANIA | 045 620 202 | www.samsung.com/al/support |
| BULGARIA | 0800 111 31 – Безплатен за всички оператори *3000 – Цена на един градски разговор или според тарифата на мобилният оператор 09:00 до 18:00 – Понеделник до Петък | www.samsung.com/bg/support |
| CROATIA | 072 726 786 | www.samsung.com/hr/support |
| CZECH | 800 – SAMSUNG (800-726786) | www.samsung.com/cz/support |
| Samsung Electronics Czech and Slovak, s.r.o. V Parku 2323/14, 148 00 – Praha 4 | ||
| DENMARK | 707 019 70 | www.samsung.com/dk/support |
| FINLAND | 030-6227 515 | www.samsung.com/fi/support |
| FRANCE | 01 48 63 00 00 | www.samsung.com/fr/support |
| GERMANY | 06196 77 555 77 | www.samsung.com/de/support |
| CYPRUS | 8009 4000 only from landline, toll free | www.samsung.com/gr/support |
| GREECE | 80111-SAMSUNG (80111 726 7864) only from land line (+30) 210 6897691 from mobile and land line | |
| HUNGARY | 0680SAMSUNG (0680-726-7864) | www.samsung.com/hu/support |
| ITALIA | 800-SAMSUNG (800.7267864) | www.samsung.com/it/support |
| LUXEMBURG | 261 03 710 | www.samsung.com/be_fr/support |
| NORTH MACEDONIA | 023 207 777 | www.samsung.com/mk/support |
| MONTENEGRO | 020 405 888 | www.samsung.com/support |
| SLOVENIA | 080 697 267 (brezplačna številka) | www.samsung.com/si/support |
| NETHERLANDS | 088 90 90 100 | www.samsung.com/nl/support |
| NORWAY | 21629099 | www.samsung.com/no/support |
| POLAND | 801-172-678* lub +48 22 607-93-33* * (opłata według taryfy operatora) | www.samsung.com/pl/support |
| PORTUGAL | 210 608 098 | www.samsung.com/pt/support |
© 2021 Samsung Electronics Co., Ltd. All rights reserved.
References
Samsung US | Mobile | TV | Home Electronics | Home Appliances | Samsung US
Ayuda y soporte del producto | Samsung ES
SAMSUNG
Hulp en ondersteuning voor producten | Samsung Nederland
Support Home | Official Samsung Support US
Produktdesign och Support | Samsung Sverige
Samsung US | Mobile | TV | Home Electronics | Home Appliances | Samsung US
Samsung US | Mobile | TV | Home Electronics | Home Appliances | Samsung US
Ndihma dhe mbështetja për produktet | Samsung Albania
Hilfe & Support für Produkte | Samsung Österreich
Pomoć i podrška za proizvode | Samsung BA
Aide et assistance produit | Samsung Belgique
Hulp en ondersteuning voor producten | Samsung België
Помощ и поддръжка за продукти | Samsung България
Aide et support pour le produit | Samsung Suisse
Produkthilfe & Support | Samsung CH
Podpora a nápověda k produktům | Samsung Česká republika
Hilfe und Support für Samsung Produkte | Samsung DE
Produkt Hjælp & Support | Samsung DK
Toodete abi ja tugi | Samsung EE
Ayuda y soporte del producto | Samsung ES
Tuoteohjeet ja tuki | Samsung Suomi
Aide et assistance produit | Samsung France
SAMSUNG
Βοήθεια και υποστήριξη προϊόντων | Samsung Greece
Pomoć i podrška za proizvode | Samsung Hrvatska
Terméktámogatás | Samsung Magyarország
Product Help & Support | Samsung Ireland
Aiuto e servizio di assistenza per i prodotti | Samsung Italia
Produktų pagalba ir palaikymas | Samsung Lietuva
Ar produktiem saistīta palīdzība un atbalsts | Samsung Latvija
Помош и поддршка за производи | Samsung Северна Македонија
Hulp en ondersteuning voor producten | Samsung Nederland
Produkt Hjelp og støtte | Samsung Norge
Pomoc dotycząca produktu | Samsung PL
WARNING – TO PREVENT THE SPREAD OF FIRE, KEEP CANDLES AND OTHER ITEMS WITH OPEN FLAMES AWAY FROM THIS PRODUCT AT ALL TIMES.



















