virtufit VFKSHG-KH1 Krachtstation Homegym User Manual
SAFETY INSTRUCTIONS
WARNING
Consult your doctor before you start exercising. This is particularly important for people with health problems. Please read all instructions before using the machine. VirtuFit assumes no responsibility for injury or property damage resulting from the use of this equipment. Please read this manual carefully before assembling and/or using the machine.
- Make sure that the machine is properly assembled and that all nuts and bolts are tight before using it.
- Lubricate all moving parts annually with petroleum jelly (acidfree) or silicone spray.
- Do not wear loose clothing to avoid getting caught in moving parts.
- Install and use the unit on a solid, level surface.
- Always wear clean sports shoes when using the appliance.
- Keep children and pets away from the appliance when in use.
- Maintain your balance when using the device.
- Do not place your fingers or other objects in the moving parts.
- Before exercising, consult your physician to determine theappropriate frequency, duration and intensity of exercise for your age and physical condition. Stop exercising immediately if you experience nausea, shortness of breath, fainting, headache, chest pain, tightness or any other discomfort.
- Do not hold the machine by the seat when moving. This machine should only be used by one person at a time.
- This machine is designed for domestic use and the maximum user weight is 135 kg.
- Leave 1-2 metres of space behind the machine to avoid accidents.
- Place the machine on a clean, flat surface. Do not place it on a thick carpet, as this may hinder the ventilation of the machine. Do not place the machine outdoors or near water.
- Keep the storage area dry, clean and level to prevent damage. Do not use the device for any purpose other than training.
- Use the device only in an environment where the ambient temperature is between 10°C and 35°C. Store the device only in an environment where the temperature is between 5°C and 45°C.
GUARANTEE
Warranty claims are excluded if the cause of the defect is the result of:
- Maintenance and repair work not carried out by an official dealer.
- Improper use, negligence and/or poor maintenance.
- Failure to maintain the appliance in accordance with the manufacturer’s instructions.
ASSEMBLY INSTRUCTIONS (STEP 01-09)









Packaging: Remove all parts from the box and place them on the ground. Leave all washers, bolts and nuts in the package so that part numbers are not confused and the overview is preserved.
Missing parts: If any parts are missing from the packaging, carefully check the polystyrene foam and the appliance itself. Some parts (bolts, screws, etc.) are already attached to the unit.
Hex head bolts: Make sure that the hex head spanner is pushed into the bolt before applying force. This will prevent the head of the socket bolt from turning.
MAINTENANCE
Safe and efficient use can only be achieved if the appliance is properly installed and maintained. It is your responsibility to ensure that the appliance is maintained regularly. Parts that have been used and/or damaged must be replaced before the appliance is used again. The appliance should only be used and stored indoors. Long-term exposure to weather and temperature/humidity changes can have a serious impact on the electrical components and moving parts of the unit. Always unplug the power cord from the unit before cleaning or servicing it.
Daily maintenance
- Clean and remove sweat and moisture after each use.
- Check that the unit is free of dust and dirt.
- Do not use aggressive cleaning agents and keep the device away from moisture.
Semi-annual maintenance
- Clean and remove sweat and moisture after each use.
- Check that the unit is free of dust and dirt.
- Do not use aggressive cleaning agents and keep the device away from moisture.
CAUTION! All repairs must be performed by a professional technician, unless otherwise specified by the supplier or manufacturer.
Cleaning
General cleaning of the machine will prolong its life. Keep the machine clean by dusting it regularly.
Regular maintenance extends the life of your machine and prevents accidents! For more information, please visit https://www.virtufit.nl/service/faq/
CAUTION! Wear clean shoes to reduce the risk of soiling the machine.
TRAINING GUIDELINES (FIG. A, 1-5)

A successful training program includes a warm-up, the actual training and a cool-down. Perform the complete training program at least twice, but preferably three times a week and keep a rest day between training sessions. After a few months, the intensity of the training can be increased, for example to four or five times a week.
The warm-up
The purpose of a warm-up is to prepare the body for training and to reduce the risk of injury. Warm up your body for two to five minutes before starting a cardio or strength training session. Do exercises that increase the heart rate and warm up the working muscles. Examples of this type of activity are running, jogging, jumping jacks, skipping and running in place.
Stretching
Stretching while the muscles are warm is very important after a good warm-up and cool-down. It reduces the risk of injury. Stretching exercises should be held for 15-30 seconds. Here are some examples of stretching exercises:
- Toe touch (Fig. A-1)
- Inner thight stretch (Fig. A-2)
- Hamstring stretch (Fig. A-3)
- Achilles stretch (Fig. A-4)
- Side stretch (Fig. A-5)
Cooling down
The purpose of the cool-down is to return the body to its (near) normal resting position at the end of the workout. A good cool-down slowly reduces your heart rate and promotes recovery
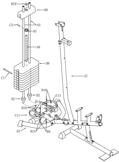
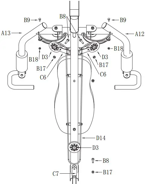
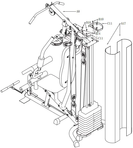
EXPLODED DRAWING

PARTS LIST
| # | DESCRIPTION | QTY. |
| A1 | Base frame | 1 |
| A2 | Seat post | 1 |
| A3 | Rear stabilizer | 1 |
| A4 | Seat support tube | 1 |
| A5 | Guiding tube | 2 |
| A6 | Select bar | 1 |
| A7 | Upright support tube | 1 |
| A8 | Bridge tube | 1 |
| A9 | Cushion support tube | 1 |
| A10 | Leg curl tube | 1 |
| A11 | Pull unit | 1 |
| A12 | Butterfly arm – right | 1 |
| A13 | Butterfly arm – left | 1 |
| A14 | Handlebar | 2 |
| A15 | Lat bar | 1 |
| A16 | Lower pull bar | 1 |
| A17 | Cloth cover for left/right | 2 |
| A18 | Foam tube for leg curl | 2 |
| B1 | Axle for pull Unit M16*108mmL | 1 |
| B2 | Hex head bolt M12*98mmL | 2 |
| B3 | Hex head bolt M12*80mmL | 1 |
| B4 | Hex head bolt M10*80mmL | 9 |
| B5 | Hex head bolt M10*75mmL | 4 |
| B6 | Hex head bolt M10*60mmL | 2 |
| B7 | Hex head bolt M10*45mmL | 1 |
| B8 | Hex head bolt M10*40mmL | 9 |
| B9 | Hex head bolt M8*20mmL | 12 |
| B10 | Hex head bolt M8*15mmL | 16 |
| B11 | Flat washer D12 | 8 |
| B12 | Flat washer D10 | 24 |
| B13 | Curve washer D10 | 6 |
| B14 | Flat washer D8 | 16 |
| B15 | Curve washer D8 | 10 |
| B16 | M12 Nylon nut | 7 |
| B17 | M10 Nylon nut | 26 |
| B21 | Knob | 1 |
| B22 | Hex head bolt M10*70mmL | 1 |
| B23 | Hex head bolt M10x15mmL | 2 |
| C1 | Select pin | 1 |
| C2 | Fixed pin for weight stack | 1 |
| C3 | Powder metal ring 16 | 2 |
| C4 | Powder metal ring 12 | 4 |
| C5 | Bracket for seat/backrest | 2 |
| C6 | Pully Bracket | 2 |
| C7 | Two way bracket for pulley | 1 |
| C8 | Bracket for pulley | 2 |
| C9 | Hook | 5 |
| C10 | Chain 6 links | 2 |
| C11 | Bracket for cloth cover | 4 |
| C12 | Spring | 1 |
| D1 | Bushing for weight stack | 1 |
| D2 | Rubber ring | 2 |
| D3 | Pulley | 11 |
| D4 | Pulley A | 1 |
| D5 | Cap for small pulley | 2 |
| D6 | Foam for butterfly arm | 2 |
| D7 | Foam for leg curl | 4 |
| D8 | Weight stack 10 lbs | 1 |
| D9 | Weight stack 10 lbs | 14 |
| D10 | Back cushion | 1 |
| D11 | Seat | 1 |
| D12 | Elbow cushion | 1 |
| D13 | Cable for lat bar | 1 |
| D14 | Cable for butterfly arm | 1 |
| D15 | Cable for lower pull bar | 1 |
| D16 | Plastic bushing L16 mm | 2 |
| D17 | Plastic bushing L20 mm | 2 |
| D18 | End cap | 6 |
| D19 | 60 Round cap | 2 |
| D20 | 60 Flat cap | 2 |
| D24 | Rubber stopper | 1 |
| D25 | Foam for Handlebar | 2 |
| D26 | Hand grip | 4 |
| D27 | Round cap for select bar | 1 |
| D28 | Bushing | 1 |
| D29 | Rubber stopper | 1 |
| D30 | Ankle strap | 1 |
COMPANY INFORMATION
For an ongoing service request or to purchase parts, please visit;
[email protected]. Always state the service number (ITS number) with a question about the current application for a quick and efficient settlement. A service request must always be submitted via the service form. So the request not to request service via [email protected].
Do you have a problem with your VirtuFit fitness equipment and would you like to submit a service request? Then scan the QR code on the right and fill in our service form.
VIRTUFIT
Twekkelerweg 263 7553 LZ Hengelo The Netherlands
[email protected]



















