SE 590A 106 Litre Portable Eye Wash and Body Spray
Instruction Manual
SE 590A 106 Litre Portable Eye Wash and Body Spray
Transport Trolley is optional.
SE 590 – 106 – 675
Portable Pressurised Emergency Eye Wash & Body Spray
SE 590A – 106 – 675
Installation, Maintenance and Operating Instructions
DESCRIPTION
PORTABLE PRESSURISED EMERGENCY EYE WASH AND BODY SPRAY
Unit supplied with 106 litre corrosion resistant stainless steel tank, Low flow non aerated eye wash and body wash. Both activated by Individual flag push handles. Unit also fitted with air fill valve, pressure gauge, safety pressure relief valve and flow off dust covers.
Australian manufactured to comply with AS4775-2007
SPECIFICATIONS
EYE WASH Non aerated low flow.
Activation – Stainless steel push flag handle with 15mm S/S valve.
BODY WASH Non aerated low flow 45 degree spray.
Activation – Stainless steel push flag handle with 15mm S/S valve.
TANK 106 Litre stainless steel grade 304 construction.
HARDWARE and TUBING Stainless Steel grade 304.
FLOW DATA
Flow rate 2.3 L/Min
Flow rate 3 L/Min
INSTALLATION
After unpacking carton, ensure all components are present. Attach shower tube, use joint sealer to prevent leakage. Attach eyewash assembly. Fill unit with POTABLE WATER. Pressurise tank to 700 Kpa. or 100Psi. Check for leaks. Refer Instruction manual.
OPERATION
The eye wash is activated by pushing the lower paddle handle rearward. The shower is activated by pushing the upper paddle handle rearward. Both units will operate until the paddle handle is manually pulled forward to the off position.
MAINTENANCE & CLEANING
Inspect pressure gauge every week to assure unit is fully charged to 100 psi working pressure.
Cleaning: de-pressurise the unit and empty – add ¼ cup of household bleach to ½ a tank of water and replace cap, pressurise the unit and run water and bleach through the hose and head assemblies. De-Pressurise and remove the cap and empty all the water from the unit. Rinse the unit by filling 1/2 way with water, replace the cap, re-pressurise the unit and run water through the eye wash and body spray head assemblies – repeat this 2 times.
RE-FILLING THE UNIT: POTABLE WATER & WATER PRESERVER SOLUTION
When filling this pressurised unit please use potable water and add a bottle of the SE 4210B4 water preservative solution. The water preservative solution will extend the life of the water for up to 120 days.
WATER PRESERVATIVE SOLUTION
The water preserver solution will extend the life of the water for up to 120 days. Without the water preserver the water would need to be replaced approximately every two weeks.
NOTE : This unit should be filled with potable water only, failure to do so could cause further injury.
Top View
WARNING : Use only genuine Speakman parts when replacing or repairing components. When ordering quote correct part numbers listed below.
MAINTENANCE
Maintenance should be carried out weekly and yearly as detailed in the schedule. Should you need to repair this unit, please reference the spare parts list for correct part numbers. Before any maintenance is done be sure the water supply is shut off.
MAINTENANCE SCHEDULE
WEEKLY..
Activate eyewash unit using push handle.
Allow water to flow for 30 seconds to flush line.
Ensure water flows evenly from both outlets.
Ensure water is clean Fortnightly Re-Fill without use of Water Preservative.
Every 120 Days with use of Water preservative.
YEARLY….
Ensure unit complies with AS 4775-2007.
WARNING : Use only genuine Speakman parts when replacing or repairing components. When ordering quote correct part numbers listed below.
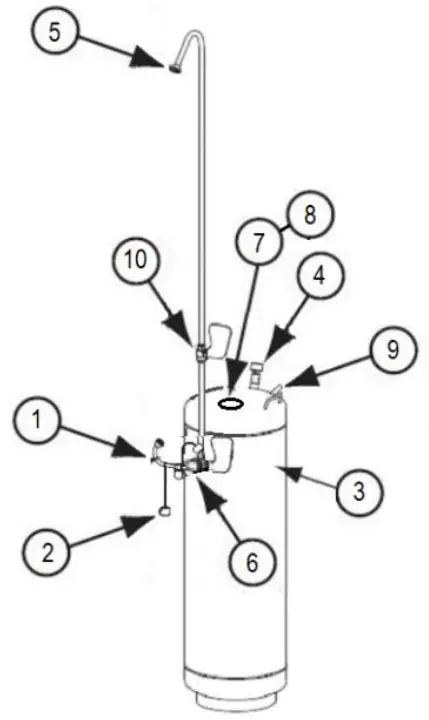
SPARE PARTSLIST
| No | Description | Part No. |
| 1 | Non Aerator Eye Wash Assembly | SA 05006 |
| 2 | Dust Cap Assembly | SA 01008 |
| 3 | Stainless Steel Tank | SR 66035 |
| 4 | Pressure Gauge | SR 66019 |
| 5 | Shower Head | G38 0012 RCP |
| 6 | 15mm Ball Valve & Handle | SE 910HL |
| 7 | Fill Cap | SE 1T64 |
| 8 | Filling Cap Seal | SR 63016 |
| 9 | Pressure Relief Valve | SR 66020 |
| 10 | 15mm Ball Valve & Handle | SE 910V |
BIG Safety
PO Box 2117 Normanhurst NSW 2076
12A/10 Pioneer Ave, Thornleigh NSW 2120
P:- 1300 73 22 74
E:- [email protected]
www.bigsafety.com.au



















