SPERIAN Fendall Pure Flow 1000 Eye Wash Station

![]()
WARNING
Read all warnings and instructions in this manual before installing this equipment.
Do you need help installing your Fendall Pure Flow 1000® saline cartridges?
Please vist our website for the Fendall Pure Flow 1000 Installation Video at www.sperian.com
OR
Call Customer Service at 1-800-336-3255 for your FREE copy of the Fendall Pure Flow 1000 Installation Video
Model “A” Cartridge Installation Instructions
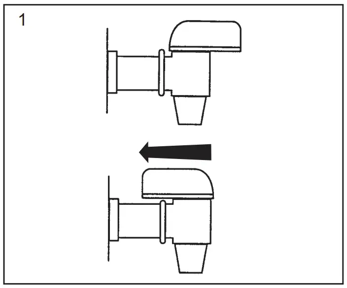
- Close the drain spigot by turning handle to the rear.

- Remove cover by lifting up.
- Open activating door.

- Raise reservoir to “Up” position, latch on housing by pressing back on latching tabs.

- Place two (2) Fendall Pure Flow cartridges on the shelf. Nozzle assembly must be in front.

- Pull green latch tabs forward to drop down reservoir ensuring that platens are seated on bags and are not resting on the cartridge boxes.

- Replace cover.

- Remove rubber bands from activating strap and nozzle.
- Extend activating straps to the side. Do not pull on the strap.

- Snap right-hand nozzle into place on white nozzle plate. An audible ‘click’ will be heard to confirm that the nozzle is engaged.

- Snap left-hand nozzle into place on white nozzle plate. An audible ‘click’ will be heard to confirm that the nozzle is engaged.

- Position the two (2) black straps over top of the activation door with expiration date and batch number visible. Do not twist or cross straps. Close activation door.

- Position nozzle activating straps over top of door and down raised area on either side of the door handle so the straps cover the labels on the activation door.
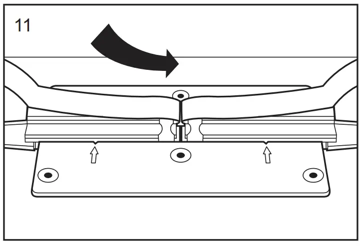
- Push plastic fastener into hole in door until flange is seated against the door.
- Push center pin of fastener until it snaps into place flush with fastener head.

- Position tamper seal on middle right-hand side of door. Half the seal must be on the door and the other half on the unit surface.
- Attach lock or inspection tag through tab on cover.
Model “B” Cartridge Installation Instructions
- Close the drain spigot by turning handle to the rear.

- Remove cover by lifting up.
- Open activating door.

- Raise reservoir to “Up” position, latch on housing by pressing back on latching tabs.

- Place two (2) Fendall Pure Flow cartridges on the shelf. Nozzle assembly must be in front.

- Pull green latch tabs forward to drop down reservoir ensuring that platens are seated on bags and are not resting on the cartridge boxes.
- Replace cover.
- Remove rubber bands from activating strap and nozzle.

- Extend activating straps to the side. Do not pull on the strap.

- Snap right-hand nozzle into place on white nozzle plate. An audible ‘click’ will be heard to confirm that the nozzle is engaged.

- Snap left-hand nozzle into place on white nozzle plate. An audible ‘click’ will be heard to confirm that the nozzle is engaged.

- Position the two (2) black straps out to the sides of the unit, with expiration date and batch number facing down. Do not twist or cross straps. Close activation door.

- Position nozzle activating straps around the side of the door such that the strap is seated in the slot in the door. The expiration date on one strap will be upside down.
- Push plastic fastener into hole in door until flange is seated against the door.
- Push center head of fastener until it snaps into place flush with fastener head.

- Position tamper seal on middle right-hand side of door. Half the seal must be on the door and the other half on the unit surface.
- Attach lock or inspection tag through tab on cover.
| Identity: Sperian® Saline Solution – Product #s 32-000400, 32-000401, 32-000502, 32-001050 | |||||
| Section I | |||||
| Manufacturer: Sperian Eye & Face Protection, Inc. | Emergency Telephone: 1-800-336-3255 | ||||
| Address: 825 East Highway 151 Platteville, WI 53818 USA | Information Telephone: 1-800-543-4842 | ||||
| Date Prepared: 06/18/09 | |||||
| Section II – Hazardous Ingredients/Identify Information | |||||
| Hazardous Components (Specific Chemical Identity; Common Name(s)) | OSHA PEL | ACGIH TLV | Other limits recommended | % (optional) | |
| BENZALKONIUM CHLORIDE CAS #8001-54-5 | NONE | NONE | N/A | <0.1% | |
| Section III – Physical/Chemical Characteristics | |||||
| Boiling Point: 200ºF (93.3ºC) | Specific Gravity (H2O)=1: NOT DETERMINED | ||||
| Vapor Pressure (mm Hg.): 760 | Melting Point: N/A | ||||
| Vapor Density (Air = 1): NOT DETERMINED. | Evaporation Rate (Butyl Acetate = 1): NOT DETERMINED | ||||
| Solubility in Water: 100% | |||||
| Appearance and Odor: COLORLESS LIQUID WITH NO DISCERNABLE ODOR. | |||||
| Section IV – Fire and Explosion Hazard Data | |||||
| Flash Point (Method Used): N/A | Flammable Limits: | LEL: N/A | UEL: N/A | ||
| Extinguishing Media: THIS IS A NONFLAMMABLE AQUEOUS SOLUTION. | |||||
| Special Fire Fighting Procedures: N/A | |||||
| Unusual Fire and Explosion Hazards: N/A | |||||
| Section V – Reactivity Data | |||||
| Stability | Unstable: NO Stable: YES | Conditions to Avoid: THIS PRODUCT IS STABLE AND CONSIDERED NON-REACTIVE UNDER NORMAL CONDITIONS OF STORAGE AND USAGE. | |||
| Incompatibility (Materials to Avoid): NONE KNOWN | |||||
| Hazardous Decomposition or Byproducts: NONE | |||||
| Hazardous Polymerization | May Occur: NO Will Not Occur: YES | Conditions to Avoid: NONE | |||
| Section VI – Health Hazard Data | |||||
| Route(s) of Entry: Inhalation? NO Skin? NO Ingestion? YES | |||||
| Health Hazards (Acute and Chronic): INGESTION OF VOLUMES IN EXCESS OF 20 LITERS MAY CAUSE GASTRIC IRRITATION. | |||||
| Carcinogenicity: NTP? NO IARC Monographs? NO OSHA Regulated? NO | |||||
| Signs and Symptoms of Exposure: N/A | |||||
| Medical Conditions Generally Aggravated by Exposure: N/A | |||||
| Emergency First Aid Procedures: NOTES TO PHYSICIAN: IN THE UNLIKELY EVENT OF RAPID INGESTION OF LARGE VOLUMES OF THE SOLUTION, INDUCE VOMITING AND OBSERVE THE PATIENT FOR GASTRIC IRRITATION. | |||||
| Section VII – Precautions for Safe Handling and Use | |||||
| Steps to Be Taken in Case Material is Released or Spilled: FLUSH AREA WITH WATER. THE SOLUTION IS NOT RCRA HAZARDOUS WASTE. | |||||
| Waste Disposal Method: N/A | |||||
| Precautions to Be Taken in Handling and Storing: DO NOT FREEZE OR EXPOSE TO TEMPERATURES IN EXCESS OF 110ºF (43ºC) FOR EXTENDED PERIODS. | |||||
| Other Precautions: N/A | |||||
| Section VIII – Control Measures | |||||
| Respiratory Protection: N/A | |||||
| Ventilation | Local Exhaust: N/A Mechanical: N/A | Special: N/A Other: N/A | |||
| Protective Gloves: N/A Eye Protection: N/A | |||||
| Other Protective Clothing: N/A | |||||
| Work Hygienic Practices: N/A | |||||








































