1294300 BrematicPRO Smart Home Smoke Detector
User Guide
1294300 BrematicPRO Smart Home Smoke Detector
Wireless Smoke and Heat Alarm 868.3 MHz
This quick start guide will familiarise you with the key functions of your device. For the complete instructions for use, please visit www.brematic.com/en/service.
Safety instructions
WARNING! DANGER TO LIFE AND RISK OF ACCIDENTS FOR INFANTS AND
CHILDREN! Never leave children unsupervised with the packaging materials. It poses a risk of suffocation as children may swallow or inhale small parts or plastic film. Children frequently underestimate the dangers. Always keep children away from the device. It is not a toy.
- This product may be used by children age 8 years and up, as well as by persons with reduced physical, sensory or mental capacity or lacking experience and / or knowledge, provided they are supervised or instructed in the safe use of the product and they understand the associated risks. Do not allow children to play with the device. Never allow children to clean or maintain this product unsupervised.
- Only operate this device in a dry, dust-free environment.
- Only operate this device indoors.
- Do not expose the device to adverse conditions, such as
• moisture,
• continuous sunlight,
• heat radiation,
• cold,
• vibrations.
CAUTION! RISK OF INJURY!
- Do not open the housing. This device has no parts which require maintenance.
- Do not use the device if it is visibly damaged.
- We assume no liability for property damage or personal injury due to improper use or failure to observe the safety instructions! This will void the warranty / guarantee!
- Any use not specified in these instructions for use will damage the device. Do not modify the device. Otherwise safe operation is not guaranteed.
- The device must be replaced every 10 years.
- The device may not be covered or coated.
- The device does not respond to flames or gas.
- The device only detects smoke in the room in which it is installed.
WARNING: POSSIBLE DAMAGE TO HEARING! The smoke alarm emits a very loud and shrill alarm tone which can damage hearing. When carrying out a function test, remain at least 50 cm away from the device.
Special safety instructions for handling batteries
WARNING! DANGER TO LIFE! Batteries are not intended for children.
Seek immediate medical attention if swallowed!
CAUTION! DANGER OF EXPLOSION! Never recharge disposable batteries, do not short-circuit and / or open batteries!
- Never throw batteries into fire or water!
- Do not exert mechanical loads on batteries!
Risk of battery leakage
- In the event of a battery leak, immediately remove it from the device to prevent damage!
- Avoid contact with the eyes, skin and mucous membranes! In the event of contact with battery acid, promptly flush the affected areas with clean water and seek immediate medical attention!
- Only use the same type of batteries! Do not mix used and new batteries!
- Avoid extreme conditions and temperatures which may affect batteries, e.g. radiators / direct sunlight.
- Remove the batteries from the device if they have not been used for a long period!
Risk of damage to the device
- Only use the specified battery type!
- Please note the correct polarity when inserting the battery! This is shown in the battery compartment!
- If necessary, clean the battery and device contacts before inserting the battery!
- Remove drained batteries from the device immediately!
Escape plan in case of fire
It is recommended that all household residents draw up an escape plan together. Under no circumstances should the escape route become obstructed. Choose the quickest and safest route leading outdoors as the escape route.
Intended use
The wireless smoke alarm monitors the surrounding area for the development of smoke and heat, and if smoke is identified or the temperature threshold exceeds 54 °C, an alarm signal is emitted and a notification sent to the Gateway.
Included in delivery
- 1 x Wireless Smoke and Heat Alarm
- 2 x Batteries LR6 / AA / Mignon 1.5 V
- 2 x Screws / dowels
- 1 x Quick start guide
- 1 x Instructions for use (digital, available for download)
Technical data
| Product designation: | RM 868 01 4211 |
| Item no.: | 1294300 |
| Radio frequency: | 868.3 MHz |
| Frequency band: | 868.1 – 868.5 MHz |
| Max. transmitting power: | < 20 mW |
| Duty cycle: | < 1 % per h |
| Supply voltage: | 2 x LR6 / AA / Mignon |
| Ambient temperature: | 0 °C to 35 °C |
| Protection type: | IP20 |
| Audible alarm: | approx. 85 dB (at a distance of 3 m) |
| Open area range: | approx. 100 m |
| Dimensions | average 120.1 mm, 36.7 mm deep |
| Weight: | 120 g |
| Battery life span: | approx. 1 year (typically) |
| Tested according to: | EN 14604:2005/AC:2008 |
| Detected: | Smoke and heat (heat range 54-70 °C) |
Subject to technical changes without notice.
Device overview
| Front | Underside |
![]() | ![]() |
Underside of device with opened housing cover/installation plate

Function
The wireless smoke alarm is part of the Brennenstuhl Home Automation Systems BrematicPRO, controlled via app or using the BrematicPRO PC software. With the help of photoelectric technology, the wireless smoke alarm identifies the development of smoke and uses a temperature sensor to identify when the temperature threshold exceeds 54 °C.
It emits an alarm signal and sends a notification to the Gateway. After the wireless smoke alarm has been triggered, actions (tasks) can be triggered via the app / PC software. For example, a phone call can be made or an email sent. This means that a fire in a separate location, e.g. on another floor, can be reacted to in good time.
Inserting / replacing the battery
- Replace the batteries yearly to ensure reliable operation.
When battery power is low, the wireless smoke alarm emits an audible signal at 50-second intervals. - Change the batteries when this signal sounds.
Function test
It is recommended that the device be tested weekly to ensure proper function.
Press and hold the test / learn button for at least 4 seconds, until the alarm sounds. The alarm tone sounds three times in quick succession. After a pause of 1.5 seconds the alarm pattern is repeated twice, until the test / learn button is released. If no signal or a different signal sounds, the device is defective or the battery is drained.
Standard mode
In standard mode the device LED flashes once every 50 seconds.
Alarm tones
| Smoke alarm | Smoke alarm pattern: BI 0.5s – pause 0.5s – BI 0.5s – pause 0.5s – BI 0.5s – pause 1.5s – BI 0.5s – pause 0.5s – BI 0.5s – pause 0.5s – BI 0.5s – pause 4.5s with the red LED flashing every 1 second, repeat this alarm pattern. |
| Heat alarm | Heat alarm pattern: BI 0.2s – pause 0.1s – BI 0.2s – pause 0.1s, with the red LED flashing every 1.0s, keep this alarm pattern for 8.5 seconds, then pause 4.5s,repeat this alarm pattern. |
The alarm only ceases to sound when no more smoke particles are detected by the smoke alarm and the surrounding temperature falls below 54 °C.
- When the alarm tone sounds, check to see whether a fire has broken out. In the event of a fire, leave the building immediately and call the fire brigade.
Installation location
The installation locations for smoke alarms are subject to mandatory regulation according to the application standard EN 14676 which is valid in Germany.
Note: For comprehensive protection smoke alarms should be installed in all rooms, corridors, warehouse areas, cellars and storage spaces. In rooms larger than 60 m² or hallways longer than 10 m, it is recommended that multiple smoke alarms be used.
- At least the minimum level of protection should be fulfilled and every bedroom or child‘s room, as well as hallways that serve as an escape route, should be equipped with a smoke alarm.
- For optimal protection, install at least one smoke alarm in all rooms and hallways (Fig. A).
In hallways and corridors with a max. width of 3 m, a maximum distance of 15 m is permissible between two smoke alarms. The distance between the alarm and the end face of the hallway or corridor may not exceed 7.5 m. At points where corridors and hallways cross over, merge, or corner (mitre line) an alarm is always installed (Fig. B):
If the length and width of a gallery amounts to more than 2 m and the gallery has a total surface area of more than 16 m², an additional alarm is required under the gallery (Fig. C).
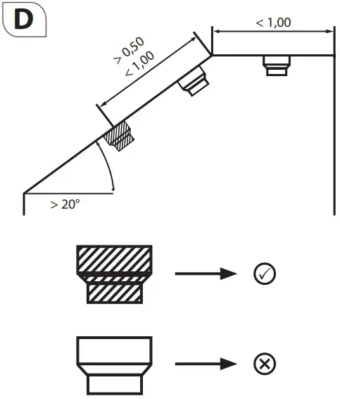
Rooms with partially sloping roofs
- If the horizontal ceiling is less than 1 m wide, install the alarm as illustrated in Fig. D.
- If the horizontal ceiling is wider than 1 m, install the alarm in the middle of the horizontal ceiling.
- If the room is more than 6 m in height, use an additional smoke alarm.

- In rooms with a ceiling incline of > 20 °, install the smoke alarm as illustrated in Fig. E.
- In rooms with a sloped ceiling, the alarm must be installed between 50–100 cm from the highest point (Fig. E).

Because smoke rises, the smoke alarm must always be installed on the ceiling, ideally in the middle of the room in a horizontal position. In accordance with EN14676 a minimum distance of 0.5 m should be maintained to all ceiling furnishings and to the walls.
- Do not install in the apex of the roof (at least 30 to 50 cm underneath), close to air ducts or in the path of strong draughts.
If there are ceiling beams with a height of over 20 cm and if the individual ceiling panels between the beams have an area of more than 36 m², additional smoke alarms must be installed in the ceiling panels. If the ceiling beams are less than 20 cm in height, install a smoke alarm in the middle of the ceiling and not on a beam (Fig. F-H).
1 = Ceiling panel/ 2 = Partition / h = H
Unsuitable installation locations
- Do not install the smoke alarm in areas susceptible to draughts, e.g. close to air-conditioning and ventilation channels.
- In bathrooms, shower rooms or rooms in which the temperature exceeds 45 °C or falls below 5 °C.
- In the apex of the roof, because smoke-free air could gather there in the event of fire.
- In kitchens, garages, laundry rooms or boiler rooms, a false alarm can be triggered by cooking fumes, vehicle exhaust emissions, dust and moisture.
- In very dusty or dirty areas. Dirt and dust can collect in the smoke alarm and compromise the functional reliability.
- At a distance of less than 1.50 m from fluorescent lamps.
Installation
WARNING! To avoid accidents, the smoke alarm should be correctly installed onto the ceiling as outlined in the assembly instructions.
CAUTION! DANGER OF ELECTRIC SHOCK! Make sure that you do not damage electrical cables in the ceiling during installation.
The device is equipped with an installation plate which allows it to be installed on ceiling. The enclosed fastening materials are suitable for concrete surfaces.
For other substrates, appropriate fastening materials must be obtained from specialist retailers.
- Select a suitable installation position for the device in the room to be monitored.

- Remove the device from the installation plate.
- With the help of the installation plate, draw the four drill holes on the ceiling using a pen.
- Drill the marked holes (5.5 mm drill, approx. 25-30 mm deep for concrete surfaces / 2.5 mm drill approx. 20 mm deep for wood panelling or beams) and insert the dowels.
- Tightly screw on the installation plate.
- Insert the batteries into the device.
- Place the device on the installation plate and turn clockwise to tighten.
Cleaning the device
- It is recommended that the device be cleaned monthly to ensure proper function.
Keep the device free from dust, dirt and cobwebs.
Download app / PC software BrematicPRO
The Brennenstuhl Home Automation Systems BrematicPRO is controlled via the BrematicPRO app / PC software. The app can be downloaded for free from the App Store and Google Play Store. The PC software is available for download at www.brematic.com/en/service.
For more information about the app and how to use it, please visit www.brematic.com/en/service.
Pairing the wireless smoke alarm with the BrematicPRO Gateway
The app or BrematicPro PC software is installed and open.
The BrematicPRO Gateway is ready for use and in pairing mode.
- Open the “Settings“ menu.
- Select submenu “Rooms,“ then select the room.
Tap the “Add Device“ button. - Select the frequency band “868 MHz“.
- Select “Sensor / Alarm “ and press “Continue“ to confirm.
- Follow the instructions in the app.
- Press the test / learn button on the device three times in succession within 2 seconds.
- Enter the device name and tap “Add“ to assign the device to the room.
- First tap “Back“ to leave the room, then “Done“ to complete the pairing process.
For more information about the product, please visit www.brematic.com/en/service.
Disposal
The packaging is made from environmentally-friendly materials which can be disposed of through your local recycling facilities.
Contact your local refuse disposal authority for more details of how to dispose of your worn-out product.
To help protect the environment, please dispose of the product properly when it has reached the end of its useful life, not in the household waste.
Please contact your municipality for information on collection facilities and their opening hours.
Faulty or drained batteries must be recycled in accordance with Directive 2006/66/EC and its amendments. Return batteries and / or the device to the available recycling facilities.
Improper disposal of batteries can harm the environment!
Never dispose of batteries in your household waste. They may contain toxic heavy metals and are subject to hazardous waste regulations. The chemical symbols of the heavy metals are: Cd = cadmium, Hg = mercury, Pb = lead. Therefore dispose of used batteries through your local collection facilities.
Service
For questions related to the product, please contact us at www.brematic.com/en/service.
Tel.: 0080048720743 (free of charge)
Manufacturer
Hugo Brennenstuhl GmbH & Co. KG
Seestraße 1-3 ∙ D-72074 Tübingen
lectra-t ag
Blegistrasse 13 ∙ CH-6340 Baar
H. Brennenstuhl S.A.S.
4 rue de Bruxelles ∙ F-67170 Bernolsheim
www.brematic.com
www.brennenstuhl.com
Declaration of conformity
Hugo Brennenstuhl GmbH & Co.KG, hereby declares the wireless system model RM868 01 4211 to comply with directives 2014/53/EU and 2011/65/EU (RoHS II). The full text of the EU declaration of conformity is available at the following internet address: www.brematic.com/en/service/konformitaetserklaerung/ke_1294300.pdf.
This device complies with the legal, national and European requirements. All company names and product names are trademarks of the respective owners.
All rights reserved.
Smart up your home.
www.brematic.com
Hugo Brennenstuhl GmbH & Co. KG
Seestraße 1-3 ∙ D-72074 Tübingen
H. Brennenstuhl S.A.S.
4 rue de Bruxelles ∙ F-67170 Bernolsheim
Iectra-t AG
Blegistrasse 13 ∙ CH-6340 Baar
www.brematic.com
www.brennenstuhl.com
0496007 / 3418
References
brennenstuhl® | Licht- und Stromverteilung
brennenstuhl® | Licht- und Stromverteilung
brennenstuhl® | Licht- und Stromverteilung
brennenstuhl® | Licht- und Stromverteilung
brennenstuhl® | Licht- und Stromverteilung
brennenstuhl® | Licht- und Stromverteilung
brennenstuhl® | Licht- und Stromverteilung
brennenstuhl® | Licht- und Stromverteilung
brennenstuhl® | Licht- und Stromverteilung
brennenstuhl® | Licht- und Stromverteilung


When battery power is low, the wireless smoke alarm emits an audible signal at 50-second intervals.


















