
brennenstuhl WiFi Smoke and Heat Alarm Instruction Manual

WiFi Smoke and Heat Alarm
Operating instructions
WiFi Smoke and Heat Alarm WRHM01

Safety instructions
The operating instructions are part of this product. They contain important information on safety, use and disposal. Before using the device, familiarise yourself with all operating and safety instructions. Only use the device as described for the specified areas of application. Also hand over all documents when you pass the device on to third parties.
WARNING! DANGER TO LIFE AND RISK OF ACCIDENTS FOR INFANTS AND CHILDREN! Never leave children unsupervised with the packaging materials. It poses a risk of suffocation as children may swallow or inhale small parts or plastic film. Children frequently underestimate the dangers.
Always keep children away from the device. It is not a toy.
This product may be used by children age 8 years and up, as well as by persons with reduced physical, sensory or mental capacity or lacking experience and / or knowledge, provided they are supervised or instructed in the safe use of the product and they understand the associated risks. Do not allow children to play with the device. Never allow children to clean or maintain this product unsupervised.
Only operate this device in a dry, dust-free environment.
Only operate this device indoors.
Do not expose the device to adverse conditions, such as
- moisture,
- continuous sunlight,
- heat radiation,
- cold,
- vibrations.
CAUTION! RISK OF INJURY!
Do not open the housing. This device has no parts which require maintenance.
Do not use the device if it is visibly damaged.
We assume no liability for property damage or personal injury due to improper use or failure to observe the safety instructions! This will void the warranty / guarantee!
Any use not specified in these instructions for use will damage the device. Do not modify the device. Otherwise safe operation is not guaranteed.
The device must be replaced every 10 years.
The device may not be covered or coated.
The device does not respond to flames or gas.
The device only detects smoke in the room in which it is installed.
WARNING: POSSIBLE DAMAGE TO HEARING! The smoke alarm emits a very loud and shrill alarm tone which can damage hearing. When carrying out a function test, remain at least 50 cm away from the device.
Special safety instructions for handling batteries
WARNING! DANGER TO LIFE!
Batteries are not intended for children. Seek immediate medical attention if swallowed!
CAUTION! DANGER OF EXPLOSION!
Never recharge disposable batteries, do not short-circuit and / or open batteries!
Never throw batteries into fire or water!
Do not exert mechanical loads on batteries!
Risk of battery leakage
In the event of a battery leak, immediately remove it from the device to prevent damage!
Avoid contact with the eyes, skin and mucous membranes! In the event of contact with battery acid, promptly flush the affected areas with clean water and seek immediate medical attention!
Only use the same type of batteries! Do not mix used and new batteries!
Avoid extreme conditions and temperatures which may affect batteries, e.g. radiators / direct sunlight.
Remove the batteries from the device if they have not been used for a long period!
Risk of damage to the device
Only use the specified battery type!
Please note the correct polarity when inserting the battery! This is shown in the battery compartment!
If necessary, clean the battery and device contacts before inserting the battery!
Remove drained batteries from the device immediately!
Escape plan in case of fire
It is recommended that all household residents draw up an escape plan together. Under no circumstances should the escape route become obstructed. Choose the quickest and safest route leading outdoors as the escape route.
Intended use
The WiFi smoke detector serves to monitor the environment for smoke and heat development and to give an alarm signal and issue a push notification when smoke is detected or the temperature threshold of 54 °C is exceeded.
Installation information/distance to sources of interference
This device works with the 2.4 GHz b/g/n WiFi protocol. The reach within buildings may strongly differ from the one in open areas.
Apart from the transmission power and the reception properties of the receivers, environmental influences such as air humidity and the structural situation on site play an important role.
The reach may be considerably reduced by:
- Walls made of wood, plasterboard, concrete, reinforced concrete
- Proximity to metal and conductive objects
- Broadband interference, e.g. in residential areas (DECT phones, mobile phones, radio headphones, radio speakers, radio weather stations, baby monitoring systems)
- Proximity to electric motors, transformers, power supply units, computers
Included in delivery
- 1 x WiFi smoke and heat detector WRHM01
- 2 x Batteries LR6 / AA / Mignon 1.5 V
- 2 x Screws / dowels
- 1 x Instructions for use
Technical data
- Product designation: WRHM01
- Art. no.: 1290090
- Radio frequency: 2.4 GHz
- Frequency band: 2,412-2,484 GHz
- Max. transmitting power: < 100mW
- Wireless IEE standards: IEEE 802.11b /g /n
- Supply voltage: 2 x LR6 / AA / Mignon
- Ambient temperature: 0 °C to 35 °C
- IP class: IP20
- Audible alarm: approx. 85 dB (3 m distance)
- Battery service life: approx. 1 year (typ.)
- Certified according to: DIN EN 14604:2005/AC:2008
- Detects: smoke and heat (heat range 54-70 °C)
Subject to technical changes without notice.
Device overview

Bottom with open housing cover / mounting plate

Function
The WiFi smoke and heat detector is part of the brennenstuhl®Connect system controlled by means of the brennenstuhl®Connect app. The WiFi smoke and heat detector can be connected directly to the router.
Preparations
Inserting / replacing the battery
Replace the batteries yearly to ensure reliable operation.

If the batteries are weak, the WiFi smoke and heat detector will issue an audible signal at intervals of 50 seconds. Replace the batteries when you hear the signal.
Remove the WiFi smoke and heat detector from the mounting plate by rotating it counter-clockwise.
- Remove the used battery, if applicable.
- Insert the battery into the battery compartment ensuring correct polarity.
- Observe the marking in the battery compartment.
- Position the WiFi smoke and heat detector on the mounting plate and rotate it
- clockwise until it firmly engages.
Note: The WiFi smoke and heat detector cannot be installed on the mounting plate without a battery.
The WiFi smoke and heat detector is ready for operation.
Carry out a functional test (see “Functional test”).
Installation location
The installation locations for smoke detectors are bindingly regulated in the application standard DIN EN 14676 which is valid for Germany.
Note: For a comprehensive protection, smoke detectors should be installed in all rooms, corridors, warehouse areas, cellar and storage rooms. For rooms with more than 60 m² and/or hallways of more than 10 m length, we recommend the use of multiple smoke detectors.
You should fulfil at least the minimum protection requirements by fitting all bedrooms and children’s rooms as well as hallways used as escape routes with smoke detectors.
For optimum protection, you should install at least one smoke detector in each room and hallway (fig. A).

In hallways and corridors with a max. width of 3 m, a maximum distance of 15 m is permissible between two smoke alarms. The distance between the alarm and the end face of the hallway or corridor may not exceed 7.5 m. At points where corridors and hallways cross over, merge, or corner (mitre line) an alarm is always installed (Fig. B):

If the length and width of a gallery amounts to more than 2 m and the gallery has a total surface area of more than 16 m², an additional alarm is required under the gallery (Fig. C).

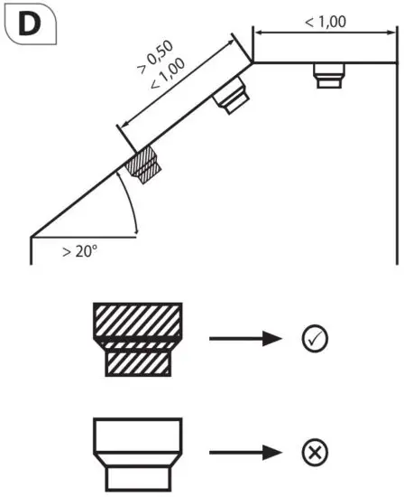
Rooms with partially sloping roofs
If the horizontal ceiling is less than 1 m wide, install the alarm as illustrated in Fig. D.
If the horizontal ceiling is wider than 1 m, install the alarm in the middle of the horizontal ceiling.
If the room is more than 6 m in height, use an additional smoke alarm.

- In rooms with a ceiling incline of > 20 °, install the smoke alarm as illustrated in Fig. E.
- In rooms with a sloped ceiling, the alarm must be installed between 50–100 cm from the highest point (Fig. E).

As the smoke rises upwards, smoke detectors must always be mounted at the ceiling, if possible in the room centre, in a horizontal position. According to DIN EN14676, a distance of at least 0.5 m must be kept to any furniture at the ceiling and to the walls. Do not install in roof apexes (at least 30 to 50 cm below), not close to air ducts and not in areas subject to a strong draught.
If there are ceiling beams with a height of more than 20 cm and if the individual ceiling panels between the beams have an area of more than 36 sqm, additional smoke detectors must be installed in the ceiling panels. If the height of the ceiling beams is less than 20 cm, install one smoke detector centrally at the ceiling and not at a beam (fig. F-H).

Installation locates to be avoided
Do not install the smoke alarm in areas susceptible to draughts, e.g. close to air-conditioning and ventilation channels.
In bathrooms, shower rooms or rooms in which the temperature exceeds 45 °C or falls below 5 °C.
In the apex of the roof, because smoke-free air could gather there in the event of fire.
In kitchens, garages, laundry rooms or boiler rooms, a false alarm can be triggered by cooking fumes, vehicle exhaust emissions, dust and moisture.
In very dusty or dirty areas. Dirt and dust can collect in the smoke alarm and compromise the functional reliability.
At a distance of less than 1.50 m from fluorescent lamps.
Installation
WARNING! To avoid accidents, the smoke alarm should be correctly installed onto the ceiling as outlined in the assembly instructions.
CAUTION! DANGER OF ELECTRIC SHOCK! Make sure that you do not damage electrical cables in the ceiling during installation.
The device is equipped with an installation plate which allows it to be installed on ceiling. The enclosed fastening materials are suitable for concrete surfaces.
For other substrates, appropriate fastening materials must be obtained from specialist retailers.
Select a suitable installation position for the device in the room to be monitored.

- Remove the device from the mounting plate.
- Mark the positions of the boreholes by using the mounting plate and a pen.
- Drill the marked holes (5.5-mm drill bit, approx. 25-30 mm deep with concrete ceilings / 2.5-mm drill bit approx. 20 mm deep with wood panelling or beams) and insert the dowels.
- Screw down the mounting plate.
- Insert the batteries into the device.
- Place the device on the mounting plate and screw down in clockwise direction.
Normal operation
In normal operation, the device LED flashes once every 50 seconds.
Functional test
ATTENTION: MAY CAUSE DAMAGE TO THE EARS! The smoke detector produces a very loud and shrill alarm which may cause damage to the ears. Therefore, keep a minimum distance of 50 cm during the functional test.
We recommend to check the device once a week to ensure the proper function. Press and hold the test / teach button for at least 4 seconds until you hear the alarm. The alarm sounds rapidly three times in a row. After a break of 1.5 seconds, the alarm pattern will be repeated twice until the test / teach button is released. If there is no or another signal, there is a defect or the battery is exhausted. If the functional test is not successful, exchange the device.
Mute function
If the smoke detector triggers an unwanted alarm, e.g. by cooking fumes, dirt or similar, the alarm of the smoke detector can be muted or the alarm acknowledged for 10 minutes via the test button. After pressing the test button (about 1 second), two beeps sound and the red LED flashes every 8 seconds to indicate that the smoke detector is muted. Sensitivity is minimized to the point where there is no false alarm.
However, it remains operational so that the smoke detector triggers an alarm as soon as the smoke concentration continues to rise sharply. This desensitisation of the smoke chamber is automatically cancelled after 10 minutes. The smoke alarm has returned to its normal sensitivity.
Alarm sounds

The alarm will stop only when there are no smoke particles detected and the ambient temperature sinks to 54 °C.
When the alarm sounds, please verify if there is a fire. In case of a fire, immediately leave the building and call the fire brigade.
Downloading the BRENNENSTUHL®CONNECT app
The WiFi smoke and heat detector is controlled by means of the brennenstuhl®Connect app. The app is available free of charge in the app store and in the Google Play Store.
For the download and the installation, follow the instructions on the screen.

Google, Google Play and Google Home are trademarks of Google LLC.
Apple and the Apple logo are trademarks of Apple Inc. App Store is a service mark of Apple Inc.
Commissioning the WiFi smoke and heat detector
- Start the brennenstuhl®Connect app.
- Using the “+” symbol, you can add new devices.
- In the “Others” category, select the “Others” device type.
- Set the WiFi smoke and heat detector into teaching mode by pressing the test / teaching button 3x within 2 sec. In the teaching mode, the circle is illuminated in red.
- Afterwards, follow the instructions in the app to connect the WiFi smoke and heat detector with your network.
Cleaning the device
The WiFi smoke and heat detector must be cleaned at least once per month.
Before the cleaning, remove the battery.
Clean the device with a dry, non-linting cloth. In case of more serious contamination, you can slightly moisten the cloth.
Do not use solvent-containing detergents for the cleaning. Otherwise, the surface and labelling of the device may be damaged.
Never immerse the device in water or any other liquids. Otherwise, the device may be damaged.
Reinsert the battery after the cleaning and carry out a functional test (see chapter “Functional test”
Disposal
The packaging is made from environmentally-friendly materials which can be disposed of through your local recycling facilities.
Contact your local refuse disposal authority for more details of how to dispose of your worn-out product.
To help protect the environment, please dispose of the product properly when it has reached the end of its useful life, not in the household waste.
Please contact your municipality for information on collection facilities and their opening hours.
Faulty or drained batteries must be recycled in accordance with Directive 2006/66/EC and its amendments. Return batteries and / or the device to the available recycling facilities.
Improper disposal of batteries can harm the environment!
Never dispose of batteries in your household waste. They may contain toxic heavy metals and are subject to hazardous waste regulations. The chemical symbols of the heavy metals are: Cd = cadmium, Hg = mercury, Pb = lead. Therefore dispose of used batteries through your local collection facilities.
Service
If you have questions concerning the product, please do not hesitate to contact us at www.brennenstuhl.com. Phone: 0080048720741 (free of charge)
Manufacturer
Hugo Brennenstuhl GmbH & Co. KG
Seestraße 1-3 ∙ D-72074 Tübingen
lectra technik ag
Blegistrasse 13 ∙ CH-6340 Baar
H. Brennenstuhl S.A.S.
4 rue de Bruxelles ∙ F-67170 Bernolsheim
Declaration of conformity
We, the Hugo Brennenstuhl GmbH & Co. KG, herewith declare that the remote system type WRHM01 complies with the directives 2014/53/EU and 2011/65/EU (RoHS II) incl. 2015/863/EU. The complete text of the EU declaration of conformity is available at the following web address:
www.brennenstuhl.com/konformitaetserklaerung/ke_1290090.pdf
Declaration of performance
Important: The Declaration of Performance is available for downloading on
www.brennenstuhl.com, right next to item WRHM01 / item no 1290090.
This device complies with all legal, national and European requirements. All company names and product designations contained herein are trademarks of the respective owners.
All rights reserved.
Read More About This Manual & Download PDF:



















