MFG.CO., INC.
110 Fairgrounds Drive • P.O. Box 188 •Manlius, NY 13104-0188 USA •315.682.9176 •FAX: 315.682.9160
OPERATOR’S MANUAL

Model 72D
Twin Blade Rotary
Wire Stripper
PRODUCTION WIRE PROCESSING EQUIPMENT
Website: www.carpentermfg.com
e-mail: [email protected]
CARPENTER MODEL 72D TWIN BLADE ROTARY WIRE STRIPPER
INTRODUCTION
Thank you for choosing Carpenter Mfg. Co. Inc. Wire Processing Equipment.
For over 60 years Carpenter has been a leader in Wire Processing Technology and Service. Our desire has always been to bring you reliable products.
We look forward to a long healthy relationship with you and our company. The MODEL 72D can process a wide range of cables as referenced on the following page.
These processing specifications are based upon the most commonly manufactured cables. Special applications may arise with cables that are within the specification limits of the machine but are very difficult or unsuccessful to process. Likewise, cables that exceed the specified limits of the machine can sometimes be processed. Because there are many variables involved in Wire Processing we strongly recommend a free Wire Evaluation at our factory followed by a demonstration from a Carpenter representative to ensure the ultimate success of your Wire Processing Application.
This operating manual explains how to operate the MODEL 72D.
To ensure the best performance of your machine, read this manual carefully until you familiarize yourself thoroughly with its operation and features.
After you have read through the manual, keep it available for reference.
Use this manual as a quick and handy reference tool for clarifying any questions that may arise. If you have any questions about this machine or service please let us know.
Our phone number is 315-682-9176, fax number 315-682-9160,
Website: www.carpentermfg.com, E-mail: [email protected].
Carefully unpack the Carpenter MODEL 72D.
We recommend that you keep the original box and packaging as it will protect the machine for future transportation if necessary.
IMPORTANT NOTICE
The products in this shipment left our facility in good working condition. Their safe delivery is the responsibility of the carrier that delivered this shipment to you. Our stated shipping terms are F.O.B. our facility at 110 Fairgrounds Drive, Manlius, NY 13104. According to applicable laws, the responsibility for this shipment was transferred to you as soon as the carrier accepted the goods at our warehouse. If the concealed damage is discovered after unpacking this shipment, you must submit a damaged freight claim with the carrier. Carpenter Mfg. Co., Inc. cannot submit your claim for you. In order for you to collect for concealed damage, the carrier must be notified within 5 days of the date you receive this shipment. You must leave the damaged items and packing material as is (i.e. return all merchandise and all packing material to the shipping container) until the claim has been inspected by the carrier. Also, the carrier will not accept a claim if the goods have been moved from the point of the carrier’s delivery to another street address. If you have any questions or problems, please give us a call at (315) 682-9176.
CAUTION
This equipment comes equipped with a LEXAN safety guard.
**IMPORTANT**
Do not attempt to defeat the function or purpose of this safety guard.
Serious injury to the operators’ eyes, fingers, or other body parts may result from attempts to operate this equipment without the safety guard.
APPLICATION
The Model 72D Twin Blade Rotary Wire Stripper is designed to strip a multitude of insulated wires up to .750” (19mm) overall O.D.
SAFETY GUARDING
The Model 72D comes equipped with LEXAN guarding. **IMPORTANT** DO NOT ATTEMPT TO DEFEAT THE FUNCTION OR PURPOSE OF THE SAFETY GUARD. SERIOUS INJURY TO THE OPERATOR’S EYES, FINGERS OR OTHER BODY PARTS MAY RESULT FROM ATTEMPTS TO OPERATE THE MODEL 72C WITHOUT THE SAFETY GUARD.
WIRE GUIDE SELECTION
Select a wire guide with the smallest inside diameter that slips freely over the outside diameter of the wire to be stripped. Standard wire guides available (inches):
.120, .136, .152, .169, .185, .201, .218, .234, .250, .265, .281, .297, .312, .328, .343, .359, .375, .390, .406, .421, .437, .453, .468, .484, .500, .515, .531, .546, .562, .578, .593, .609, .625, .640, .656, .671, .687, .703, .718, 734, .750
MACHINE SET UP
Turn push plate stop nut to vertical position and swing push plate down exposing faceplate. Slip wire guide into the faceplate. Re-latch push plate.
Push Plate Adjustment: Avoid wire guide contact with a blade in a relaxed position by setting push plate stop nut to permit 1/16” clearance between wire guide flange and push plate at-rest position.
Blade Adjustment: Slide Safety Guard backward. Loosen blade block locking screw #1758. Set blades to conductor Bthickness. To adjust blades “in”, turn blade adjusting screw #2711 clockwise; to move blade “out”, turn counter-clockwise. Re-tighten blade block locking screw #1758. Return Safety Guard to the closed position.
MACHINE OPERATION / TRIAL STRIP
TRIAL STRIP
Adjust stop rod to strip length desired by loosening thumbscrew #3877 located at the rear of the machine. The stop rod collar is used to offer a larger target when long strips are being utilized. Turn unit on.
Steps:
A. Depress push plate with one hand, allowing blades to open just enough to insert the wire.
B. With another hand, insert wire through wire guide to stop rod (adjusted for strip length).
C. Allow blades to close completely on wire by slowly removing pressure on push plate and withdrawing wire slightly as blades grip and sever insulation.
D. Pause momentarily with hand-off push plate.
E. Withdraw wire sharply.
Note: Cycle time may be shortened as the technique is perfected.
Final Blade Adjustment: If blades contact conductor, move blade adjusting screw #2711 counter-clockwise. If slug has not been removed, turn clockwise. Cut off trial strip and repeat if necessary. Make certain to always re-tighten blade block locking screw #1758 after having made blade adjustments.
NEVER INSERT ANYTHING BUT INSULATED WIRE INTO THE FACEPLATE OR BLADE DAMAGE MAY OCCUR.
BLADE CHANGE / CENTERING BLADES
Blades are factory centered, re-center only after new blades have been installed.
When installing new blades and/or centering blades the faceplate must be removed. Turn the machine off and unplug. Slide Safety Guard backward and un-hook drive belt. Loosen faceplate set screw #1481 and push faceplate out the back of the machine.
CENTERING BLADES
Un-hook blade block spring #2710, loosen centering lock screw #5395, and blade block lock screw #1758. Insert a centering gauge (supplied with machine) through the faceplate in the same manner as you would a wire guide so that a small diameter of the gauge is between blades. Then turn the blade adjusting screw #2711 until both blades make contact with the centering gauge. Tighten blade block lock screw #1758; turn to center screw #2848 to contact blade adjusting screw #2711; tighten centering lock screw #5395. Re-hook blade block spring, loosen blade block lock screw and turn blade adjusting screw counter-clockwise to allow the centering gauge to drop out. Re-tighten blade block lock screw. Re-install faceplate by turning until grooved section is aligned with faceplate set screw. Hook up drive belt. Return Safety Guard to closed position.
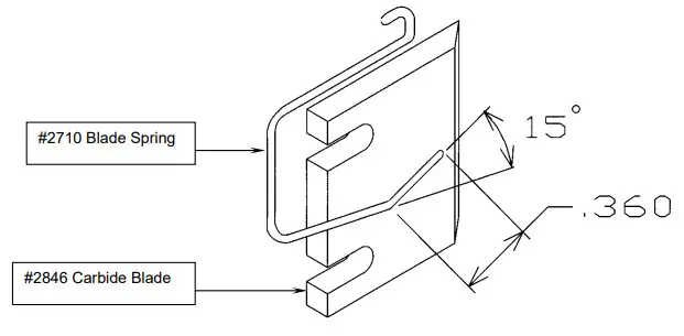
BLADE SPRING CHANGE
Before installing new blade springs #2710, bend spring as shown for the left and right side.

WARRANTY
Carpenter Mfg. Co., Inc. manufactures its products to be free from defects in materials and workmanship. Should any defect occur within 1 year after shipment, Carpenter Mfg. Co., Inc. will at its option, exchange or repair the defective device.
Repairs or adjustments to equipment under warranty can be performed at our factory or at the customer location, at the option of Carpenter Mfg. Co., Inc. In most cases a 1-2 day turnaround time will be necessary to repair equipment at our facility. When equipment is returned to our factory for repair or replacement, freight charges will be borne by the customer. Repaired or replaced equipment will be returned at Carpenter’s expense via U.P.S.
ground service. If alternate shipping is requested by the customer, the difference in shipping charges will be billed to the customer.
This is a limited warranty and is in lieu of all other representations and expressed and implied warranties (including the implied warranties of merchantability and fitness for use.) Under no circumstances shall Carpenter Mfg. Co., Inc. be liable for any incidental or consequential property damages or losses subsequent to misuse or improper maintenance of this equipment.
Not covered by this warranty are:
- Consumable parts (blades, belts, guides, springs, inserts, stripping wheels, etc.)
- Cosmetic problems (nicks, scratches, etc.)
- Damages caused by any repairs or modifications by unauthorized personnel
- Abuse
- Damage caused by shipping
- Damage caused by environmental and/or atmospheric conditions.
- Damage caused by the use of contaminated compressed air.


CARPENTER MODEL 72D
TWIN BLADE ROTARY WIRE STRIPPER
Phone: 315-682-9176 Fax: 315-682-9160
Revised 1-4-17
Website: www.carpentermfg.com
E-mail: [email protected]













