gvmled TQ-M Great Video Maker User Manual
PRODUCT INTRODUCTION
Welcome to use “TQ-M”, this product is specially created for senior photography enthusiasts, the product can solve the problem of forgetting words and wrong words in live broadcast/studio photography/YouTube video shooting, making the broadcast more relaxed and natural. The main features of the product are:
- The base and bracket made of aluminum alloy make the equipment both
light and strong. - The whole set of equipment adopts a simple and user-friendly hand-twisted screw structure, which is quick to install and has a multi-position installation method. The distance between the camera/tablet clip/mobile phone clip and the mirror screen and the camera height can be adjusted as needed. The operation is simple and the control is convenient.
- Compatible with the installation of various photographic equipment such as SLR/digital.
- The mirror plane adopts a colorless beamsplitter, a multi-layer dielectric coating (hard film) on the surface, no light loss, suitable for the various high-de finition lens, wide-angle design, prompter document display is clear, no re flection, and no flaws will be exposed during shooting.
We firmly believe that the correct use of this product will be of great help to your shooting work. It is strongly recommended that you carefully read the following user guide before using the product.
DISCLAIMERS
- Before using this product, please read the instructions carefully and make sure use the product correctly. If you don’t obey the instructions and warnings, you maybe cause harm to yourself and the people around, or even damage the product and other things around.
- Once you use this product, you are deemed to have read the disclaimer and warning carefully, understand and acknowledge all the terms and contents of this statement, and promise to take full responsibility for the use of this product and possible consequences.
PRODUCT DETAILS
- Brand : GVM
- Product model : TQ-M
- Product Type : Photography accessories
- Product Name :Teleprompter
- Product Weight : 2.2KG
- Product load : 10KG
- Product Size(mm) : 500×265×255
- Product material : Aluminum alloy
- Function / Feature :
① Compatible with mobile phones and tablets.(within 10.5 inches)
② Lightweight and easy to assemble and simple to operate.
③ A variety of photography equipment including mirrorless cameras,
SLR cameras, and camcorders can be used. - Commodity origin : China. Huizhou
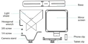
PRODUCT STRUCTURE ANALYSIS
Before assembly
After assembly
INSTALLATION METHOD
- As shown in the figure below, install the mirror screen on the base, and use the hex wrench to tighten the screws.


- As shown below, install the teleprompter base to the tripod.

- As shown in the figure below, attach the camera bracket to the base and
tighten the locking knob. (The picture below shows the installation method of the camera stand front high rear low, you can also install the camera stand front low rear high).
- As shown in the figure below, the camera bracket is equipped with two
camera mounts for height and height. Install the camera in the appropriate position according to the needs. Tighten the screw locking equipment (equipped with 1/4 screw and 3/8 screw each, the bracket also has 1/ 4 and 3/8 screw holes, choose the appropriate screw according to your needs).
- As shown below, put the shading cloth behind the mirror screen on the lens.

- As shown in the figure below, install the tablet clip/phone clip to the base and tighten the locking knob.
Tablet clip installation
Phone clip installation
- As shown in the figure below, pull the tablet/phone clip apart, and then
install the tablet/phone.
Tablet installation
Mobile phone installation
- As shown in the figure below, attach the shading plate to the mirror screen. At this point, the teleprompter is installed and you can shoot.

FUNCTION INSTRUCTION & INSTRUCTION FOR USE
① Reflect the content displayed on the tablet/phone :
The mirror screen can re flect the content displayed on the tablet/mobile phone below when the camera is shooting, so that the person who is photographed looks directly at the lens, and the content of the tablet/mobile phone can be seen in the mirror screen, which has a good mention for the person being photographed Function without affecting the shooting.
② Compatible with various photographic equipment :
Equipped with one each of 1/4 and 3/8 screws, and 1/4 and 3/8 screw holes on both ends of the photographic equipment bracket, you can install photographic equipment with 1/4 or 3/8 screw holes on the bottom (such as SLR, Cameras, digital cameras, DV machines, etc.).
③ Easy to adjust :
The camera bracket has two equipment mounting seats for height, and the bracket can be installed as required. In addition, the distance between the camera bracket and the mirror screen and the distance between the tablet clip/mobile phone clip and the mirror screen can also be adjusted. It can be easily adjusted by releasing the lock knob under the bracket. After adjustment, tighten the lock knob.

APP PLAYBACK SETTINGS
Scan the QR code on the back of the manual to download the APP
Open the “GVM Teleprompter” software on your mobile phone → enter the APP, you can use. The APP sets the content, font size, playback speed, background color and whether to mirror the prompt.
- On the main interface of the APP, click “ + ” in the upper left corner to
create a play file, you can choose “Add directly” is written on the APP,
and can also import existing txt or Word files on the phone. The play
file is created → a new play file appears on the main interface of the APP. - On the main interface of the APP, click on the right side of the file to be set:
“
” Delete Files;
“
” Modify the content of the file;
”
” To enter the play interface → click “
” on the play interface to - start / pause the text; Click “ ” in the lower right corner to set the font
size, playback speed, and background when playing text.Color and
whether it is mirrored; click on the “ ” in the lower left corner to return to the main interface of the APP. - On the main interface of the APP, click “ ” in the upper right corner to enter the setting interface → click on the play setting to enter Enter the playback setting interface. Here you can also set the font size and broadcast, Play speed, background color and whether to mirror.
REMOTE CONTROL APP
When using our APP to play text, you can use the Bluetooth controller we allocate to. The text playback is controlled by “start/pause”. The controller connects to the APP via Bluetooth Take control. Turn on the phone’s Bluetooth → find the Bluetooth named “AB Shutter3” and connect → wait Connection → After the connection is successful, press any one of the two buttons of the controller to control “Start / Pause” of APP text playback.
Bluetooth remote control
PRECAUTIONS
- The product is not waterproof, please use it in rainproof environment.
- The product is not anti-corrosion, therefore do not let the product touch
any corrosive liquid. - When using the product, make sure the product is put firmly and prevent from falling and damage.
USE AND PRESERVATION
Do not store the machine in a highly humid, direct sunlight environment.
Cleaning: Please use a damp cloth for cleaning. Do not use any detergent or soluble liquid, otherwise, it will damage the surface processing layer.
Maintenance: If the machine is faulty or the performance is degraded, please do not repair it by yourself, so as not to damage the machine and lose the right of warranty. In case of machine failure, please contact us in time, we will do our best to do our best for you.
Accessories : Please use the accessories provided by manufacturer and approved ones, in order to maximize the performance.
Guarantee: Do does not modify the product, or you will lose the right of maintenance.
PACKING LIST
| Name | Quantity | Notes |
| Base | 1 | |
| Mirror screen | 1 | |
| Camera stand | 1 | |
| Tablet clip | 1 | |
| Phone clip | 1 | |
| Light shield | 1 | |
| Hexagonal wrench | 1 | |
| 1/4 screw | 1 | |
| 3/8 screw | 1 | |
| Bluetooth remote control | 1 | |
| User Manual | 1 |

GVM Official website
Facebook
Download APP
Web: www.gvmled.com
B&H Email: [email protected]
GVM Email: [email protected]
Amazon Email: [email protected]
Warehouse Add: 4301 N Delaware ave, unit D. PHILADELPHIA, PA19137, USA





























