Instruction Manual
INSPIRATION CS 2.3

INSPIRATION CS 2.3 Audio Video Manufacturing GmbH
Caution
(just a little advise to be careful)
This device contains a class 1 laser diode. Please do not open the housing or other covers at any time, otherwise invisible laser light could damage your eyes. All maintenance must be left to qualified service personnel.
Important notice: Fuses may only be exchanged with the identical type & value, tempting with other than the original fuses will void all warranties.
| Laser diode type: | Ga-Al-As |
| Wavelength: | 755 – 815 nm (25 °C) |
| laser power : | max. 0,7 mW (continuous powe) |
CLASS 1 LASER PRODUCT
LASER CLASS 1
Declaration of Conformity
We confirm that the device to which these operating instructions belong complies with the EC directives valid at the time of printing for obtaining the mark. The necessary
tests have been carried out with positive results.
RC X APP:
![]()
AVM Audio Video Manufaktur GmbH
Daimlerstraße 8
D-76316 Malsch
WWW.AVM.AUDIO
[email protected]
https://avm.audio/
MAKING OF AVM
AUF WWW.AVM.AUDIO
We welcome you to AVM!
We are pleased that you have chosen an audiophile masterpiece from AVM and thank you for your trust. With the INSPIRATION CS 2.3, you have acquired a sonically outstanding and versatile high-end component with a far-reaching range of functions. In the following document, we would like to explain the use of your INSPIRATION
CS 2.3 All-in-One system in a comprehensive way and therefore ask you to take a little time to study this manual in detail.
Please note: As the functionality of your INSPIRATION CS 2.3 can be extended in no time by future software updates, it is naturaly that the present manual must also be supplemented. The latest version of these operating instructions is therefore available for free download from our website at www.avm.audio.
And finally, the most important thing: We at AVM and our dealers are always happy to help you. If you have any questions, requests or suggestions, please contact us at any time. And if you are satisfied with us: Feel free to recommend us to others.
Udo Besser – AVM Owner & Manging Director
Setting up the CS 2.3
1.1 Scope of delivery
- INSPIRATION CS 2.3 Compact Streaming CD Receiver
- 2 pcs. WLAN/Bluetooth antennas
- 1 Power cord
- 3 pairs RCA plugs for PHONO MC adjustment
- 1 pair of white gloves
- Optionally available RC 3 / RC 8 radio remote control
- Optionally available RC 9 / RC 10 RF/IR remote control with color display
NOTE: After unpacking please check the CS 2.3 unit, accessories for completeness and/or damages which may have ocurred during transport and shipping. If the original packaging has already been opened, please contact your specialist dealer. Often a dealer will prepare your new device for use in your network before delivery. In addition, we deliver all of our network-capable devices with a current version of the streaming software, which may, however, has to be updated again during the initial installation (for details on updating the streaming software, please refer to Section 1.14).
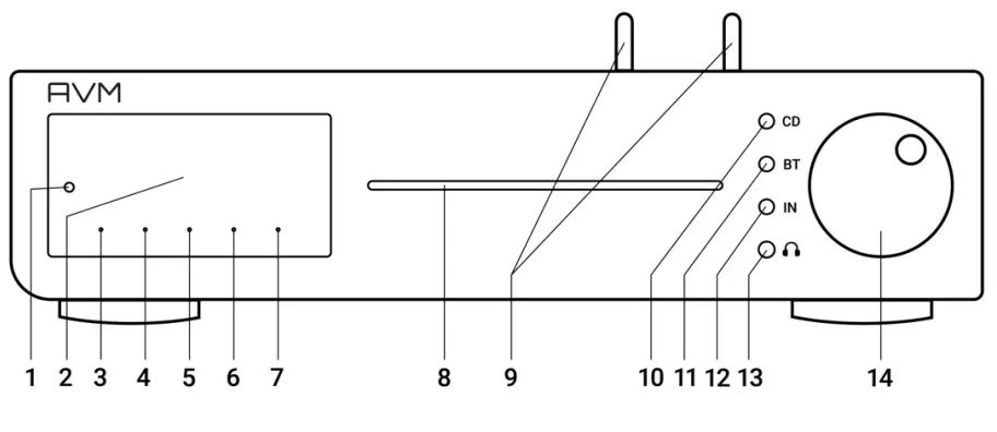
1.2 Overview
In this manual, there are numbers behind the names of the individual elements, which refer to the following drawings.

- Stand-by LED
- Display
- Menubutton 1 with LED
- Menubutton 2 with LED
- Menubutton 3 with LED
- Menubutton 4 with LED
- Menubutton 5 with LED
- CD slot
- WLAN/BT Antenna(s)
- Source selector CD Player
- Source selector BT/Bluetooth
- Source selector
- Headphone Output
- Volume selector

| 15 Antenna socket WLAN / BT 16 Antenna socket WLAN 17 Power switch 18 Primary fuse 19 AC Mains 20 Reset button 21 Coax digital input 22 USB port for RC9/10 dongle 23 Optical digital output 24 USB input (hard drivel | 25 Coax didital input 26 Ethernet (LAN) 27 Optical digital output 28 HDMI ARC input 29 loudspeaker outputs 30 PRE out 31 LINE out 32 Analog inputs (RCA) 33 Phono input 34 Load input 35 Grounding for turntable |
1) In addition to WLAN (16), the CS 2.3 is equipped with another antenna for receiving Bluetooth signals (15). Both antennas are identical and interchangeable, each one may be installed to both antenna connections (15/16).
1.3 Installation and cooling
The power amplifiers of your CS 2.3 need cooling. Therefore it is very important that the air intake from below as well as the outflow of the heated air to the rear panel remains unobstructed. Make absolutely sure that the CS 2.3 is placed as free as possible on a solid base. The ventilation slots on the underside of the unit must not be closed to avoid overheating. In addition, the CS 2.3 should be protected from direct sunlight.
1.4 Power connection
Connect the supplied power cable to the mains power connector (19) and to a grounded socket.
NOTE: Please leave the unit switched off for the time being (mains switch (17)) in zero position until you have made all cable connections to the rest of the system. Additionally, please pay attention to the phase labeled on the unit
2 IMPORTANT: The USB interface is only intended for USB sticks/thumb drives or hard disks.
1.5 Connecting analog sound sources
Connect analog signal sources to the analog inputs (32) using suitable cables. The left channel is connected to the upper row of sockets, the right channel to the lower row of sockets.
1.5.1 Line level sources (RCA)
Connect the line sources to the RCA connector (32).
NOTE: Please leave the unit switched off for the time being (power switch (17)) in zero position until you have made all cable connections of the entire system. In addition, pay attention to the phase labeled phase.
1.5.2 Phono input
The record player (turntable) is connected to the phono input (33). Connect the grounding cable to the ground connection (35). The phono input is suitable for MM-systems and/or MC cartridges. After selecting the phono input, you may select the following in the MENU (menu key (6)) under the option “Phono Pickup” the different systems MM or MC may be selected. Depending on the design principle of the pickup system used, select either MM for electromagnetic cartridges (MM = Moving Magnet) or MC
for or electrodynamic cartridges (MC = moving coil). Whether your pickup system works according to the MM or MC principle, please refer to the corresponding documentation of your turntable or cartridge. Please note that with a ‘loud’ MC system, the MM setting may also be used. For further set-up information, please refer to the operating instructions of your turntable or cartridge.
For the adjustment of capacitance with your MC pickup system please use for the RCA load plugs (see section 2.7 for details). The suggested value (100, 200, 1000Ohms) is recommended by the manufacturer of your cartridge.
1.6 Connecting digital sound sources
Connect digital signal sources to the digital inputs (23, 26, 27) using suitable cables.
1.6.1 Coaxial or optical digital inputs
Connect the supplied power cord to the mains power connector (18) and a grounded socket.
1.6.2 HDMI ARC (Audio Return Channel)
When using an ARC-compatible TV, you only need a suitable HDMI cable for inputting audio signals from the TV and for transmitting HDMI control signals. Simply connect your ARC-capable TV to the ARC input (24) on your CS 2.3.
NOTE: The HDMI connection is an input only and does not play any visuals.
ATTENTION : Only stereo audio signals can be processed via the HDMI ARC. This means that you must switch your source device (e.g. your TV) to the PCM audio track.
1.7 Connecting analog recording devices
To operate an analog recording device, connect its inputs to the LINE analog output (31). Connect the analog outputs of the recording device to one of the high level inputs (32).
1.8 Connecting digital recording devices
To operate a digital recording device, connect it to the optical or coaxial digital outputs (25, 26). Depending on the selected sound source, the digital output carries the corresponding signal (i.e. CD player, DIG OPT, DIG COAX, etc.).
1.9 Operation with subwoofer
You can connect an active subwoofer to the PRE OUT (30) connectors.
1.10 Connecting the loudspeakers
The speaker outputs of the CS 2.3 are equipped with gold-plated speaker terminals, capable of using spade plugs or 4 mm banana jacks. To connect the loudspeakers you therefore need cables with the appropriate corresponding plugs. These are connected to the speaker outputs (29) of the CS 2.3 connected. Please make sure to use speaker cables of good quality and with a sufficient diameter to ensure best results. In case of doubt, contact your specialist dealer to recommend the best cable for your loudspeakers in terms of sound quality.
When connecting the speakers, observe the correct polarity, the rede socket is for +, the black socket for -. The red marked output sockets of the CS 2.3 must be connected to the red speaker terminals or to the speaker terminals marked with a plus (+) sign. Right and left channel have to be connected with the same polarity to the loudspeakers.
1.11 RC Remote Control
The optionally available RC 9 or RC 10 remote control allows you to control your AVM device conveniently and comprehensively. Before both components can be used together, they must first be paired with each other. This one-time process is called pairing and sets up a wireless connection between the RC 9 remote control and your device (see section 1.11.1). A detailed description of the entire functional scope of the RC 9 or RC 10 remote control can be found in a separate operating manual at www.avm.audio.
Important notice: A RC Dongle will be required to operate the RC 9 or RC 10, please contact your specialist dealer for this.
1.11.1 Pairing
Pairing is the process of establishing a wireless connection between an RC 9 / 10 remote control and your device.
There are two ways to start the pairing process:
- You can start pairing via the RC X app from AVM. You can find the Start Pairing option in the Settings under the RC 9/10 Remote Control item. Once you have started the pairing process via the app, you need to start the pairing process in the RC 9/10 remote control shortly after using the navigation buttons as well.
- To start the pairing process without the RC X app, switch on the device via the power switch on the power switch on the back of the device (31). Then navigate in the
menu of the RC 9 remote control, use the upper or lower navigation button to navigate to the menu item Start Pairing, but without selecting it by pressing the Enter key.
First switch the device on again using the power switch on the rear panel (31) and then immediately press the Enter key of the RC 9/10 remote control to start the pairing process. After a short search process, the name of a successfully detected device is shown in the display of the remote control and can be further adjusted via the input keys. In addition, it is possible to assign one of four hotkeys to the device (details on how to use the hotkeys can be found in a separate RC 9/10 user manual on the AVM website at www.avm.audio.) By pressing the Enter button on the RC 9/10 again, the pairing process is completed.
1.12 RC X App for iOS and Android
The RC X App for iOS and Android turns your smartphone or tablet into a handy remote control and offers a variety of intuitive functions for using all streaming-capable models from AVM with integrated AVM X-STREAM Engine®. The RC X app is available for free download from the Apple App Store and the Google Play Store.
1.13 Network installation (LAN, WLAN)|
To use the extensive streaming and network functions such as Spotify Connect®, Apple AirPlay, TIDAL, QOBUZ, HIGHRESAUDIO, web radio, podcasts or music-server, your device must be connected to your home network or the Internet via a router. For this purpose, you can choose between a wired LAN connection via the network connection (22) or a wireless WLAN connection (WiFi) via the supplied WLAN antenna. When mounting the supplied WLAN antenna onto the corresponding WLAN antenna connector (16), please make sure that the antenna is straight aligned.
LAN VS. WLAN:
If you have the choice between a wired LAN or wireless WLAN connection, we generally recommend using a wired LAN connection, which usually allows a higher bandwidth and is also less susceptible to interference and more independent of the data traffic of your entire network.
NOTE: All AVM devices with integrated AVM X-STREAM Engine® prefer a wired network connection (LAN)) and will automatically access it as soon as a network cable is installed on the device and the WLAN connection is automatically switched off. For a smooth continuous operation via a wireless WLAN connection, remove any connected network cable (LAN) from the network connector (23).
Otherwise, the device will re-establish a wired network connection even during operation, as this is preferred to the WIFI by the device.
Proceed as described below to start the installation of a wired or wireless network connection.
1.13.1 Setting up a wired network connection (LAN)
All AVM devices with integrated AVM X-STREAM Engine® are hot-pluggable. That means that to establish a wired network connection, it is not necessary to restart the AVM device or switch it off and on again, but a network cable (LAN cable) can be connected during operation and a network connection is established immediately.
a) Connect the device to a router in your home network using a network cable (LAN cable) by connecting the LAN cable to the network port of the AVM device (22) on one side and to a free port on your router (LAN) or a network switch on the other side.
b) The device will automatically connect to your home network via the connected LAN cable and is ready for use.
c) Make sure your smartphone or tablet is connected to the same network/WLAN as your AVM- device and start the RC X app. After a short startup process, the RC X app will automatically search for available AVM devices in your network and list them with their respective device name and IP address. You can recognize an IP address by a sequence of numbers separated by several dots. An IP address often starts with “192.168.xxx.x”, for example.
d) Select an available device from the list by tapping on it and wait a short moment until a connection is a short moment until a connection is established between your smartphone or tablet and the device. is established.

NOTE: If you do not see an available device, check whether the network cable is installed correctly and that the AVM device is on the same network/WLAN as your smartphone or tablet. Then drag the view in the RC X app down a bit to search for available devices again. Please also note that the RC X app is only compatible with AVM models with integrated AVM X-STREAM Engine®. A current model overview can be found at: www.avm.audio/rc-x-app.
e) To check the network status, launch the RC X App and select the AVM device.
f) In the settings, call up the Network Info menu item. In the Wired section you can view details about the network connection that has been made.
1.13.2 Setting up a wireless network connection (WLAN / WiFi)
To set up a wireless network connection (WLAN/WiFi), you have various options are available:
WPS
AirPlay- configuration for iOS
RC X App for Android & iOS via WiFi Access Point Appears as Softap xx.xxxx)
RC 9/10 remote control
1.13.2.1 Setup via WPS
WPS (Wi-Fi Protected Setup) is a standard to easily and securely establishing a wireless network connection with encryption. To set it up, you only need a WLAN router with WPS function. To find out if your WLAN router is equipped with WPS, please refer to your router’s documentation of your router. The setup of a WPS connection is done via the Personal Setup menu of your AVM device. For details on the full functionality of the Personal Setup menu, see Section 3.8 Personal Setup.
To enter the Personal Setup menu, press and hold the button below “MENU” until “SETUP” appears instead of “MENU” and then release the key.
In the Personal Setup menu, individual menu items can be selected with the menu keys (4) and (5). and activate them with the SELECT menu key.
g) Now use the menu keys (4) and (5) and the key under SELECT to select the menu item WPS.
h) Activate the WPS function by pressing the START menu key. The display shows the display WPS in progress.
i) Now activate the WPS function on your WLAN router within two minutes.
j) As soon as your AVM device has successfully established a WLAN connection via WPS, the name of the connected WLAN is shown on the display, e.g.: Joined WLAN: WLAN name (SSID).
k) To finish the process, press the BACK menu button and then exit the Personal Setup menu by pressing the EXIT menu key. Now your device is back in the normal operating state.
l) Your AVM device is now integrated into your local wireless network (WLAN/WiFi) and is ready for operation.
m) To check the network status, launch the RC X app and select the AVM device..
n) In the settings, call up the Network Info menu item. In the Wireless section you can view details of the WLAN configuration that has been performed.

1.13.2.2 Setup via AirPlay configuration for iOS
a) First switch off the AVM device completely via the power switch on the back (17) and wait a short moment until you switch it on again via the power switch.
b). As soon as your AVM device has completed the start-up process and is in the general operating state, call up the WLAN menu in the settings of your iPhone or iPad. Make sure that the WLAN functionis switched on and your iPhone or iPad is connected to the desired WLAN.

c) In the WLAN menu, under the SET UP NEW AirPlay Speaker menu item, select the AVM device that you want to connect to your WLAN. In the example below, the AVM device is listed as CS 2.3-00c440. Wait a moment if the device is not displayed immediately. Your iPhone or iPad continuously searches for new devices and updates the view of available WLAN networks at short intervals. If necessary, repeat the power on the AVM device as described above if the AVM device does not appear even after a short wait.
d) In the following AirPlay Configuration menu, check whether the desired WLAN is selected under NETWORK and, if necessary, change the device name for your AVM device under Speaker Name. Optionally, set a password. Then start the connection process by clicking Next. The WLAN access data including the password will now be automatically transferred from your iPhone or iPad to your AVM device. As soon as the configuration is finished, you will receive a corresponding feedback, which you acknowledge with Done. Your AVM device is now integrated into your WLAN and ready for operation.

e) To check the network status, download the RC X app for iOS from the Apple App Store and install it on your iPhone or iPad. Then launch the RC X app and select the AVM device from the Start menu.
f) In the Settings, go to the Network Info menu item. In the Wireless section, you can view details of the WLAN configuration that has been performed.

g) Use Scan to search for available WLAN networks and select the desired WLAN as soon as it is displayed in the search results. In the example below, the WLAN network has the name FRITZ!Box. A WLAN network name is also called SSID.
h). Enter the network key (WLAN password) for the WLAN network and complete the setup by clicking Connect.

i) Call up the Network info menu item in the settings. In the Wireless section, you can view details of the WLAN configuration that has been performed.
1.13.2.4 Setup via optional RC 9/10 remote control
Before you can set up a wireless WLAN connection via the RC 9/10, both components must first be connected to each other components must first be connected to each other. This one-time process is called pairing and is described in section 1.11.1. A detailed description of the entire functional scope of the RC 9/10 remote control can be found in a separate user manual at www.avm.audio.
a) First perform the pairing procedure as described in section 1.11.1 and then select the newly set up AVM device on the RC 9/10 using the Select device menu item. You can reach this menu item via the System Menu, which you can access by pressing the Settings button (tool icon) on the RC 9.
b) On the RC 9/10, select the Settings menu item in the main menu by pressing the upper or lower navigation key several times.
c) By pressing the Enter key, select the Network Wizard menu item and then WLAN Connection.
d) By subsequently selecting the Scan menu item, your AVM device searches for available WLAN networks and lists them in an overview.
e) Select the desired WLAN network and, after pressing Password, enter the network key (WLAN password) using the input keys of the RC 9/10.
f) Confirm the entered network key (WLAN password) by pressing the Enter key and select Connect.
g) In the following overview Network info, details on the WLAN configuration are displayed in the Wireless section.
1.14 Software & Firmware Updates
For maximum ease of use and to get the most out of your device, it is necessary to keep both the firmware of the integrated AVM X-STREAM Engine® and the RC X App up-to-date. You can find the latest version of the RC X App for download in the Apple App Store or the Google Play Store. To check the installed AVM XSTREAM Engine® firmware version, use the RC X App or the optionally available RC Remote Control. Also, make sure that your device has an active Internet connection before performing either of the following steps (see Section 1.13).
1.14.1 AVM X-STREAM Engine® Update via the RC X App
a) In Settings, go to the Update Firmware menu item and select Check for Online Update.
b) If a new version is available under SW Update or Host Update, install it via Update Firmware.
c) The device restarts to install the update. Do not switch off the device under any circumstances and wait until the update is completely installed. The update process may be shown on the display of the device.
d) As soon as the update process is complete, the device restarts and is ready for use again.
e) Call up the settings of the RC X app. In the Version section, you can view details about the currently installed firmware version.
To install a software update via a USB stick, please consult your dealer who will be happy to assist you with the update.
1.14.2 AVM X-STREAM Engine® Update via the RC X App
a) Select the desired AVM device on the RC 9/10 via the menu item Select device. You can reach this menu item via the System Menu, which you access by pressing the Settings button (tool icon) on the RC 9.
b) Select the menu item Settings in the main menu of the RC 9/10 by repeatedly pressing the upper or lower navigation key.
c) Call up the Update firmware menu item and select Check for online update. You do this via Update Firmware.
d) If a new version is available under SW Update or Host Update, install it via Update firmware.
e) The device restarts to install the update. Do not switch off the device under any circumstances and wait until the update is completely installed. The update process may be shown on the display of the device.
f) As soon as the update process is complete, the device restarts and is ready for use again.
g) In the main menu, select the Settings menu item by pressing the upper or lower navigation key several times. In the Version section, you can view details of the currently installed firmware version.
To install a software update via a USB stick, please consult your specialist dealer, who will assist you with the update.
Operating the basic functions
2.1 First switch-on and self-test
When the CS is switched on for the first time (mains switch to ON), a so-called self-test is carried out first, if the CS has been completely disconnected from the mains or switched off via the mains switch (16). The CS checks the configuration and functionality of the installed components. This process is indicated by a flashing stand-by LED (1) and may take some time.
2.2 Switching the device on and off
To turn on the device, set the power switch on the back panel to ON, then the device will start by default as described in the section above. To turn off the device, press and hold the menu button (6) for 6 seconds. Before the unit is is switched off, the text “Device switches to stand-by” appears in the display.
To switch on the device from standby, approach the control panel of the device and press the menu key under which the power symbol appears. You can adjust the used proximity sensor to your personal needs (see section 3.8.1.2).
ATTENTION: The device is not completely disconnected from the mains in stand-by mode. To disconnect completely from the mains, press the mains switch (17) on the back of the device or pull the power cable out of the IEC connector (18)
2.3 Selecting the sound source
You can select a local sound source by pressing the source selection button (12), the RC 3/ RC 8/ RC 9/ RC10 remote control or by using the RC-X app.
Selecting additional sound sources such as Spotify Connect®, Apple AirPlay, TIDAL, QOBUZ, HIGHRESAUDIO, web radio, podcasts, music server or USB drive (21) is done exclusively via the optionally available RC 9/10 remote control or the RC X app.
Spotify Connect®
Use your smartphone, tablet, or computer as a remote control for Spotify. Learn more at spotify.com/connect. In addition, after playing tracks once via the Spotify app, the source selection button (12) can be used to restart Spotify locally on the device (“RESUME-TO-LAST”).
AirPlay
AirPlay is a technology from Apple that allows you to control home audio systems and speakers in any room – with a tap of your finger or by simply asking Siri – directly from your iPhone, iPad, HomePod or Apple TV.
To use AirPlay on your CS2.3:
– Make sure your device is connected to the network.
– Open the app from which you want to use AirPlay on your IPhone or IPad.
– Tap:![]()
– Select your CS 2.3 as the AirPlay device.
NOTE: If a digital input is selected and there is no compatible digital signal, the display will show NO DIG SIGNAL or NO ARC SIGNAL instead of the volume indicator. In this state, the volume setting is not adjustable due to the selected digital input.
2.4 Volume adjustment
To adjust the volume, use the rotary control (14). The step size of the volume change depends on the turning speed of the rotary control (14). Slow turning causes a level change in steps of 0.5 dB, fast turning changes the volume in steps of 2 dB. The current setting is displayed numerically (0 to 99.5)
NOTE: If the volume falls below 0, mute appears on the display and the device is muted. If a volume limit is set in the settings (default 70%), mute appears on the display when the 99.5 lim is exceeded appears on the display. If the volume limit is reached via the APP, the message Volume limit reached is also displayed there.
Please also note that the volume change via the optionally available RC 10 remote control is always in steps of 1 dB.
Important note: The CS 2.3 is factory pre-set to 70% volume limit. To unlock the CS 2.3 to full rated power, please adjust the volume limit to your personal needs between 50 and 100%.
2.5 CD-Player
When the built-in CD player is selected, you can operate its basic functions with the five menu keys below the display. Advanced settings (repeat mode, shuffle etc.) are also possible via the extended CD player menu by briefly pressing the MENU menu key.
2.5.1 Inserting / ejecting the CD
Inserting the CD
The CS unit has a slot mechanism that is used to insert the CD. Push the CD (with the silver reflective layer facing downwards until the CD has disappeared in the slot up to approx. 3 mm) into the slot (9). It will now be drawn in automatically. The player then reads the CD’s table of contents and displays it. The current title is displayed on the left, next to it the total number of titles on the CD (e.g.: “1/17”). In the center of the display, the elapsed playing time is shown.
NOTE: If there is already a CD in the drive, the slot is blocked. If the CD is not readable, or you have accidentally inserted a data CD or a DVD, the display shows ‘no audio disc’.
Eject
The CD is ejected using the menu button marked with the eject symbol. If it is not inserted, the ‘no disc’ display appears and the key has no function.
AUTO-CD Function
If the CD player is not selected as the source, it switches automatically to CD mode when a CD is inserted.
2.5.2 PLAY, PAUSE, STOP
With one of the menu keys |<< or >>| you can select a certain title before playback. Short tapping switches to the next higher / next lower title. A continuous tap causes automatic jumps through the title numbers. The number of the currently selected title is shown above the selection keys in the display (TRACK). Pressing the PLAY menu button starts the playback. The key then changes its function to PAUSE. Pressing the key again pauses the playback process (PAUSE), pressing it again continues the playback (PLAY). During playback the title number and current playing time are shown in the display.
The STOP button stops the playback. Afterwards this menu key changes its function to EJECT and causes the ejection of the CD.
2.5.3 SKIP, SEARCH (track selection, search)
With one of the menu buttons |<< or >>| you can select a specific title during playback, or search for a specific position within the current track. A short tap switches to the next or previous title. If more than 5 seconds of playing time have elapsed, the first press on the left menu button causes a jump to the beginning of the track. Pressing the key again jumps to the previous track.
Longer pressing activates fast forward or rewind. This is only possible within a track. At the end or beginning of a track, the CD player automatically switches to PAUSE.
2.5.4 Repeat Mode
To select one of the available repeat functions, press the MENU key and use the SELECT menu keys (4) and (5) to select the REPEAT menu item.Then use the menu keys (4) and (5) to select the desired repeat mode: REPEAT, repeats only the currently selected track. REPEAT ALL repeats the entire CD. The current mode is indicated by a corresponding symbol in the upper left corner.
2.5.5 Shuffle (random playback)
To activate the shuffle mode, press the MENU key and select the Shuffle item using the menu keys (4) and (5) and confirm it with SELECT (8). You can then use the menu keys (4) and (5) to activate (On) or deactivate (Off) the shuffle function. Confirm your selection with APPLY (8). Press the PLAY menu key to start the random playback as soon as you have left the menu again. A symbol in the upper left corner indicates that the random mode is activated.
2.6 Bluetooth
The integrated Bluetooth function allows you to wirelessly transmit high-quality music signals from a Bluetooth player such as a smartphone, tablet or PC to your AVM device. To activate and use the Bluetooth function and use it, you must first pair a compatible Bluetooth player with your AVM device (see the following section 2.6.1). Please also make sure that the Bluetooth antenna is attached to the antenna connector (15).
NOTE: When screwing on the supplied antennas, make sure that they are aligned straight. Only after screing the Atennas in firmly, angle the antennas to the desired position.
2.6.1 Pairing
To activate the Bluetooth input (BT), use the Bluetooth selection button on the front of the device (11), the RC 9/10 remote control or the RC X app. By calling up the Bluetooth menu on the RC 9/10 remote control or in the RC X App, you can connect and locate your CS 2.3 in the Bluetooth menu of your playback device (player). In addition, you can manage the already paired devices in the Bluetooth menu in the app.
To connect to the CS 2.3, navigate to your player’s Bluetooth menu, make sure the Bluetooth function is enabled there, and start searching for available Bluetooth devices in your area. For details on how to use the Bluetooth function of your player, refer to the corresponding user manual.
Once the AVM device appears in the drop-down menu of available Bluetooth devices on your Bluetooth player (identified as AVM-x-xxxx*), select the AVM device as your audio playback device and wait for it to be activated. When the pairing process is complete, the CONNECTED indicator appears in the lower left area of the display and you can transfer music from your Bluetooth player to your AVM device.
NOTE: To avoid interference from the built-in Bluetooth antenna with other parts of your AVM device, the Bluetooth module will be disabled once another source is selected. Should you switch back to Bluetooth input, the AVM device will automatically connect to the last paired device if it is within range.
2.6.2 Pairing additional Bluetooth players
Your AVM device can only be paired with one Bluetooth player at a time. To switch to another Bluetooth player, an existing connection must first be disconnected. This can be done in the RC X app for iOS and Android under the Bluetooth item.
2.7 Choosing the appropriate termination for the phono input
With regard to an optimal playback quality, each pickup should be connected to the appropriate termination impedance or termination capacitance. This is especially important for MC systems
We recommend that you take a look at the operating instructions for your pickup system before adjusting the impedance. There, the optimal termination impedance is usually indicated. Otherwise, a rule of thumb can be: For MC systems 100 Ohm terminating impedance.
The matching is done with the included RCA plugs. These must be plugged into the RCA input LOAD (33) on the rear panel after selecting the correct value.
NOTE: Please make sure that you always plug the identical value into both inputs.
In addition to the basic functions, the CS has a wide range of options for individual adaptation to your personal requirements. These functions are accessible via a menu, which can be operated using the menu keys below the display. During the general operating state, the middle menu key is labeled MENU. Pressing this menu key takes you to the ‘Advanced settings’ menu. The key label of the same menu key now changes to EXIT. Press the key again to exit the ‘Advanced settings’ menu and return to the general operating state. In the ‘Extended settings’ menu, the individual menu items can be selected with keys (4) and (5) and selected with SELECT (8) – the selected item is shown in the display in each case. Use keys (4) and (5) to change the value of the selected menu item. Confirm your selection with APPLY (8).
NOTE: Please note that in the Advanced Settings menu the available parameters depend on the currently selected input.
Please also note that when the Advanced Settings menu is activated, it is not possible to switch a sound source using the source selector switch (12), change the volume using the volume control (11) or switch off the unit. To do this, first exit the Advanced Settings menu using the menu key marked EXIT.
3.1 Global settings
The following settings are available for each input group, no matter if digital, analog, stream, CD, .
3.1.1 Balance
With the Balance function you can shift the right-left balance in the range of 9.5 dB to the left or to the right to compensate for imbalances.
3.1.2 Set Tone Control
The menu item Tone Control activates the tone control of the device, which allows to adjust the bass and treble. This allows the adjustment of bass and treble components in the sound image as well as a loudness setting. In the LINEAR position, the tone control is deactivated and by-passed (settings made are still saved). In position TONE ON, the tone control is ready for operation and is activated, as soon as you make a setting under Bass, Treble or Loudness. Provided that a neutral setting (BASS = 0, TREBLE =
0, Loudness = 0), the tone control remains by-passed in the ACTIVE position until one of these parameters is changed. If no neutral setting is made, the active tone control is shown in the upper part of the display.
Bass and treble can be boosted or cut together for all inputs (GLOBAL) or specifically for the currently selected input (INDIVIDUAL). If an individual setting is desired, the inputs must be parameterized beforehand via the setup (see section 3.8.5). This is useful, for example, to compensate for a bass weakness of the turntable without having the boosting the bass of other input sources. The setting of the loudness function (Loudness) depends on the loudspeaker and room and is therefore globally valid for all inputs.
NOTE: As soon as the tone control under Tone Control is set to LINEAR, the menu items Bass, Treble and Loudness are not displayed.
3.1.3 Bass
The Bass menu item can be used to adjust the low frequency response from -7 to +7 dB. With a global setting for all sound sources, GLOBAL is displayed in the upper right corner of the display. individual setting INDIVIDUAL.
3.1.4 Treble
The Treble menu item can be used to adjust the high frequency reproduction from -7 to +7 dB. With a global setting for all sound sources, GLOBAL is displayed in the upper right corner of the display, INDIVIDUAL for individual settings.
3.1.5 Loudness
Listening to soft music often gives the impression of a flat, unbrilliant sound. This is due to a characteristic of the human ear: Bass and treble are perceived disproportional with quiet sounds. This effect is supposed to be corrected by the “aurally correct volume setting” (loudness) this effect by boosting bass and treble when playing soft music, and then gradually returning to a linear frequency response as the volume is increased. For this compensation to achieve its full effect, careful adjustment is necessary. Therefore, proceed as follows:
Select a sound source and set a moderate listening volume. Then switch to the Loudness menu. Now select menu keys (4) and (5) one of altogether 9 available Loudness values, until the sound image appears balanced and pleasant to you. As soon as you exit the menu again (menu key APPLY), the selected setting remains stored.
NOTE: When the Loudness menu is called up again, the displayed value may differ from the originally selected setting. This is not an error, but is caused by the fact that the sound control selects an adjustedvalue depending on the currently set volume. The current value is then displayed accordingly when you select the Loudness menu.
3.2 Analogue inputs
For the analog inputs, only the settings from the Global Settings are available.
3.3 Digital Inputs (COAX, OPTO, ARC)
After selecting a digital input, a further setting option is displayed in the menu.
3.3.1 Filter
By pressing the menu key (6) you can access the digital filter setting. Here you can choose between available digital filter settings for the selected digital input. You can select the digital filter settings STEEP and SMOOTH according to your sound preferences. Depending on the signal being played back, different digital filter settings can produce optimal sound results. Technically, STEEP means steep filtering at the end of the band end with flat amplitude frequency response, but strong phase rotation. SMOOTH, on the other hand, is less steep and already has a small amplitude drop before the end of the band, but less phase rotation. The selected filter setting applies only to the current input and remains stored – even after the unit is switched off.
3.4 Streaming input, CD player and USB
If you select the CD player or the USB input, you also have separate setting options.
3.4.1 Repeat Mode
In this menu you can set different repeat modes:
REPEAT repeats only the currently selected track. REPEAT ALL repeats the entire CD/folder content.
3.4.2 Shuffle
This item allows you to activate or deactivate shuffle playback.
3.4.3 Metadata usage
In this menu item you can select whether metadata (if available) are shown on the display (3).
You can choose between On (default) and Off.
3.5 Phono input
3.5.1 Phono Pickup
After selecting the phono input (31), you can set which pickup system your cartridge uses (MM or MC) under the item Phono Pickup. For more information, see section 1.5.2.
3.6 Bluetooth Input, Internet Radio, AirPlay, Podcast
After selecting these inputs, further setting options are available.
3.7 Setup
The Setup menu offers you a number of further setting options for adapting the unit to your personal needs. The unit to your personal needs. To enter the setup menu, press and hold the menu button (6) until SETUP appears in the display instead of MENU.
In the “Setup” menu, the individual menu items can be selected with the menu keys (4) and (5). and activate them with the SELECT key (8). With the menu keys (4) and (5) you can then change the value of the selected function. After you have made the desired settings, press the menu key marked APPLY. You can then edit further menu items. By pressing the menu key EXIT you exit the “Setup” menu.
3.7.1 Display
In this menu you will find the various settings for the display (3).
NOTE: The settings described in the following section can be made easily and conveniently via the RC X app for iOS and Android. (See section 3.9)
3.7.1.1Display Brightness
Adjusts the brightness of the display from 25% (Dark) to 50% (Normal) to 100% (Bright).
NOTE: The brightness setting 100% may lead to uneven brightness of individual segments of the display during long periods of operation. Individual segments of the display due to “burn-in” effects. Therefore, do not leave the unit on for an unnecessarily long time with this setting. Switch it to stand-by mode when not in use (e.g. overnight).
3.7.1.2 Proximity Sensor
Sets the sensitivity of the proximity sensor from None (off) to Close, Normal and Far.
3.7.1.3 Display Mode
Sets whether the display to always ON during operation. Setting options: Always On, Always Off, On Use (ON during use).
3.7.1.4 Permanent Volume Display
In this menu you can set whether you want the current volume to be displayed always or only temporarily.
3.7.1.5 Scroll Text
Sets whether, for example, in the case of long title names, the text “scrolls” to display the entire text or whether your unit should not display this.
3.7.1.6 Play Time
In this menu you can adjust whether the display shows only the time, only a time bar or both at the same time when playing titles (e.g. via the CD player). By default, the time and the time bar are displayed.
3.7.1.7 Remaining Time Display
Here you can adjust whether the total time or the remaining time of the current title is displayed for a played title.
3.7.2 Volume Control
In this menu you can make personal adjustments to the volume.
NOTE: The settings described in the following section can be made easily and conveniently via the RC X app for iOS and Android. (See section 3.9)
3.7.2.1 Power On Volume
Sets the volume level of the unit after start-up.
You can choose between LAST LEVEL (default), 50%, 60% and 70%.
3.7.2.2 Volume Limit On Activate
Sets the volume level to which the unit will be limited when switching inputs, if exceeded.
3.7.2.3 Volume Limit
This menu item allows you to limit the maximum output volume up to 50%. This function can be useful to avoid rapid volume jumps that are triggered, for example, by accidentally operating the volume control in the RC X app for iOS and Android incorrectly. The default setting is 70% and is intended as a protective mechanism to prevent other components in your system (e.g. speakers) and, last but not least, your ears from drastic volume jumps that could be triggered, for example, by accidentally operating the volume control of the RC X app for iOS and Android.
3.7.2.4 Source Gain
In a surround system, the leveling of all channels as well as the bass management is done at a corresponding surround decoder (e.g. by an AV receiver). This signal should not be changed, otherwise the balance of the channels among each other is no longer given.
The CS 2.3 offers a so-called source-fix function for this case. This allows you to operate the analogue inputs RCA 1 and RCA 2 with a fixed gain. If the source-fix-function is activated, the signal is played back with a fixed gain when this input is selected. In addition, all sound settings (e.g. BASS, TREBLE, see 3.1) are deactivated – regardless of whether you change the volume of the other inputs or their sound setting or balance setting.
The source-fix function is also available for the digital inputs COAX (26) and OPTO (27). In contrast to the analogue inputs, however, the sound settings (e.g. BASS, TREBLE) and the balance setting are active here. This function is useful, for example, if a sound source with its own volume control is connected to a corresponding digital input. (e.g. Sonos).
3.7.2.5 Input Gain
Often the connected sources in a HiFi system have different volume levels by nature. When switching sources, a jump in volume occurs. This can be minimized by individually adjusting the input sensitivity of the inputs to achieve similar volume levels on all sources.
Select a local digital or analogue input (26, 27, 31 32) with the source selector switch (12) and set the listening volume to a comfortable level with the volume control (14). Check whether the levels are approximately identical by switching to other inputs. If you notice a deviation, you can adjust it using this function. Select the desired level with the menu buttons (4) and (5) to select the INPUT Gain menu and the corresponding source. Using the menu buttons to adjust the level of the selected sound source within a range of -9.5 and +9.5 dB. Press the APPLY menu button to exit the menu. The set input level is now saved and the unit switches to the general operating mode.
By switching back and forth between the individual sources with the source selector (12) you can compare the set levels and adjust the sensitivity of all analogue and digital inputs – including CD and USB – accordingly.
NOTE: Please note that all remote controls are inoperative during level adjustment. While you are making menu settings on the main unit, the optional RC 9/10 remote control cannot be used to avoid operating conflicts.
3.7.3 Inputs
Personal settings regarding the inputs can be made here.
3.7.3.1 Skip Unused Inputs
If you do not need all analogue and digital inputs, the unused inputs can be deactivated (SKIPPED). When selecting sources with the rotary switch (2), all inputs defined as SKIPPED are automatically skipped and are also not selectable via the UP/DOWN function of the remote control. The settings can be undone at any time by calling up the menu item again (Input ACTIVE).
Skipping unused inputs makes it easier for you to operate them via the source selection key (12) and the UP/DOWN function of the remote control. Skipped inputs can still be selected via the RC 9/10 remote control or the RC X app.
NOTE: The settings described in the following section can be made easily and conveniently via the RC X App for iOS and Android. (See section 3.9)
3.7.3.2 Input Names
Via the menu item Input Names, you can change the names of sound sources on the display (3) as desired. A name consists of a maximum of 8 characters. The name can be changed conveniently via AVM’s RC-X APP or via the separately available RC9/10 remote control.
NOTE: To rename the input in the APP, go to Inputs in the overview after selecting your CS 2.3 and press the 3-dot symbol on the right side of the input to be renamed. You can then rename the input via the keyboard after pressing “Rename input”.
3.7.3.3 AUTO-ON (signal sensitive inputs)
In this menu you can set which inputs of the unit are to be activated when a signal is received.
3.7.4 Outputs
In this menu item you can make various settings for the outputs.
NOTE: The settings described in the following section can be made easily and conveniently via the RC X app for iOS and Android. (See section 3.9)
3.7.4.1 Internal Poweramp
With this function, the speaker outputs (19, 21) can be activated or deactivated. The selected setting is saved permanently and can be changed by calling up the menu again.
3.7.4.2 Headphone Muting
In this menu you can set which outputs including the power amplifier are muted or switched off when using headphones at the front.
3.7.4.3 Digital Output Volume
In this setting item you can determine whether the signal for the digital outputs (optical and COAX) is fixed or whether the volume is controlled.
3.7.4.4 Trigger External Amplifier
When using an additional AVM power amplifier, you can control them via the connected audio cable.
This makes it easier for you to operate your system.
3.7.5 Tone Control (INDIVIDUAL)
With the menu item Tone Control you can determine whether the bass and treble components are to be adjusted via the tone control electronics (see section 3.1: Bass, Treble, Loudness) for a single sound source (INDIVIDUAL) or for all sound sources together (GLOBAL). You can make this setting for all inputs individually.
3.7.6 Standby Mode
So that your AVM device can be switched on at any time via the RC X app for iOS and Android, the integrated AVM X-STREAM Engine® also remains in standby in the so-called Network Standby mode and constantly ready for operation. Please note that selecting this mode increases the stand-by power consumption. If you want to save this energy, select Standby mode in this menu. To switch on again from standby mode, simply approach the unit. The built-in proximity sensor activates the device automatically.
Please note: In standby mode, your AVM device cannot be detected by the RC X App for iOS and Android and ‘woken up’ from standby.
3.7.7 Auto Standby (Auto Power Down)
For energy saving reasons, the unit is equipped with a circuit that automatically switches the unit to standby mode. Automatically into standby mode if there is no music signal at the currently active input for more than 20 minutes. This function is activated at the factory (ACTIVE) and can be permanently deactivated via the menu item to deactivate it permanently (NOT ACTIVE).
3.7.8 IR Control
In addition to the possibility of controlling the CS 2.3 via the optional RC 9/10 remote control or the free RC X app, basic functions of the unit can also be operated via the classic RC 3 or RC 8 remote controls from AVM, which are available as optional accessories. To receive the infrared signal of these remote controls, the function IR Control function must be activated (ON).
NOTE: This setting can also be made via the RC X App from AVM (See section 3.9.8.6).
3.7.9 INFO
Here you can display information about the device such as the device name or designation, the serial number and the firmware version.
3.7.10 NETWORK
Here you can find information about the network connections. (Among others: WLAN/ LAN; IP address; MAC address; SSID)
3.7.11 WPS
WPS enables you to easily set up a wireless network connection (WLAN / WiFi). You can start the WPS function under this item.
3.8 Settings via the RC X App
Most of the settings you make via the unit menu can also be easily changed alternatively with the new RC X App. For step-by-step instructions on connecting to the network, see section 1.13.
3.8.1 Device name
Here you can customise the name of the device in the network.
3.8.2 Language
The App language settings can be adjusted here.
3.8.3 Audio
In this menu, the Tone Control settings can be adjusted directly in the App. You can switch the Tone Control function ON (Tone On) or OFF (LINEAR) and adjust the bass, treble, loudness and balance settings as described in section 3.1. Furthermore, depending on the selected input, other settings can be displayed and changed here. For example, if the phono input is selected, the phono pickup can also be adjusted or the filter can be adjusted for the digital inputs.
3.8.4 Network Assistant
Here you will find the wizard for connecting the CS 2.3 to the network. For step-by-step instructions, see section 1.13.
3.8.5 Network Info
In this tab you can view the current network status of your unit.
3.8.6 Time Zone
Here you can set the time zone you are in.
3.8.7 Streaming Services
Here you will find various settings for your streaming services. For example, you can data rates can be set.
3.8.8 Device Settings
In this menu, you can make most settings from the Personal Setup directly in the free RC-X App.
3.8.8.1 Display
As described in section 3.8.1, you can make various settings for the display here. These include the brightness, the proximity sensor and the display mode.
3.8.8.2 Volume Control
You can also make the extensive settings from the Volume Control chapter (see section 3.8.2) in the App. To do this, simply click on the corresponding menu items to display the available settings.
3.8.8.3 Inputs
Here, as in Personal Setup, you can skip unused inputs. For this purpose you can simply decide which inputs are displayed or skipped by selecting or deselecting the required inputs. (See also section 3.8.3.1).
3.8.8.4 Outputs
In this menu item, the various settings for the outputs are available as in Personal Setup (see section 3.8.4).
3.8.8.5 Tone Control
In this menu item, you can also set in the APP whether bass and treble components are to be adjusted via the tone controls (see section 3.1: Bass, Treble, Loudness) for a single sound source (INDIVIDUAL) or for all sound sources together (GLOBAL). You can configure each input individually.
3.8.8.6 IR-control
To receive the infrared signal of the additionally available IR remote controls (RC3/ RC8), the IR Control function must be activated (ON). As described in section 3.8.8, you can conveniently set this setting directly in the APP.
3.8.9 RC 9/10 Remote Control
Here you can set various functions for the optionally available RC 9/10 remote control. Among other things, you can start the pairing process (see section 1.11), delete connected remote controls or update the current version.
3.8.10 Power Saving Mode
In this subitem you can also set in which sleep mode you want to operate the unit (sleep mode with network access or without) and from which time the unit automatically switches to sleep mode. For more information, see also sections 3.8.6 and 3.8.7.
3.8.11 Version
Here you can view various information about the installed version (hardware, software).
3.8.12 Update Firmware
This menu allows you to update the firmware, if available. First, a check is made whether there is an update online or on a USB stick.
3.8.13 Reset Device
Here you can trigger a factory reset through the APP. For more information on the factory reset, see section 3.10.
3.9 Factory Reset (Factory Settings)
The reset option allows you to return the unit to its original factory settings. To do this, first switch the unit to standby using the on/off button (6) and then switch it off completely using the mains switch (17). Now press and hold the RESET button (19) while switching the unit back on with the mains switch (17). Continue to hold down the RESET button (19) until the status LED starts to flash briefly after a few seconds. As soon as the status LED goes out and stops flashing, you can release the RESET button
(19). The unit now performs the reset to its factory settings and then restarts in the general operating state.
Supplement
4.1 Taking care of the housing
The surface and frontpanel printing of the housing are largely scratch-resistant. The CS can be cleaned with mild soapy water or a glass cleaner and a soft dust cloth.
ATTENTION: When cleaning, liquid must never be allowed to enter the inside of the enclosure. In addition, for safety reasons, the mains cable should be disconnected before wiping with a damp cloth. Do not use solvents or abrasive cleaners that could damage the surface or printing of the enclosure.
4.2 Failure search (or: If something does not work as expected….)
Often alleged defects can be traced back to operating errors, sometimes other components connected to the unit are also responsible for a malfunction. Before contacting your dealer or us about a malfunction, please check the following list to see if you can correct the malfunction yourself..
1- No music playback
a) The MUTE function is active. Deactivate it.
b) Accidental switching to stand-by mode via the remote control. Press the switch-on button.
c) If the display is dark and the stand-by LED (1) is not lit, the mains fuse may be defective. Since this is usually caused by a defect in the power supply unit or the amplifier electronics (e.g. as a result of a lightning strike), please contact your specialist dealer.
2- Remote control is not working:
a) The battery of the remote control is empty. Please recharge the remote control / replace the battery.
b) There is no direct connection between the remote control and the unit, or the distance is too large.
c) A CD is inserted, „no disc“ in the display.
Either a dirty or defective CD has been inserted or the CD has been inserted the wrong way (label side down instead of up). Eject the inserted CD and insert it correctly. Clean the dirty CD and insert it again.
3- Lipsync is not synchronous for the digital inputs.
If, despite supported low-latency technology, the lip synchronization is not correct, your TV often offers its own setting option to compensate for this. Your CS 2.3 does not currently have its own setting for this.
4- HDMI ARC without function
If the HDMI ARC function does not work right away, please note the following points:
– Was the HDMI INPUT with ARC label used to connect the CS 2.3 to the TV?
– Is the HDMI cable ARC-capable?
– Has HDMI ARC been selected as the output source? (Sometimes a “connection” must be set up manually here).
– Have all settings been made on the TV, which may prioritize in the sound settings (That e.g. OptoOUT is prioritized)?
– Has PCM been selected as the sound format?
If it still does not work, the display information on the CS2.3 can help to find an error:
– No Signal -ARC Error: There is no signal from the TV: please check input and settings again.
– No PCM: Please change the audio format on the TV to PCM.
NOTE: Please note that device control can also occur if you have selected a “normal” HDMI input on the TV to connect the CS 2.3 and not the HDMI ARC INPUT.
4.3 Warranty conditions
If, contrary to expectations, a fault should occur which you or your specialist dealer cannot rectify, we will repair your unit free of charge for up to two years after the date of purchase. The warranty covers material and labour; any transport costs incurred are to be borne by the owner from six months after the date of purchase.
Regardless of the country in which the device was purchased, German law is generally applicable for warranty claims and warranty processing. Should one of the following provisions be legally invalid, it shall be replaced by a legally compliant provision.
The prerequisites for your warranty claim are:
- The device must have been purchased from a specialist dealer authorised by AVM. Devices that come from other sources will not be repaired, not even at a charge.
- The warranty registration is done via our website: www.avm.audio.
- The fault must not have been caused by improper handling or tampering with the unit.
- In case of reparation needed, the unit must be returned to us in its original packaging. If this is not the case, we are entitled to refuse acceptance. In any case, we do not assume any responsibility for transport damage.If you no longer have the original packaging at hand, please contact your specialist dealer. If you wish, we can also provide you with packaging directly. However, we have to charge a fee of 50€ for this service (+ shipping & handling).
- A short description of the fault must be enclosed with the returned unit. Please print out our SERVICE FORM for this purpose. You can find it at www.avm.audio
nder SERVICE. - In cases of doubt, we reserve the right to request a copy of the purchase invoice. In the event of unauthorized return or if there is no damage to the unit, we reserve the right to charge a handling fee. Charge.
NOTE: If you are not shipping your unit from Germany, please ensure that you have the correct proper export documents. Unfortunately, we cannot assume any costs arising from improper export, failure to declare or customs clearance.
Technical data
5.1.1 Power amplifier
Amplification factor ………………………………………………………………………….. 30
Distortion factor ……………………………………………….. < 0,005%
Signal-to-noise ratio …………………………………………………………….. > 95dB
Input sensitivity …………………………………………………………………………… 275 mV
Frequency response (at -3dB) ……………………………………….. < 5Hz bis > 80kHz
Output power (1% THD, 4 Ohm, 2 channel) …………………………………………….. 2 x 140W
5.1.2 Preamplifier
Input resistance …………………………………………………… 3,4 kΩ
Output resistance …………………………………………… 470 Ω
Gain factor ………………………………………………………………… 1
Distortion factor …………………………………………………….. < 0,001%
Signal-to-noise ratio ……………………………………………………………….. > 100dB
Frequency response (at -3dB) ……………………………………………. < 5Hz bis > 80kHz
Crosstalk attenuation (channels) …………………………………………………….. > 95dB
Crosstalk attenuation (inputs) …………………………………………………………. > 85dB
Input control (1% THD) ……………………………………………………………. 3,5 V
Output control (1% THD) ………………………………………………………………………. 3 V
5.1.3 Preamplifier (Line-Out)
Output resistance ………………………………………………………………….. 47 Ω
Gain factor …………………………………………………………………………. 1
Distortion factor ……………………………………………………………… < 0,001%
Signal-to-noise ratio …………………………………………………… > 100dB
Output level (1% THD) ……………………………………………………….. 3,5 V
5.1.4 Preamplifier (Headphone-Out)
Output impedance ……………………………………………………….. 80 Ω
Gain factor ……………………………………………………………….. 4
Distortion factor …………………………………….. < 0,001%
Signal-to-noise ratio ………………………………………… > 100dB
Output level (1% THD) ……………………………………………… 4,5 V
5.1.5 Preamplifier (Phono)
Equalisation RIAA ……………………………………….. < 0,2dB
Gain MM ………………………………………………………………… 40dB
Signal-to-noise ratio MM ………………………………………. > 83dB(A)
Gain MC………. …………………………………………………… 60dB
Signal-to-noise ratio MC ……………………………………………. >74dB(A)
Input control MM (1% THD) …………………………………………… 30 mV
Input control MC (1% THD) ……………………………………………………… 3 mV
5.1.6 CD-Player
Playable formats …………………… CD Audio, CDR (according to Red Book standard)
Frequency response CD …………………………………………………. < 20 – 20 kHz
5.1.7 Network
LAN connection (hot plugging capable) …………………………………………….. 100Mbit/s
Supported WLAN/ Wifi standards ……………………………………………………. 2,4 802.11 b/g/n
Number of antennas ……………………………………………………………. 2 WPS yes
5.1.8 Streaming
Max. Sampling rates ……………………………………………………. DSD128, 384kHz PCM
Streaming Services ………………………………………… Airplay, Qobuz, Roon Ready, Spotify, TIDAL, HighResAudio
Supported file formats ……………………………………………….. WAV, MP3, WM, AAC, FLAC, ALAC, DSD, Ogg, AIFF
5.1.9 Bluetooth
Bluetooth-Standard ……………………………………………………………………………… v4.2
Supported Bluetooth profiles ………………………………….. AVRCP 1.5 AD2P
5.1.10 USB-standard (Back)
USB-Standard …………………………………………………………… USB 2.0
Max. Current …………………………………………………………………… 500 mA
Supported formats ………………………………….. FAT16, FAT 32, NTFS
ATTENTION: The USB input is exclusively for hard disks and USB sticks
5.1.11 Digital Inputs (S/P-DIF/ Coaxial)
Max. Sampling/ bit rate (OPTO) ………………………………………………… 96 kHz / 24 Bit
Deemphasis (OPTO) ……………………………………………………… Yes, automatic
Max. Sampling/ bit rate (COAX) ……………………………………………….. 192 kHz / 24 Bit
Min. signal level [Vpp] at 195kHz (COAX) ……………………………………….. > 150 mVpp
Input impedance (COAX) ……………………………………………………… 75 Ω
Deemphasis (OPTO) …………………………………………….. Yes, automatic
Max. Sampling/ bit rate (ARC) …………………….. 192 kHz / 24 Bit
Input impedance ……………………………………………..100 Ω
5.1.12 Digital outputs (S/P-DIF / coaxial)
Max. Sampling / Bit rate (OPTO) ……………………………………………………………… 96 kHz / 24 Bit
Max. Sampling / Bit rate (COAX) ………………………………………………………….. 192 kHz / 24 Bit
Output impedance (COAX) ……………………………………………………………………………………. 75 Ω
5.1.13 Power consumption
Stand-By < 1 Watt
Extended stand-by (network connection) ………………………………………………… < 2 Watt
Idle power …………………………………………………………………………. < 16 Watt
Fuse used ………………………………………………………………………………………………. T 3, 15A H
5.1.14 General
Weight 7,1 kg
Dimensions (WxHxD mm) …………………………………… 340 x 92 x325
Warranty 2 years
NOTE: Energy consumption in standby mode (APD Auto Power Down)
To ensure that your AVM device can be switched on at any time via the RC X app for iOS and Android, the integrated AVM X-STREAM Engine® remains in constant standby mode. Please note that this does not result in a power consumption of less than 0.5 VA as usual, but increases it to about approx. 5.5 VA. If you want to save this energy, switch the unit off completely with the rear power switch (34) after switching to stand-by mode.
Further partner info:
The Spotify Software is subject to third party licenses found here:
https://www.spotify.com/connect/third-party-licenses
More important infos:![]()
This product supports AirPlay and requires iOS 11.4 or later.
Apple and AirPlay are registered trademarks of Apple Inc. in the U.S. and other countries.
Use of the “Works with Apple” logo means that an accessory has been designed specifically for the technology specified in the logo and has been certified by the developer to meet Apple performance
![]()
Use your smartphone, tablet, or computer as a remote control for Spotify. Visit spotify.com/connect to learn more.
The Spotify Software is subject to third party licenses found here:
https://www.spotify.com/connect/third-party-licenses
roon READY
Our current streaming devices are ROON READY.
For more informations: www.roonlabs.com
Relase date: February 22, 2022.

















